ОАО "Ульяновский автомобильный завод"
Руководство по эксплуатации РЭ 05808600.112-2009
2009
Руководство по эксплуатации содержит необходимые правила эксплуатации и обслуживания автомобиля.
Пред началом эксплуатации автомобиля просим Вас внимательно ознакомиться с настоящим руководством и сервисной книжкой.
Особенно внимательно просим Вас ознакомиться с главами "требование безопасности и предупреждения" , "обкатка нового автомобиля", "пуск и остановка двигателя".
Ваши неправильные действия могут привести к травмам, выходу из строя автомобиля и его узлов, прекращению гарантийных обязательств завода-изготовителя.
Для безопасной и безотказной работы автомобиля выполняйте все указания по эксплуатации и техническому обслуживанию, изложенные в настоящем руководстве.
Техническое обслуживание автомобиля Вы можете поручить одной из станций обслуживания, рекомендованных фирмой, продавшей Вам автомобиль. Станции обслуживания обеспечены необходимыми запасными частями, набором специальных приспособлений и инструмента. Все работы по обслуживанию автомобилей выполняются опытными специалистами.
В связи с постоянной работой по совершенствованию автомобиля в конструкцию могут быть внесены изменения, не отраженные в настоящем издании.
Желаем Вам успешной поездки!
© ОАО "Ульяновский автомобильный завод", 2009
Автомобиль UAZ Patriot (УАЗ-3163)- легковой, двухосный, повышен-ной проходимости, типа 4х4, с цельнометаллическим пятидверным кузовом.
Автомобиль UAZ Pickup (УАЗ-23632) - грузовой (пикап), двухосный, повышенной проходимости, типа 4х4, с четырехдверной кабиной и грузовым отсеком.
Автомобиль UAZ Cargo (УАЗ-23602, УАЗ-23602-01, УАЗ23602-02) - грузовой, двухосный, повышенной проходимости, типа 4х4, с двухдверной кабиной и грузовой платформой, изотермическим или общего назначения фургоном.
Автомобили предназначены для перевозки пассажиров и грузов по всем видам дорог и местности.
Автомобили, изготавливаемые в исполнении ' 'У", рассчитаны на эксплуатацию при рабочих температурах окружающего воздуха от минус 45 до плюс 40 °C, среднегодовой относительной влажности воздуха до 75 % при плюс 15 °C, запыленности воздуха до 1,0 г/м3 и скорости ветра до 20 м/с, в том числе в районах, расположенных на высоте до 4000 м над уровнем моря, при соответствующем снижении тягово-динамических характеристик и топливной экономичности.
Автомобили, изготавливаемые в исполнении ' 'Т", рассчитаны на эксплуатацию при рабочих температурах окружающего воздуха от минус 10 до плюс 50 °C, среднегодовой относительной влажности воздуха до 80 % при плюс 27 °C в условиях, приведенных выше для автомобилей исполнения "У".
Знак "+" рядом с наименованием детали (узла) означает, что данная деталь (узел) устанавливается на автомобили в зависимости от комплектации.
МАРКИРОВКА АВТОМОБИЛЯ
Заводская табличка автомобиля (рис. 1.1) установлена на центральной стойке боковины кузова с правой стороны автомобиля.
Идентификационный номер транспортного средства выбивается на заводской табличке (рис. 1.1) и на кузове автомобиля, на нижней панели ветрового окна (рис. 1.2).
Идентификационный номер (рис. 1.2) состоит из трех частей:
I часть - международный идентификационный код изготовителя, обозначает:
X -географическую зону, в которой расположен завод-изготовитель;
Т -код страны;
Т -код завода-изготовителя.
II описательная часть - индекс транспортного средства.
III указательная часть - год изготовления автомобиля и его порядковый номер.
Идентификационный номер кузова выбит на верхнем соединителе рамки облицовки радиатора (рис. 1.2).
Идентификационный номер шасси выбивается на правом лонжероне рамы, в задней части (рис. 1.3).
Идентификационный номер двигателя ЗМЗ-409 выбит на площадке, расположенной с левой стороны блока цилиндров, над бобышками крепления передней опоры двигателя (рис. 1.4).
Рис. 1.1. Заводская табличка автомобиля:
1 -номер одобрения типа транспортного средства (ТС); 2 -идентификационный номер ТС; 3 -максимально допустимая масса ТС;
4 -максимально допустимая масса ТС с прицепом; 5 -маскимально допустимая нагрузка на переднюю ось; 6 -маскимально допустимая нагрузка на заднюю ось; 7 -модель двигателя; 8 -шифр комплектации;
9 -шифр вариантного исполнения; 10 -обозначение варианта исполнения с нейтрализатором (Н)
Рис. 1.2. Расположение идентификационного номера транспортного средства и номера кузова:
а -расположение идентификационного номера транспортного средства; б -расположение идентификационного номера кузова
Рис. 1.3. Расположение идентификационного номера шасси
Идентификационный номер двигателя F1A (Iveco) выбит на площадке, расположенной с левой стороны блока цилиндров (рис. 1.5).
Рис. 1.4. Расположение идентификационного номера двигателя ЗМЗ-409:
I -описательная часть (VDS) состоит из шести знаков. Первые пять знаков (цифры) обозначают модель двигателя. Шестой знак (ноль или буква) - вариант комплектации двигателя: ноль - базовая, буква - вариант комплектации; II -указательная часть (VIS) состоит из восьми знаков. Первый знак (буква или цифра) обозначает год изготовления двигателя, второй знак (цифра) - код подразделения предприятия-изготовителя, изготовившего двигатель, остальные знаки (цифры) -порядковый номер двигателя
Рис. 1.5. Расположение идентификационного номера двигателя F1A (Iveco)
ТЕХНИЧЕСКАЯ ХАРАКТЕРИСТИКА
7
|
Наименование |
UAZ Patriot |
UAZ Cargo |
UAZ Р1скир | |
|
УАЗ-3163 |
УАЗ-31631 |
УАЗ-23602 (01/02) |
УАЗ-23632 | |
|
1 |
2 |
3 |
4 |
5 |
|
Общие данные | ||||
|
Размеры автомобиля |
Показаны на рис. 1 |
.5-1.7 | ||
|
Максимальная грузоподъемность (включая | ||||
|
водителя и пассажиров), кг |
600 |
800 | ||
|
Число мест для сидения (включая место | ||||
|
водителя) |
5* |
2 |
5 | |
|
Допустимая полная масса автомобиля, кг |
2650 |
2770 |
2775 |
2890 |
|
Распределение полной массы по осям, кг: | ||||
|
на переднюю ось |
1217 |
1330 |
1090 |
1245 |
|
на заднюю ось |
1433 |
1440 |
1685 |
1645 |
|
Масса снаряженного автомобиля, кг |
2050 |
2245 |
2050 |
2165 |
|
(2261/2316) | ||||
|
Распределение снаряженной массы по осям, кг: | ||||
|
на переднюю ось |
1110 |
1265 |
1120 |
1165 |
|
на заднюю ось |
940 |
980 |
930 |
1000 |
* Предусмострена возможность установки двух дополнительных продольных двухместных сидений
8
Рис.1.5. Основные размеры автомобиля UAZ Patriot (размеры даны для справок)
9
Рис. 1.6. Основные размеры автомобиля UAZ Cargo (размеры даны для справок)
До центра буксирной ^250 проушины
Рис. 1.7. Основные размеры автомобиля UAZ Cargo с изотермическим или общего назначения фургоном (размеры даны для справок)
До центра буксирной проушины
10
5429
11
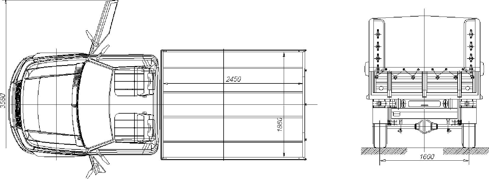
Рис.1.8. Основные размеры автомобиля UAZ Pickup (размеры даны для справок)
12
|
1 |
2 |
3 |
4 |
5 |
|
Максимальная скорость, км/ч |
150 |
135 |
125 (без |
140 |
|
Расход топлива при движении с постоянной скоростью 90 км/ч, л/100км |
10,4 |
9,5 |
тента) 13,5 |
11,5 |
|
Расход топлива при движении с постоянной скоростью 120 км/ч, л/100км |
14,5 |
12,5 |
- |
15,6 |
|
Примечание. Расход топлива служит для определения технического состояния автомобиля и не | ||||
|
является эксплуатационной нормой. Достоверность замеров расхода топлива обеспечивается только | ||||
|
при проведении специальных испытаний в строгом соответствии с требованиями ГОСТ 20306-90 | ||||
|
при достижении автомобилем общего пробега 90 Полная масса буксируемого прицепа, кг, не более: оборудованного тормозами без тормозов Наименьший радиус поворота по оси следа переднего внешнего (относительно центра поворота) колеса, м, не более |
00-10000 км. 15 75 6,55 |
00* 0* 7,1 | ||
* При наличии тягово-сцепного устройства шарового типа
13
|
1 |
2 |
3 |
4 |
5 |
|
Наименьший радиус поворота внешний по точке переднего бампера, наиболее удаленной от центра поворота, м, не более Максимальный подъем, преодолеваемый автомобилем полной массой, град (%) Наибольшая глубина преодолеваемого брода, м |
6,8 31 0 |
7,3 (60) ,5 | ||
|
Наименование |
УАЗ-3163, УАЗ-23602, УАЗ-23632 |
УАЗ-31631 | ||
|
1 |
2 |
3 | ||
|
Двигатель Модель Тип Число цилиндров Расположение цилиндров Порядок работы цилиндров Диаметр цилиндра, мм |
ЗМЗ-409 4-тактный, с впрыском топлива Чет Рядное, вер 1-395,5 |
F1A (Iveco) дизельный с турбонаддувом ыре ) тикальное 4-2 88 | ||
14
|
1 |
2 |
3 |
|
Ход поршня, мм |
94 |
94 |
|
Рабочий объем, см3 |
2693 |
2287 |
|
Степень сжатия Минимальная частота вращения коленчатого |
9,1* (9**) |
19 |
|
вала на режиме холостого хода, мин-1 Максимальный крутящий момент при 2500 мин-1, Н^м (кгс-м): |
800-900 |
775-825 |
|
нетто по ГОСТ 14846 Номинальная мощность, кВт (л.с.): |
217,6 (22,2) |
270 (27,5) |
|
нетто по ГОСТ 14846 |
94,1 (128) при 4400 мин-1 |
85 (116) при 3900 мин-1 |
|
Система смазки |
Комбинированная: под давлением и разбрызгиванием с жидкостно-масляным теплообменником | |
|
Вентиляция картера |
Закрытая | |
|
Система питания |
С микропроцессорным управлением топливоподачей | |
* Для экологического классса 3
** Для экологического класса 2
15
|
1 |
2 |
3 |
|
Топливо Система охлаждения Трансмиссия Сцепление: тип сцепления тип привода Коробка передач: тип коробки тип управления |
неэтилированный бензин "Регуляр Евро-92" по ГОСТ Р 51866 допускается: Премиум Евро-95"* по ГОСТ Р 51866, "Регуляр-92**" по ГОСТ Р 51105 Жидкостная, закрыт цирку. Сухое,одн Гидравл Механическа Механи |
дизельное топливо ЕВРО III-IV по ГОСТ Р 52368 (ЕН 590:2004) и ТУ 0251-012000444 34-2002, сорт или класс в зависимости от климатических условий ая с принудительной яцией одисковое ический я, пятиступенчатая ческий |
* Для экологического классса 3
** Для экологического класса 2
16
|
1 |
2 |
3 |
|
Раздаточная коробка: тип коробки тип управления отбор мощности Карданная передача Передний и задний ведущие мосты: тип мостов шарниры поворотных кулаков переднего моста Ходовая часть Подвеска: тип подвески |
Двухступенчатая Механический Возможен для привода (при движении и на стоянке автомобиля) специальных агрегатов, установленных в кузове, с установкой коробки отбора мощности потребителем. Допустимый отбор мощности - 40%. Установка коробки отбора мощности должна быть согласована с ОАО "УАЗ" Открытого типа. Задняя карданная передача с промежуточной опорой Одноступенчатый Шариковые равных угловых скоростей Зависимая, передняя - пружинная со стабилизатором поперечной устойчивости, задняя - на двух | |
17
|
1 |
2 |
3 |
|
амортизаторы Колеса и шины: колеса Системы управления Рулевое управлени тип рулевого механизма Тормоза тип рабочих тормозов |
продольных полуэллиптических малолистовых рессорах Четыре, гидропевматические, телескопические двухстороннего действия Дисковые с неразъемным ободом, стальные 6 1/2 Jх16H2 с радиальной, камерной или бескамерной шиной размером 225/75R16 или из легкого сплава 7Jх16CH или 7Jx16H2 c радиальной бескамерной шиной размером 235/70R16 или 245/70R16 с колпаками. Крепление колеса -пятью гайками, а колпаков - тремя винтами С регулируемой рулевой колонкой "Винт-шариковая гайка-сектор" с гидроусилителем С антиблокировочной системой (АБС)+ С дисковыми тормозными механизмами на передних колесах и с барабанными тормозными механизмами на задних колесах | |
18
|
1 |
2 |
3 |
|
тип привода рабочих тормозов |
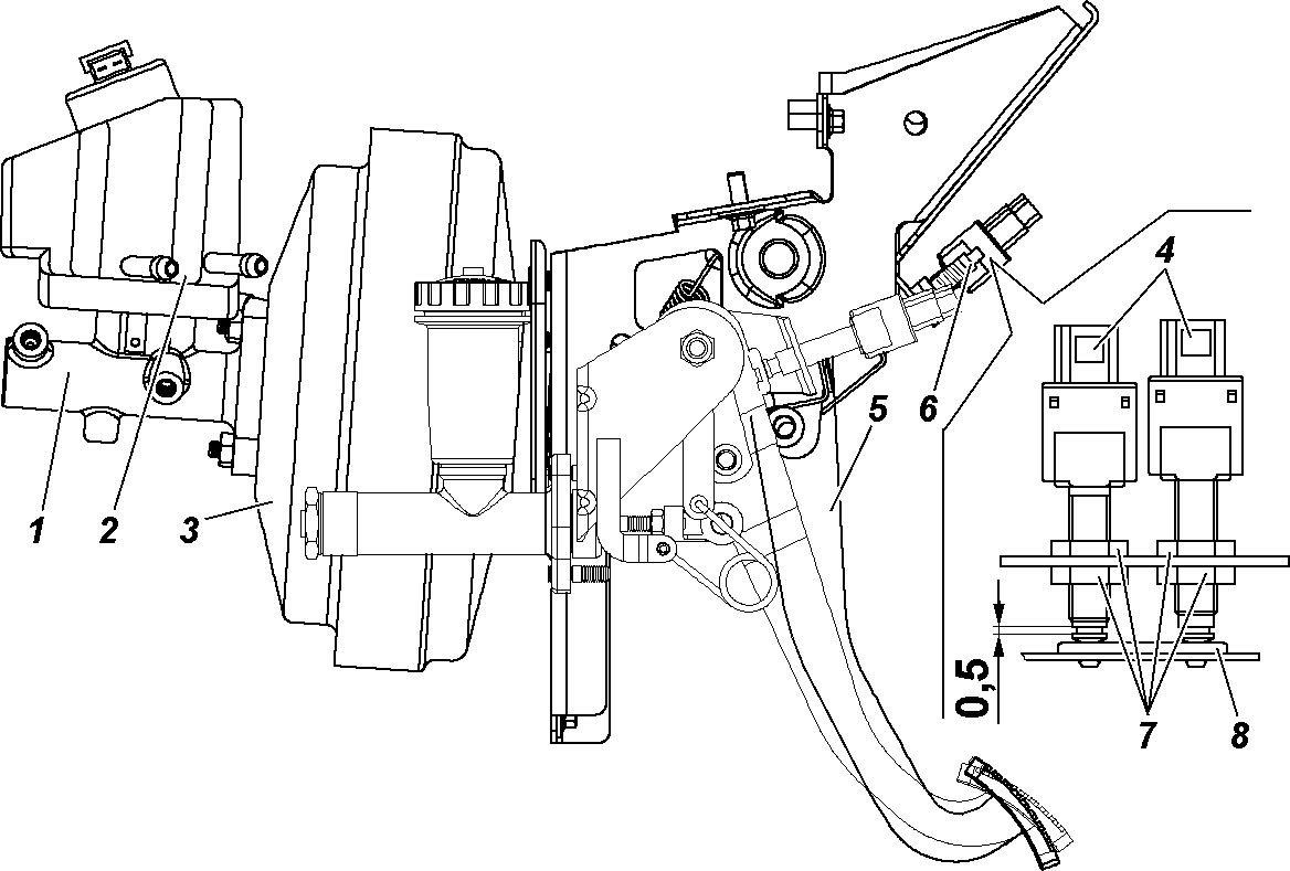
Гидравлический с вакуумным усилителем и регулятором+ давления, раздельный на передние колеса и заднюю ось | |
|
тип стояночного тормоза |
Барабанный с внутренними колодками, действующий на трансмиссию | |
|
тип привода стояночного тормоза |
Механический | |
|
Электрооборудование | ||
|
Система проводки |
Однопроводная, отрицательный полюс соединен с "массой" автомобиля | |
|
Напряжение в сети (номинальное), В |
12 | |
|
Генератор |
ISKRA 14В - 80А; для автомобилей с кондиционером -ISKRA 14В - 120А |
0 124 325 053, Bosch, 110 A |
|
Аккумуляторная батарея |
6СТ-66А3 |
6СТ90АЗ |
|
Свечи зажигания |
А14ДВР или LR17YC (Brisk) |
- |
|
Стартер |
BOSCH 12В - 2,3кВт или ISKRA 12В - 1,9кВт |
0 001 109 307, Bosch, 2,5 кВт |
19
|
1 |
2 3 |
|
Блок управления двигателем Выключатель зажигания |
МИКАС-11 ЕЭС16С39 (Bosch) или BOSCH МЕ17.9.7 С противоугонным устройством и блокировкой повторного включения стартера |
|
Звуковые сигналы Стеклоочиститель ветрового стекла |
Электрические, тональные, рупорные Электрический, с двумя щетками, трехрежимный, с регулировкой паузы в режиме прерывистой работы |
|
Стеклоочиститель стекла двери задка Смыватель Электростеклоподъемники+ Система электроблокировки |
Электрический, с одной щеткой Электрический, для ветрового и заднего+ стекол Дистанционные Предназначена для одновременной блокировки замков всех дверей автомобиля |
|
Люк крыши+ Система безопасной парковки+ |
С электроприводом ЗАО "ЗЭиМ-Лайн" (ТУ 4573-006-75698024-2008) Предназначена для предупреждения водителя о наличии препятствий, расположенных вне поля зрения водителя, при движении автомобиля задним ходом со скоростью не более 5 км/ч |
20
|
Наименование |
УАЗ-3163 |
УАЗ-31631 |
УАЗ-23602 |
УАЗ-23632 |
|
1 |
2 |
3 |
4 |
5 |
|
Регулировочные данные | ||||
|
Прогиб ремня вентилятора и насоса гидроусилителя при усилии 4 кгс, мм |
10-15 |
- |
10-15 |
10-15 |
|
Прогиб ремня генератора и насоса системы охлаждения при усилии 8 кгс, мм |
14-15 |
- |
14-15 |
14-15 |
|
Зазор между электродами свечей зажигания, мм |
0,7+0’15 |
- |
0,7+0’15 |
0,7+0’15 |
|
Свободный ход педали тормоза, мм |
5- |
12 | ||
|
Схождение передних колес Максимальный угол поворота переднего |
0°3'04" |
-0°9'12" | ||
|
внутреннего колеса, град |
31 |
-32 | ||
|
Свободный ход рулевого колеса, град, не более |
10 | |||
|
Дисбаланс колеса с шиной в сборе, г-см, | ||||
|
не более |
1000 | |||
|
Давление воздуха в шинах, МПа (кгс/см2): | ||||
|
передних колес: | ||||
|
225/75R16 |
0,20 (2,0) |
0,22 (2,2) |
0,20 (2,0) |
0,20 (2,0) |
|
235/70R16 |
0,17 (1,7) |
0,17 (1,7) |
- |
- |
|
245/70R16 |
0,18 (1,8) |
0,18 (1,8) |
- |
- |
21
|
1 |
2 |
3 |
4 |
5 |
|
задних колес: | ||||
|
225/75R16 |
0,24 (2,4) |
0,24 (2,4) |
0,28 (2,8) |
0,28 (2,8) |
|
235/70R16 |
0,20 (2,0) |
0,19 (1,9) |
- |
- |
|
245/70R16 |
0,21 (2,1) |
0,21 (2,1) |
- |
- |
|
Заправочные данные (в литрах) | ||||
|
Топливные баки: | ||||
|
правый/левый |
36/36 |
39/39 |
36/36 |
36/36 |
|
Система охлаждения двигателя |
12,0 (14,0*) |
14,0 |
12,0 (14,0*) |
12,0 (14,0*) |
|
Система смазки двигателя |
7 |
4,2 |
7 |
7 |
|
Система гидравлического привода тормозов |
0,6 | |||
|
Картер коробки передач |
2,5 | |||
|
Картер раздаточной коробки |
0,8 | |||
|
Картер главной передачи: | ||||
|
переднего моста |
1,5 | |||
|
заднего моста |
1,4 | |||
|
Система гидроусилителя рулевого |
1,3 | |||
|
Система гидравлического привода сцепления |
0,18 | |||
|
Бачок смывателя стекол |
5 | |||
*Для радиатора с горизонтальными трубками
ТРЕБОВАНИЯ БЕЗОПАСНОСТИ
1. При эксплуатации автомобиля необходимо строго соблюдать правила дорожного движения и требования безопасности, а также поддерживать автомобиль в технически исправном состоянии, своевременно производя его техническое обслуживание и устраняя возможные неисправности, чтобы не причинить вред себе и окружающим.
2. Ответственность за пассажиров несет водитель. Поэтому он обязан контролировать соблюдение пассажирами правил безопасности. Особенно внимательным будьте, если в автомобиле находятся дети. Пе оставляйте детей в автомобиле без присмотра.
3. Запрещается выключать зажигание и вынимать ключ из выключателя зажигания при движении автомобиля.
4. Выходя из автомобиля, не оставляйте в нем ключ от дверей и зажигания.
5. Прежде чем открыть дверь, убедитесь в том, что это не создаст помех другим участникам дорожного движения.
Прежде чем закрыть дверь, убедитесь в том, что она ничего не защемит.
Запрещается движение автомобиля с любой открытой дверью.
6. Пе производите регулировку угла наклона рулевой колонки во время движения автомобиля.
7. Пе производите регулировку водительского сиденья во время движения автомобиля.
8. Пе пользуйтесь подстаканником во время движения.
9. Соблюдайте требования безопасного использования люка вентиляции. Пе разрешайте детям пользоваться люком.
10. Соблюдайте требования безопасного использования электростеклоподъемников. Пе разрешайте детям пользоваться электростеклоподъемниками.
11. Ремни безопасности являются эффективным средством защиты водителя и пассажиров автомобиля от тяжелых последствий дорожно-транспортных происшествий.
Использование ремней безопасности обязательно!
12. Изношенные и поврежденные шины, недостаточное или избыточное давление воздуха в них, деформированные колеса или ослабление крепления колес могут стать причиной аварии.
13. Помните, что при неработающем двигателе значительно возрастают усилия, необходимые для поворота рулевого колеса и торможения автомобиля.
14. Если не действует тормозная система или рулевое управление дальнейшее движение автомобиля или его буксировка на гибкой сцепке запрещены. В этом случае буксируйте автомобиль способом частичной погрузки или воспользуйтесь услугами эвакуатора.
15. Категорически запрещается разборка амортизаторов.
16. Запрещается производить пуск и прогрев двигателя в закрытом помещении, не имеющем хорошей вентиляции.
17. Не подогревайте агрегаты автомобиля открытым пламенем.
18. Двигатель содержите в чистоте (замасливание двигателя и подтекание топлива могут быть причиной возникновения пожара).
19. Следите за тем, чтобы были плотно закрыты пробки топливных баков и не было утечек из топливопроводов.
20. Рабочая температура нейтрализатора составляет 400-800 °C. Не допускается эксплуатация автомобиля без защитных экранов нейтрализатора. При движении автомобиля и на стоянке следите, чтобы система выпуска не соприкасалась с легко воспламеняющимися материалами (например, сухой травой).
21. При работе с низкозамерзающей жидкостью, топливом и тормозной жидкостью соблюдайте следующие правила:
- избегайте любых операций, в результате которых эти жидкости или их пары могут попасть в полость рта;
- не давайте высохнуть жидкости, попавшей на кожу, а сразу же смойте теплой водой с мылом;
- пролитую жидкость смойте водой, помещение проветрите;
- загрязненную жидкостью одежду снимите, высушите вне помещения, выстирайте;
- смачивайте керосином нагар от бензина при соскабливании во избежание попадания ядовитых частиц нагара в органы дыхания;
- при работе с топливом соблюдайте правила пожарной безопасности.
22. После остановки автомобиля необходимо затормозить его стояночным тормозом.
23. При работе с электролитом соблюдайте особую осторожность. Для предотвращения отравления и химических ожогов соблюдайте следующие правила:
- строго соблюдайте требования безопасности, изложенные в инструкции на аккумуляторную батарею;
- попадание электролита или его паров в полость рта, органы дыхания или глаза крайне опасно;
- избегайте любых операций, в результате которых электролит может попасть на кожу. Если это произошло, осторожно снимите электролит ватой и незамедлительно промойте оставшиеся на коже следы 5% раствором аммиака или углекислого натрия;
- пролитый электролит соберите с помощью специальной груши или ареометра, смойте водой, помещение проветрите;
- для зарядки батареи снимите ее с автомобиля и выкрутите заливные пробки;
- зарядку батареи необходимо вести в хорошо проветриваемом помещении. Скопление паров электролита опасно для здоровья и взрывоопасно.
24. Пе мойте автомобиль при работающем двигателе.
25. Неправильно установленный домкрат может стать причиной серьезной травмы или повреждения автомобиля. Категорически запрещено проводить работы под автомобилем, стоящим только на домкрате.
26. Запрещается преодолевать спуск с выключенной передачей в коробке передач или раздаточной коробке или с выключенным сцеплением.
27. При проведении технического обслуживания и текущего ремонта автомобиля необходимо выполнять следующие требования:
-пе ред началом работ проверить исправность инструмента и приспособлений, привести в порядок рабочую одежду: застегнуть обшлага, заправить одежду так, чтобы не было свисающих концов, заправить волосы под плотно облегающий головной убор;
-пр и проведении любых видов работ автомобиль должен
быть надежно заторможен;
- не проводить техническое обслуживание и ремонт автомобиля при работающем двигателе, за исключением отдельных видов работ, технология проведения которых требует пуска двигателя; при этом проявлять особую осторожность;
- не допускать опасного приближения рук, частей одежды, инструмента к работающим приводным ремням, шкивам и т. п.;
- система питания топливом после топливного насоса при работающем двигателе находится под давлением, поэтому не допускается производить обслуживание (например, подтягивать соединения) или ремонт узлов системы при работающем двигателе или сразу после его остановки;
- соблюдать осторожность, открывая пробку радиатора системы охлаждения двигателя, во избежание ожога паром;
- перед проведением электросварочных работ необходимо снять баки;
-соблюдать правила пожарной безопасности.
28. Ряд требований безопасности более подробно приведен в соответствующих разделах настоящего руководства.
ПРЕДУПРЕЖДЕНИЯ
1. В начальный период эксплуатации строго соблюдать все рекомендации, изложенные в разделе "Обкатка нового автомобиля".
2. Включение лампы неисправности двигателя не означает, что двигатель должен быть немедленно остановлен. Тем не менее, при неисправности, вызванной пропусками зажигания (перебои в работе двигателя и подергивания при движении автомобиля), с целью исключения выхода из строя нейтрализатора отработавших газов, необходимо оперативно (не более 0,5 мин) остановить автомобиль и заглушить двигатель.
3. Не начинать движение на автомобиле с непрогретым двигателем. Не допускать после пуска холодного двигателя большой частоты вращения коленчатого вала.
Для предотвращения затруднений при пуске двигателя строго следуйте указаниям раздела "Пуск двигателя".
4. При появлении в работающем двигателе выделяющихся
шумов и стуков следует выяснить причину их возникновения и до устранения неисправности автомобиль не эксплуатировать.
4.1. После запуска холодного двигателя УМЗ-409 возможно появление стука гидротолкателей клапанов, который должен исчезнуть по мере прогрева двигателя до температуры охлаждающей жидкости 80-90 41, но не более чем через 30 минут после достижения указанной температуры. Если стук не исчезнет, необходимо проверить подачу масла к гидротолкателям или заменить неисправные гидротолкатели.
5. Включать задний ход в коробке передач и понижающую передачу в раздаточной коробке только после полной остановки автомобиля.
6. Во время движения по сухим твердым дорогам рекомендуем выключать передний мост.
Не допускать включения переднего моста при отключенных передних колесах (при наличии муфт отключения).
7. В случае выхода из строя одного из контуров тормозной системы увеличивается ход педали тормоза и снижается эффективность торможения.
8. Система безопасной парковки является вспомогательным оборудованием, которое облегчает управление автомобилем, но не берет его на себя, поэтому предприятие-изготовитель не несет ответственности за возможные повреждения при движении задним ходом.
9. Не допускать попадания на окрашенную поверхность кузова, колес и резиновые детали кислот, растворов соды, тормозной жидкости, антифриза и топлива.
10. Не допускать ударных нагрузок на ходовую часть автомобиля. При сильных ударах передними колесами внимательно осмотреть колеса, все детали переднего моста, рулевых тяг, рулевого механизма, масляного картера двигателя и устранить обнаруженные дефекты.
11. Во избежание чрезмерных нагрузок на дифференциал моста не допускать длительного буксования одного из колес.
12. При эксплуатации автомобиля в холодное время года (температура окружающего воздуха 0 С и ниже) рекомендуется применять утеплительный чехол облицовки радиатора.
При температуре окружающего воздуха ниже минус 30 Срекомендуется эксплуатировать автомобиль с постоянно включенными передними колесами.
13. Во время стоянки автомобиля свыше 12 часов при температуре окружающего воздуха ниже минус 30 °C аккумуляторную батарею хранить в теплом помещении.
14. Во избежание перегрева масла и выхода из строя насоса гидроусилителя не рекомендуем удерживать рулевое колесо в крайних положениях более 5 сек.
15. Применяйте только рекомендованные смазочные материалы и специальные жидкости.
16. Долговечная, безотказная и безопасная работа автомобиля зависит от точности соблюдения требований настоящего руководства и сервисной книжки.
17. Моменты затяжек основных резьбовых соединений приведены в приложении 2 настоящего руководства.
18. Отработавшие масла и специальные жидкости подлежат сбору и сдаче на переработку или в утилизацию.
19. В момент включения переднего моста возможен стук в раздаточной коробке.
20. Завод постоянно совершенствует конструкцию своих автомобилей, в связи с чем последние конструктивные изменения, не влияющие на эксплуатацию, могут быть не отражены в данном издании руководства.
ГЛАВА 3. ОРГАНЫ УПРАВЛЕНИЯ, ОБОРУДОВАНИЕ САЛОНА И КУЗОВА АВТОМОБИЛЯ
Расположение органов управления и оборудование места водителя показано на рис. 3.1:
1 - сопло обдува (см. подраздел "Отопление и вентиляция салона").
2 -модуль управления светотехникой (рис. 3.2).
3 -комбинация приборов (рис. 3.3).
4 -центральная консоль (рис. 3.5).
5 -пульт управления отопителем (см. подраздел "Отопление и вентиляция салона").
6 -верхняя крышка вещевого ящика. Чтобы открыть крышку, потяните снизу ручку. При открытой крышке включается плафон подсветки. Выключателем, расположенным на плафоне, можно отключить подсветку вещевого ящика.
Рис. 3.1. Органы управления и оборудование места водителя (наименование позиций см. в тексте)
7 -поручень пассажира.
8 -нижняя крышка вещевого ящика. Чтобы открыть крышку, потяните ручку на себя и влево. При открытой крышке включается плафон подсветки. Выключателем, расположенным на плафоне, можно отключить подсветку вещевого ящика.
9-полка.
10 -пепельница.
11 -напольный контейнер.
12 -рычаг включения переднего моста и понижающей передачи. (Положения рычага см. на рис. 3.6).
13 -рычаг переключения передач. (Положения рычага см. на рукоятке рычага переключения передач и на рис. 3.6).
14 -блоки управления (см. рис. 3.7).
15 -рычаг стояночного тормоза. Для включения стояночного тормоза переместите рычаг вверх, для выключения нажмите на кнопку на торце рычага и переместите рычаг вниз до упора.
16 -коробка для мелких вещей.
17 -переключатель паузы стеклоочистителя. Имеет пять фиксированных положений.
18 -педаль акселератора.
19 -педаль тормоза.
20 -педаль выключения сцепления.
21 -крышка монтажного блока. Для доступа к монтажному блоку поверните винт на крышке и снимите ее. Освещенность в зоне монтажного блока обеспечивается плафоном подсветки, расположенным ниже крышки 21 под панелью приборов. Подсветка включается при открывании любой боковой двери. При закрытых дверях включение и выключение плафона осуществляется расположенным на нем выключателем.
22 -рычаг открывания замка капота.
23 -рулевая колонка с рулевым колесом, выключателем зажигания, многофункциональными переключателями и рычагом управления углом наклона рулевой колонки (см. рис. 3.8).
На рис. 3.2 изображен модуль управления светотехникой (МУС).
1 -выключатель наружного освещения. Имеет пять положений (по часовой стрелке): "парковка" -при выключенном зажигании включены габаритные огни и освещение намерного знака (подсветка приборов должна отсутствовать);
Рис. 3.2. Модуль управления светотехникой (наименование позиций см. в тексте)
"освещение выключено"; "включены габаритные огни"; "включено головное освещение"; "автомат" -при включении зажигания автоматически включаются ближний свет фар, габаритные огни, освещение номерного знака и подсветка приборов.
2 -регулятор освещения комбинации приборов. Интенсивность освещения изменяется вращением регулятора.
3 -регулятор корректора фар. Вращением регулятора корректируется угол наклона пучка света фар в зависимости от загрузки автомобиля: "0" -один водитель или водитель с пассажиром на переднем сиденье; точка между "0" и "1" -все места в салоне заняты (5 человек); "1" -все места заняты (9 человек) или все места в салоне заняты плюс груз в багажном отделении до допустимой нагрузки на заднюю ось; точка между "1" и "2" -водитель плюс груз, равномерно распределенный в салоне и багажном отделении до допустимой нагрузки на заднюю ось. При других вариантах нагрузки (без превышения полной массы) положение подбирается таким образом, чтобы освещенность дороги на ближнем свете фар была в пределах нормы и не ослеплялись водители встречного транспорта.
4 -выключатель противотуманных задних огней.
5 -выключатель противотуманных фар.
На рис. 3.3 изображена комбинация приборов.
Сигнализаторы зеленого и синего цвета информируют водителя о нормальном функционировании включаемой системы. Сигнализаторы оранжевого цвета предупреждают водителя о необходимости принятия мер для обеспечения
Рис. 3.3. Комбинация приборов (наименование позиций см. в тексте)
дальнейшей нормальной работы автомобиля. Сигнализаторы красного цвета предупреждают водителя об аварийной работе агрегатов.
Эксплуатация автомобиля с постоянно горящим (хотя бы одним) сигнализатором красного цвета не допускается.
1 -тахометр. Красная зона шкалы свидетельствует о превышении допустимых оборотов и работе двигателя в аварийном режиме.
2 -сигнализатор включения указателя левого поворота и аварийной сигнализации (зеленый).
3 -блок сигнализаторов (изображен на рис. 3.4)
4 -сигнализатор включения указателя правого поворота и аварийной сигнализации (зеленый).
5 - спидометр.
6 -сигнализатор включения задних противотуманных огней (оранжевый).
7 -сигнализатор включения габаритных огней (зеленый).
8 -сигнализатор включения противотуманных фар (зеленый).
9 -сигнализатор резерва топлива (оранжевый). Загорается при остатке топлива в правом баке 5,5-7 л.
10 -сигнализатор включения дальнего света фар (синий).
11 -указатель уровня топлива.
12 -кнопка сброса суточного счетчика пройденного пути. Сброс показаний производится нажатием на кнопку и при снятии клеммы с аккумуляторной батареи.
13 -индикатор пробега. Верхняя строка индикатора указывает суммарный пробег автомобиля, нижняя суточный пробег.
14 -индикатор текущего времени, или напряжения бортовой сети, или давления масла в системе смазки двигателя.
15 -"режим" - переключатель режимов индикатора 18 и корректор текущего времени. Кратковременным нажатием на кнопку производится последовательное переключение режимов индикации. Коррекция показания времени должна производиться только в режиме индикации текущего времени. Поворотом кнопки по часовой стрелке увеличиваются показания минут, против часовой стрелки - часов. При повороте и нажатии кнопки происходит автоматическое увеличение значений. Выход из режима коррекции и начало отсчета времени происходит после однократного нажатия на кнопку или автоматически через 10 с.
16 -указатель температуры охлаждающей жидкости. Работа двигателя при положении стрелки указателя в красной зоне не допускается.
17 -сигнализатор включения свечей накаливания (оранжевый) дизельного двигателя.
18 -сигнализатор аварийного давления масла в системе смазки двигателя автомобилей (красный). Сигнализатор загорается после включения зажигания и гаснет после пуска двигателя при повышении оборотов коленчатого вала.
19 -сигнализатор неисправности “OBD” элементов системы управления двигателем, влияющих на токсичность отработавших газов(оранжевый). Загорается при включении зажигания и гаснет после пуска двигателя. Включение сигнализатора указывает на наличие неисправностей компонентов двигателя или системы выпуска, влияющих на уровень токсичности отработавших газов. При включении сигнализатора, если это не сопровождается значительным ухудшением ездовых качеств, можно продолжать движение c небольшой скоростью до ближайшей авторизованной сервисной станции ОАО "УАЗ" для проведения диагностических работ.
Продолжительная эксплуатация с включенным сигнализатором неисправности может привести к выходу из строя элементов системы управления двигателем.
При включении зажигания сигнализатор начинает мигать с частотой 5 Гц при неисправности блока управления двигателем. А также при неисправности иммобилайзера и при
использовании незарегистрированного кодового ключа или ключа без транспондера (см. подраздел "Электронная противоугонная система"), если установлен блок управления двигателем "МИКАС-11" (Экологический класс 2).
20 - сигнализатор аварийного перегрева охлаждающей жидкости (красный).
21 -сигнализатор неисправности “EDC” системы управления двигателем (оранжевый). Загорается для тестирования при включении зажигания на 2-3 сек и гаснет. Включение сигнализатора (постоянное горение лампы или мигание лампы) указывает на наличие неисправностей в системе управления двигателем. При постоянном горении лампы, если это не сопровождается значительным ухудшением ездовых качеств, можно продолжать движение до ближайшей авторизованной сервисной станции ОАО "УАЗ" для проведения диагностических работ. Если лампа мигает, то работа двигателя не допустима, необходимо остановить автомобиль и заглушить двигатель.
Продолжительная эксплуатация с включенным сигнализатором неисправности может привести к выходу из строя элементов системы управления двигателем.
На рис. 3.4 изображен блок сигнализаторов.
1 - сигнализатор разряда аккумуляторной батареи (красный). Горение при работающем двигателе говорит об отсутствии зарядки аккумуляторной батареи.
2 - сигнализатор неисправности рабочей тормозной системы и EBD (красный).
3 - сигнализатор включения стояночного тормоза (красный).
4 - сигнализатор неисправности антиблокировочной системы тормозов (ABS) (оранжевый).
5 - сигнализатор непристегнутого ремня безопасности (красный).
6 - сигнализатор включения иммобилайзера (оранжевый).
7 - не используется.
8 - сигнализатор включения нейтрального положения раздаточной коробки (зеленый).
9 - сигнализатор включения переднего моста и понижающей передачи (зеленый).
10 - сигнализатор засоренности топливного фильтра автомобиля УАЗ-31631 (оранжевый).
Рис. 3.4. Блок сигнализаторов (наименование позиций см. в тексте)
11 - сигнализатор системы охранной сигнализации (оранжевый).
12 - сигнализатор незакрытой двери (красный).
13 - сигнализатор наличия воды в топливном фильтре автомобиля УАЗ-31631 (оранжевый).
14 - сигнализатор включения переднего моста (зеленый). Загорается при включении переднего моста на любой передаче раздаточной коробки.
На рис. 3.5 изображена центральная консоль панели приборов.
1 - выключатель обогрева заднего стекла и наружных зеркал.
2 - выключатель рециркуляции.
3 +-выключатель электронасоса отопителя (для автомобилей без дополнительного отопителя салона).
4 +- выключатель кондиционера.
5 - выключатель аварийной сигнализации.
6 - подстаканник. Чтобы выдвинуть подстаканник, нажмите на его крышку до упора и отпустите, подстаканник выдвинется автоматически.
ВНИМАНИЕ! Не пользуйтесь подстаканником во время движения.
Рис. 3.5. Центральная консоль панели приборов (наименование позиций см. в тексте)
Рис. 3.6. Положения рычагов коробки переключения передач и раздаточной коробки:
1-5 -передачи; R -задний ход; 2Н -прямая передача, передний мост выключен; 4Н -прямая передача, включен передний мост (основное положение - правое); N -нейтральное положение; 4L -включен передний мост и понижающая передача
7 - прикуриватель. Для нагрева спирали прикуривателя нажмите на ручку вставки до ее фиксации и отпустите ручку. При достижении необходимой температуры нагрева спирали вставка автоматически возвращается в исходное положение.
8 - место для установки магнитолы (магнитола устанавливается в зависимости от комплектации).
На рис. 3.7 изображен напольный контейнер с блоками и клавишами управления.
1 , 2, 3, 4+ - выключатели управления электростеклоподъемниками. Для опускания стекла нажмите на вогнутую часть клавиши, для поднятия - на выпуклую часть клавиши.
5 - переключатель датчиков указателя уровня топлива в баках.
6 + - блок управления обогревом сидений.
7 + - переключатель управления положением наружных зеркал заднего вида. Поворотом рукоятки вокруг оси вращения выбирается регулируемое зеркало (правое или левое). Движением рукоятки вперед-назад и вправо-влево регулируется положение зеркального элемента вверх-вниз и вправо-влево соответственно.
8 + - переключатель дополнительного отопителя салона.
На рис. 3.8 изображена рулевая колонка с рулевым колесом, многофункциональными подрулевыми переключателями, выключателем зажигания и рычагом управления углом наклона рулевой колонки.
1 - рычаг переключателя указателей поворота и света фар имеет следующие положения:
I - указатели поворотов выключены; включен ближний свет фар, если выключателем наружного освещения включены фары;
II - включены указатели левого поворота (нефиксированное положение);
Рис. 3.7. Блоки и клавиши управления (наименование позиций см. в тексте)
Рис. 3.8. Рулевая колонка с рулевым колесом, многофункциональными подрулевыми переключателями, выключателем зажигания и рычагом управления углом наклона рулевой колонки (наименование позиций см. в тексте)
III - включены указатели левого поворота (фиксированное положение);
IV - включены указатели правого поворота (нефиксированное положение);
V - включены указатели правого поворота (фиксиро-ванное положение);
VI - (на себя) -сигнализация дальним светом фар независимо от положения выключателя наружного освещения (нефиксированное положение);
VII - (от себя) -включен дальний свет фар, если выключателем наружного освещения включены фары (фиксированное положение).
2 - рычаг переключателя стеклоочистителя и смывателя имеет следующие положения:
I - стеклоочиститель и смыватель выключены;
II - включен прерывистый режим работы стекло-очистителя ветрового стекла (нефиксированное положение);
III - включен прерывистый режим работы стекло-очистителя ветрового стекла (фиксированное положение);
IV - включен постоянный режим (малая скорость) работы стеклоочистителя ветрового стекла (фиксированное положение);
V - включен постоянный режим (большая скорость) работы стеклоочистителя ветрового стекла (фиксированное положение);
VI - (на себя) -включен смыватель и стеклоочиститель ветрового стекла (нефиксированное положение);
VII - включен стеклоочиститель заднего стекла (фиксированное положение);
VIII - (нефиксированное положение) -при кратковременном нажатии на рычаг, обеспечивается работа электродвигателя смывателя стекла двери задка в течение 5±1,5 секунд.
3 - выключатель зажигания имеет три положения:
0 - стоянка (положение фиксированное);
I - включено зажигание (положение фиксированное);
II - включен стартер (нефиксированное положение).
ВНИМАНИЕ! Запрещается выключать зажигание и вынимать ключ из выключателя зажигания при движении автомобиля. Остановка двигателя приведет к снижению эффективности тормозов, а при вынутом ключе зажигания вал рулевого управления блокируется противоугонным устройством и автомобиль становится неуправляемым.
4 - ключ зажигания и дверей.
К автомобилю прилагаются два (Экологический класс 2) или три (экологический класс 3) ключа, каждый из которых служит как для отпирания замков дверей, так и для включения зажигания.
В головку ключей автомобиля, оборудованного электронной противоугонной системой, встроен транспондер - электронный чип, сохраняющий уникальный идентификационный код. Иммобилайзер блокирует запуск двигателя без предварительного считывания кода с транспондера и обеспечивает тем самым дополнительную защиту от несанкционированного использования.
Ключ вынимается из замка только в положении 0, при этом срабатывает механизм запорного устройства, блокирующий вал рулевого управления.
Для блокировки рулевого управления на стоянке установите ключ в положение 0, выньте его и поверните рулевое колесо в любую сторону до щелчка, означающего, что язычок запорного устройства замка совпал с пазом стопорной втулки вала рулевого колеса.
При отпирании рулевого управления вставьте ключ в выключатель зажигания и, покачивая вправо-влево рулевое колесо, поверните ключ по часовой стрелке в положение I.
В целях исключения случаев ошибочного включения стартера при работающем двигателе (II положение ключа), в конструкции механизма замка применена блокировка, дающая возможность повторного пуска двигателя только после возврата ключа в положение 0.
5 -кнопка звукового сигнала.
6 -рычаг управления углом наклона рулевой колонки. Для изменения угла наклона рулевой колонки потяните вниз рычаг, переместите колонку и отпустите рычаг.
ВНИМАНИЕ! Не производите регулировку угла наклона рулевой колонки во время движения автомобиля. После регулировки убедитесь в том, что рулевая колонка надежно зафиксирована в новом положении.
Электронная противоугонная система автомобилей с блоком управления двигателем МЕ 17.9.7
(Экологический класс 3)
В комплект противоугонной системы входят три ключа зажигания, в головки которых встроены транспондеры. Ключи равнозначны по своим функциональным возможностям. Система позволяет зарегистрировать восемь ключей зажигания. При этом обязательным условием ее работы является регистрация трех ключей зажигания.
В отношении регистрации ключей зажигания система может находиться в состояниях "нейтральное", "обученное" и "обновление ключа".
Состояние "нейтральное" - после замены на станции технического обслуживания блока управления двигателем система производит автоматическую регистрацию ключей
зажигания, для чего необходимо включить зажигание каждым ключем поочередно.
Пуск двигателя автомобиля невозможен до тех пор, пока автоматически не будет зарегистрировано три ключа, и состояние системы не изменится на "обученное".
Состояние "обученное" - успешно проведена регистрация трех ключей.
Состояние "обновление ключа" - после проведения процедуры входа в это состояние система производит регистрацию (перерегистрацию) необходимого количества ключей зажигания.
Без успешной регистрации ключей и успешного распознавания кода ключа при включении зажигания пуск двигателя автомобиля невозможен.
В отношении предотвращения несанкционированного использования автомобиля система может находится в состояниях “включено” и “отключено”.
Состояние “включено” - иммобилайзер блокирует пуск двигателя. При этом сигнализатор 6 (см. рис. 3.4) включения иммобилайзера включен постоянно.
В это состояние система переходит в следующих случаях:
- если двигатель не был запущен в течение 25 секунд после включения зажигания и успешного распознавания кода ключа;
- если после включения зажигания код ключа не был распознан (система запомнит код неисправности, который может быть считан при помощи диагностического тестера);
- если система находится в "нейтральном" состоянии и регистрация ключей не выполнена;
- если система находится в состоянии "обучено" и используется незарегистрированный ключ;
- если система находится в состоянии "обновление ключа" и регистрация (перерегистрация) ключа не выполнена;
- после выключения зажигания;
- через 25 секунд в случае остановки двигателя и отсутствии попыток пустить двигатель вновь;
- после сбоя питания.
Состояние “отключено” - иммобилайзер не препятствует пуску двигателя. При этом сигнализатор 6 включения иммобилайзера выключен.
В это состояние (снятие с охраны) система переходит после
включения зажигания при условии успешного распознавания кода ключа.
Ключ зажигания (транспондер) может находиться в состояниях ' 'исходный", ' 'зарегистрированный" и ' 'неисправный".
Состояние “исходный” - ключ зажигания, переданный от производителя, не прошедший регистрацию в системе.
Состояние "зарегистрированный" - ключ зажигания, прошедший регистрацию в конкретной системе. После успешного распознавания кода ключа пуск двигателя автомобиля возможен.
Состояние "неисправный" - ключ зажигания, код которого не был распознан системой при включении зажигания. Пуск двигателя автомобиля невозможен.
Внимание! Для регистрации (перерегистрации) ключей используются любые два, ранее зарегистрированные в предшествующем сеансе, ключа. Принимайте все меры предотвращающие утрату ключей.
Не рекомендуется производить пуск двигателя зарегистрированным в данной системе ключом, закрепленным в общей связке с остальными зарегистрированными и незарегистрированными ключами.
После включения зажигания (см. рис. 3.8) сигнализатор 6 (см. рис. 3.4) включения иммобилайзера загорается на 1,5 секунды в тестовом режиме. Затем, до пуска двигателя сигнализатор индицирует состояние противоугонной системы:
-система в состоянии ' 'включено" или процедура регистрации ключа незавершина - сигнализатор 6 постоянно включен;
-система в состоянии ' 'отключено" или процедура регистрации ключа завершина - сигнализатор 6 выключен;
-при процедуре регистрации ключа сигнализатор 6 включается 5 раз с периодом в 1 с (0,5 с выключен / 0,5 с включен);
-система в "нейтральном" состоянии - сигнализатор 6 включается 3 раза с периодом в 3 с (1,5 с выключен / 1,5 с включен).
-система состоянии "обучения ключа" - сигнализатор 6 включается 4 раза с периодом в 3 с (1,5 с выключен / 1,5 с включен).
Регистрация ключей. Регистрации подлежат только ключи зажигания находящиеся в состояниях “исходный” и
"зарегистрированный" (ранее прошедший регистрацию в данной системе). Ключи, зарегистрированные в других системах, не могут быть перерегистрированны в данной системе. Регистрация возможна только при помощи любых двух зарегистрированных в предыдущем сеансе регистрации ключей.
Регистрация ключа с системой находящейся в "обученном" состоянии используется для того, чтобы обеспечить владельца автомобиля дополнительными ключами зажигания (без удаления кодов зарегистри-рованных на предыдущем сеансе ключей зажигания).
Чтобы зарегистрировать ключ, необходимо выполнить следующие действия:
- включите зажигание одним из зарегистрированных ключей, повернув его в положение I (см. рис. 3.8) выключателя зажигания;
- убедитесь, что зажигание включено, код ключа распознан (сигнализатор 6 (см. рис. 3.4) включения иммобилайзера выключен);
- в течение 10 секунд после включения выключите зажигание, повернув ключ в положение 0 (см. рис. 3.8);
- в течение 10 секунд включите зажигание другим зарегистрированным ключом, убедитесь, что зажигание включено, код ключа распознан;
- в течение 10 секунд после включения выключите зажигание. Сигнализатор 6 (см. рис. 3.4) включения иммобилайзера начинает мигать, система включена;
- в течение 20 секунд (время мигания сигнализатора) включите зажигание регистрируемым ключом. Регистрация ключа завершена, если по истечении 5 секунд сигнализатор погаснет. Если сигнализатор включается в постоянном режиме, регистрация ключа считается незавершенной. После того, как сигнализатор начинает мигать, регистрацию ключей можно повторить.
При необходимости обучения большего количества ключей вернитесь к предыдущей данной операции.
ВНИМАНИЕ! Включение стартера или не соблюдение указанных временных интервалов или отключение питания системы запрещают вход в процедуру регистрации ключа, а если система уже находится в этой процедуре прекращают все дальнейшие операции по регистрации ключа.
Перерегистрация ключей используется в случае утраты хотя бы одного ключа и для регистрации дополнительных ключей (с удалением кодов ранее зарегистрированных ключей).
Для этого необходимо перевести систему в состояние "обновление ключа" и провести перерегистрацию ключей:
- включите зажигание одним из зарегистрированных ключей, повернув его в положение I (см. рис. 3.8) выключателя зажигания;
- убедитесь, что зажигание включено, код ключа распознан (сигнализатор 6 (см. рис. 3.4) включения иммобилайзера выключен);
- в течение 10 секунд после включения выключите зажигание, повернув ключ в положение 0 (см. рис. 3.8);
- в течение 10 секунд включите зажигание другим зарегистрированным ключом, убедитесь, что зажигание включено, код ключа распознан;
- в течение 10 секунд после включения выключите зажигание. Сигнализатор 6 (см. рис. 3.4) включения иммобилайзера начинает мигать, система включена;
- в течение 20 секунд (время мигания сигнализатора) нажмите педаль акселератора. При распознавании системой полного нажатия педали акселератора, сигнализатор 6 (см. рис. 3.4) включения иммобилайзера выключается;
- удерживайте педаль акселератора нажатом состоянии в течение 60 секунд. После этого сигнализатор включения иммобилайзера начинает мигать;
- в течение 20 секунд (время мигания сигнализатора) включите зажигание регистрируемым ключом (не первым и не вторым зарегистрированным ключом). Сигнализатор включения иммобилайзера включится в постоянном режиме. Отпустите педаль акселератора. Регистрация ключа завершена, если через 2 секунды сигнализатор погаснет. Если сигнализатор включается в мигающем режиме, регистрация ключа считается незавершенной и процесс регистрации прекращается;
- в течение 10 секунд после включения зажигания выключите его и извлеките ключ из выключателя зажигания. Сигнализатор включения иммобилайзера будет мигать в течение 20 секунд. Для регистрации дополнительных ключей возвратитесь к предыдущей операции;
- для окончания регистрации ключей, включите зажигание
вторым (от начала процедуры) зарегистрированным ключом. Сигнализатор включения иммобилайзера продолжает мигать в течение 2 секунд, после чего выключится;
- в течение 10 секунд после включения зажигания выключите его и извлеките ключ из выключателя зажигания. Сигнализатор включения иммобилайзера начинает мигать;
- в течение 20 секунд (время мигания сигнализатора) включите зажигание первым (от начала процедуры) зарегистрированным ключом. Сигнализатор выключится. После этого система удалит все зарегистрированные в предыдущем сеансе обучения коды ключей и зарегистрирует все ключи, использованные в текущем процессе регистрации (первый, второй зарегистрированные ключи и дополни-тельные ключи). Регистрация ключей завершена, если сигнализатор включится и по истечении 2 секунд погаснет.
Если регистрация ключей прошла неудачно, то сигнализатор включения иммобилайзера продолжит мигать, а система будет заблокирована до тех пор, пока зажигание не будет включено любым из зарегистрированных ключей.
ВНИМАНИЕ! Включение стартера или не соблюдение указанных временных интервалов или отключение питания системы запрещают вход в процедуру перерегистрации ключа, а если система уже находится в этой процедуре прекращают все дальнейшие операции по регистрации ключа.
Для определения количества зарегистрированных ключей необходимо выполнить следующие действия:
- включите зажигание одним из зарегистрированных ключей, повернув его в положение I (см. рис. 3.8) выключателя зажигания;
- убедитесь, что зажигание включено, код ключа распознан (сигнализатор 6 (см. рис. 3.4) включения иммобилайзера выключен);
- в течение 10 секунд после включения выключите зажигание, повернув ключ в положение 0 (см. рис. 3.8);
- в течение 10 секунд включите зажигание этим же ключом, убедитесь, что зажигание включено, код ключа распознан, сигнализатор включения иммобилайзера выключен;
- в течение 5 секунд после включения выключите зажигание;
- в течение 5 секунд после выключения включите зажигание, сигнализатор включения иммобилайзера должен выключится;
- в течение 5 секунд после включения выключите зажигание;
- в течение 5 секунд после выключения включите зажигание, сигнализатор включения иммобилайзера должен выключится;
- в течение 5 секунд после включения выключите зажигание. Через 1 секунду после выключения зажигания мигающий сигнализатор включения иммобилайзера покажет количество зарегистрированных ключей. Сигнализатор включения иммобилайзера включается на 1 секунду для каждого зарегистрированного ключа.
ВНИМАНИЕ! Включение стартера или не соблюдение указанных временных интервалов или отключение питания системы прекращают процедуру определения количества зарегистрированных ключей.
Электронная противоугонная система автомобилей с блоком управления двигателем
МИКАС-11 (Экологический класс 2)
Система может находиться в состояниях “включено” и “отключено”.
Состояние “включено” - иммобилайзер блокирует запуск двигателя. В это состояние (постановка на охрану) система переходит при выключении зажигания.
Состояние “отключено” - иммобилайзер не препятствует запуску двигателя. В это состояние (снятие с охраны) система переходит после включения зажигания при условии:
- успешного распознавания кода ключа;
-если система находится в режиме технического обслуживания.
В комплект противоугонной системы входят два ключа зажигания, в головки которых встроены транспондеры. Ключ с черной головкой - рабочий, он снимает противоугонную систему с охраны (состояние “отключено”). Им рекомендуется пользоваться для повседневных поездок. Ключ, имеющий вставку красного цвета - обучающий или мастер-ключ. Он также снимает противоугонную систему с охраны, но, в отличие от рабочего ключа, имеет дополнительную функцию перевода противоугонной системы в различные режимы.
ВНИМАНИЕ! Не следует пользоваться мастер-ключом для повседневных поездок, храните его дома в надежном месте. Использовать его можно только в случае утери рабочего ключа.
Допускается производить пуск двигателя зарегистрированным в данной системе ключом, закрепленным в общей связке с остальными зарегистрированными и незарегистрированными ключами при условии, что в момент пуска неиспользуемые ключи зажигания не прилегают к корпусу замка зажигания стороной встроенного контейнера транспондера.
Режим регистрации ключей служит для сохранения кодов, записанных в транспондерах ключей данной противоугонной системы, и программирования транспондеров. Это делает ключи уникальными и известными только в данной системе.
Вход в режим регистрации ключей происходит автоматически при первом включении зажигания на инициализированной системе и в случае, если в системе был успешно выполнен режим очистки списка ключей (см. ниже).
Все ключи, предназначенные для регистрации, необходимо подготовить заблаговременно. На сеанс регистрации отводится ограниченное время. После истечения отведенного времени (10 мин.) система автоматически выходит из режима регистрации ключей.
Для регистрации первого ключа в системе необходимо всегда использовать ключ с красной вставкой (крышкой контейнера транспондера).
Первый зарегистрированный ключ зажигания получает свойства мастер-ключа. Только при использовании мастер-ключа доступны все возможные функциональные режимы системы.
Транспондеры, прошедшие процедуру регистрации, невозможно использовать в другой системе управления двигателем.
Чтобы зарегистрировать ключ, необходимо выполнить следующие действия:
- включите зажигание, повернув ключ в положение I (см. рис. 3.8) выключателя зажигания;
-убедитесь, что зажигание включено, код ключа распознан - нет миганий сигнализатора 19 (см. рис. 3.3) неисправности двигателя, нет звуковых сигналов зуммера блока иммобилайзера. Если сигнализатор неисправности двигателя мигает с частотой 5 Гц и звучат сигналы зуммера, то это означает, что регистрация данного ключа не выполнена.
Обратитесь к официальному дилеру или на авторизованную сервисную станцию ОАО "УАЗ";
-выключите зажигание, повернув ключ в положение 0 (см. рис. 3.8) и поочередно повторите включение зажигания всеми имеющимися ключами. На сеанс регистрации всех ключей отводится 10 минут с момента регистрации мастер-ключа. Система позволяет регистрировать четыре ключа.
-после регистрации последнего ключа переведите систему в состояние охраны (“включено”). Для этого выключите зажигание. Через некоторое время произойдет включение и выключение сигнализатора неисправности двигателя. Переход системы в состояние охраны происходит через 15 секунд после выключения сигнализатора.
ВНИМАНИЕ! Проворачивание коленчатого вала стартером запрещает режим регистрации ключей, а если система уже находится в этом режиме - прекращает все дальнейшие операции по регистрации ключей.
После успешной регистрации четвертого кодового ключа система автоматически прекращает дальнейшие операции по регистрации ключей, при этом блок иммобилайзера выдает звуковые сигналы.
Режим технического обслуживания используется в следующих случаях:
-при передаче управления автомобилем другому лицу, когда необходимо заблокировать возможность регистрации в системе новых ключей;
-при проведении ремонтных работ, когда функции иммобилизации мешают проведению работ.
В режиме технического обслуживания блок иммобилайзера, оставаясь в системе, не препятствует запуску двигателя.
Для перевода системы в режим технического обслуживания необходимо выполнить следующие действия:
-при установленной на охрану системе, используя мастер-ключ, включите зажигание, повернув ключ в положение I (см. рис. 3.8) выключателя зажигания;
-убедитесь, что мастер-ключ распознан, а коленчатый вал не вращается;
-выключите зажигание, повернув ключ в положение 0 (см. рис. 3.8) выключателя зажигания, дождитесь включения
сигнализатора 19 (см. рис. 3.3) неисправности двигателя;
-не позднее, чем через 10 секунд три раза повторите действия по включению-выключению зажигания. При этом блок иммобилайзера начинает издавать звуковые сигналы, а сигнализатор неисправности двигателя индицирует число вспышек коротким миганием с частотой 5 Гц;
-после третьего звукового сигнала зуммера или после третьей вспышки сигнализатора включите зажигание, повернув ключ в положение I (см. рис. 3.9) выключателя зажигания;
-убедитесь, что установлен режим технического обслуживания - сигнализатор мигает с частотой 5 Гц в течение десяти секунд. Если нет миганий сигнализатора, то это означает, что переход в режим технического обслужи-вания не произошел. Обратитесь к официальному дилеру или на авторизованную сервисную станцию ОАО "УАЗ".
ВНИМАНИЕ! Ключ не должен находиться в положениях I и 0 выключателя зажигания более двух секунд. В случае превышения указанного интервала блок управления двигателем выходит из ожидания установки режима технического обслуживания. В этом случае, если ключ находится в положении 0, блок управления двигателем готовит систему к переводу ее в состояние охраны.
Система диагностики блока управления двигателем "МИКАС-11" во время своей работы регистрирует, сохраняет в памяти блока управления и отображает обнаруженные неисправности блока иммобилайзера. Для системы иммобилизации выделено четыре кода неисправностей, доступных для чтения диагностическим оборудованием: Р1570 - обрыв линии связи блока управления двигателем и блока иммобилайзера;
Р1571 - использован незарегистрированный ключ;
P1572 - обрыв антенны выключателя зажигания;
P1573 - внутренний дефект блока иммобилайзера.
Первое же включение зажигания мастер-ключом из состояния системы "включено" приводит к автоматической отмене режима технического обслуживания. При этом блок иммобилайзера выдаст звуковой сигнал и запретит мигание сигнализатора при последующих включениях.
Режим очистки списка ключей. Очистка списка зарегистрированных ключей позволяет заблокировать потерянный ключ или зарегистрировать новый ключ с инициализированным транспондером. С этой целью все зарегистрированные ключи стираются из памяти системы, после чего вводится на ограниченное время режим регистрации имеющихся ключей. Ключи уже проходившие регистрацию в данной системе, можно при регистрации использовать повторно.
Для перевода системы в режим очистки списка ключей необходимо выполнить следующие действия:
- при установленной на охрану системе включите, используя мастер-ключ, зажигание, повернув ключ в положение I (см. рис. 3.9) выключателя зажигания;
- убедитесь, что мастер-ключ распознан, а коленчатый вал не вращается;
- выключите зажигание, повернув ключ в положение 0 выключателя зажигания, дождитесь включения сигнализатора 19 (см. рис. 3.3) неисправности двигателя;
- не позднее, чем через 10 секунд три раза повторите действия по включению-выключению зажигания. При этом блок иммобилайзера начинает издавать звуковые сигналы, а сигнализатор неисправности двигателя индицирует число вспышек коротким миганием с частотой 5 Гц;
- после пятого звукового сигнала зуммера или после пятой вспышки сигнализатора включите зажигание, повернув ключ в положение I (см. рис. 3.9) выключателя зажигания;
-убедитесь, что установлен режим очистки списка ключей - сигнализатор мигает с частотой 5 Гц в течение десяти секунд. Если нет миганий сигнализатора, то это означает, что переход в режим очистки списка ключей не произошел. Обратитесь к официальному дилеру или на авторизованную сервисную станцию ОАО "УАЗ".
Режим определения количества зарегистрированных ключей.
Для перевода системы в режим определения количества зарегистрированных ключей необходимо выполнить следующие действия:
- при установленной на охрану системе включите, используя
мастер-ключ, зажигание, повернув ключ в положение I выключателя зажигания;
- убедитесь, что мастер-ключ распознан, а коленчатый вал не вращается;
- выключите зажигание, повернув ключ в положение 0 выключателя зажигания, дождитесь включения сигнализатора 19 (см. рис. 3.3) неисправности двигателя;
- не позднее, чем через 10 секунд три раза повторите действия по включению-выключению зажигания. При этом блок иммобилайзера начинает издавать звуковые сигналы, а сигнализатор неисправности двигателя индицирует число вспышек коротким миганием с частотой 5 Гц;
-после первого звукового сигнала зуммера или после первой вспышки сигнализатора включите зажигание, повернув ключ в положение I (см. рис. 3.9) выключателя зажигания. Число последующих звуковых сигналов зуммера будет соответствовать числу зарегистрированных ключей.
СИСТЕМА ЭЛЕКТРОБЛОКИРОВКИ ЗАМКОВ С ДИСТАНЦИОННЫМ УПРАВЛЕНИЕМ И ФУНКЦИЕЙ ОХРАННОЙ СИГНАЛИЗАЦИИ+
Система электроблокировки замков с дистанционным управлением автомобилей с бензиновыми двигателями экологического класса 3 состоит из блока управления электропакетом, двух ключей с пультом (ПДУ) дистанционного управления (рис. 3.9) и одного ключа без ПДУ.
Система электроблокировки замков с дистанционным управлением автомобилей с дизельными двигателями экологического класса 3 состоит из блока управления электропакетом, двух ключей с ПДУ.
Рис. 3.9. Ключ с пультом дистанционного управления: 1 -индикатор подтверждения излучения и разряда батареи пульта; 2 -кнопка разблокировки замков и отключения сигнализации; 3 -кнопка блокировки замков и включения сигнализации; 4 -кнопка
включения звукового
сигнала
Ключи автомобилей с бензиновыми двигателями имеют встроенные транспондеры электронной противоугонной системы: ключи с пультом - несъемные транспондеры, ключи без пульта - съемные.
Описание электронной противоугонной системы, регистрация ключей и работа системы приведено выше в подразделах "Электронная противоугонная система автомобилей...".
Внимание. С помощью ПДУ, при отсутствии помех, можно управлять системой электроблокировки спереди, с левой и правой сторон автомобиля на расстоянии около 10 м, сзади -на расстоянии около 6м.
Во избежание кражи пользуйтесь дистанционным управлением в непосредственной близости от автомобиля.
Блок управления регистрирует, сохраняет и отображает по запросу диагностического тестера, имеющего соответствующее программное обеспечение, обнаруженные неисправности системы электроблокировки.
Не подвергайте ПДУ воздействию повышенного электромагнитного излучения.
Во избежание выхода из строя защищайте ПДУот воздействия моющих средств, топлив, масел и смазок, воды.
Система электроблокировки позволяет обучать до четырех ПДУ. ПДУ, при работе с системой электроблокировки, равнозначны по функциональным возможностям.
При обучении ПДУ, обучающий и обучаемые пульты должны быть отделены от общей связки обученных и необученных ПДУ и ключей зажигания с транспондерами.
Принимайте все меры предотвращающие утрату ПДУ.
Порядок работы с системой электроблокировки замков
Блокировка замков дверей и включение режима охраны с ПДУ
Для блокировки замков дверей и включения режима охраны необходимо нажать кнопку 3 (см. рис. 3.9) на ПДУ. При этом замки всех дверей и замок двери задка заблокируются, система переходит в режим охраны, что подтверждается одиночным миганием указателей поворотов и медленным миганием сигнализатора 11 (см. рис. 3.4) системы в комбинации приборов.
Если при включении режима охраны открыта какая-либо дверь или капот, то указатели поворотов мигнут три раза и будет подан одиночный звуковой сигнал. Для того, чтобы включить открытые зоны в зону охраны, необходимо закрыть их. Аналогичное поведение системы будет в случае срабатывания защиты от перегрева замков дверей, если блокировка/ разблокировка замков происходит многократно в течение короткого промежутка времени. В этом случае необходимо подождать некоторое время, после чего работоспособность системы полностью восстановиться.
Блокировка замков без включения режима охраны с ПДУ
Для блокировки замков дверей с ПДУ без включения режима охраны необходимо дважды нажать кнопку 3 или удерживать ее в нажатом состоянии некоторое время. При этом замки всех дверей и замок двери задка заблокируются без включения режима охраны. Такая блокировка сопровождается трехкратным миганием указателей поворотов.
Если режим охраны уже включен, то двойное нажатие на кнопку 3 или удерживание ее в нажатом состоянии приведет к выключению режима охраны, замки дверей при этом останутся заблокированными. Отключение режима охраны сопровождается двухкратным миганием указателей поворотов.
Разблокировка замков дверей и выключение режима охраны
Для разблокировки всех замков дверей, замка двери задка и выключения режима охраны с ПДУ необходимо нажать на кнопку 2. Выключение режима охраны сопровождается двухкратным миганием указателей поворотов.
Если после разблокировки дверей и выключения режима охраны не будет открыта ни одна из дверей и не будет включено зажигание, то через 25 секунд двери автоматически заблокируются вновь и система автоматически перейдет в режим охраны. Возможность автоматического перехода в режим охраны с блокировкой дверей отражается частым миганием индикатора состояния системы в комбинации приборов.
Быстрая разблокировка замка двери водителя и выключение режима охраны
Система может быть переведена в режим быстрой
разблокировки двери водителя, когда при однократном нажатии на кнопку 2 ПДУ происходит только разблокировка двери водителя и выключение режима охраны, а при повторном нажатии на кнопку 2 - разблокировка остальных замков дверей и замка двери задка.
Для включения режима быстрой разблокировки необходимо при включенном зажигании нажать и удерживать кнопку 3 не менее 6 секунд, затем, не отпуская кнопки 3, нажать кнопку 2. Переход в режим быстрой разблокировки сопровождается двухкратным миганием указателей. Если впоследствии потребуется перевести систему в режим обычной разблокировки, необходимо повторить вышеописанную процедуру заново. Переход в режим обычной разблокировки будет сопровождаться однократным миганием указателей поворотов.
Поиск автомобиля на неосвещенной стоянке
При однократном нажатии на кнопку 4 ПДУ система мигает два раза указателями поворотов и издает один короткий звуковой сигнал.
Дистанционное включение тревожной сигнализации (режим “Паника”)
Для дистанционного включения тревожной сигнализации необходимо дважды нажать на кнопку 4 или удерживать ее в нажатом состоянии некоторое время. Тревожная сигнализация включится на 5 сек. Для того, чтобы отключить ее, необходимо нажать на любую кнопку.
Центральная блокировка и разблокировка замков дверей из салона
Для блокировки замков всех дверей (включая дверь задка) из салона автомобиля утопить кнопку блокировки в двери водителя. Для разблокировки - вытянуть кнопку блокировки в двери водителя.
Центральная блокировка имеет защиту замков дверей от перегрева. Если блокировка и разблокировка замков происходит многократно в течение короткого промежутка времени, то система перестает реагировать на нажатия клавиши. Если это произошло, не нажимать клавишу некоторое время, после чего работоспособность системы полностью восстановиться. Для
обеспечения безопасности - последняя команда всегда является командой разблокировки.
Центральная блокировка и разблокировка замков дверей снаружи автомобиля
Для блокировки замков всех дверей (включая дверь задка) снаружи автомобиля повернуть ключ в замке водительской двери по часовой стрелке. При повороте ключа против часовой стрелки происходит разблокировка замков всех дверей и замка двери задка. Если же система переведена в режим быстрой разблокировки, то происходит разблокировка только двери водителя.
Работа системы в режиме охраны
После включения режима охраны система следит за состоянием следующих зон охраны:
- боковые двери;
- капот;
- дверь задка;
- выключатель зажигания;
- замок водительской двери;
- напряжение аккумуляторной батареи;
- дополнительный датчик (не входит в штатную комплектацию, может быть установлен на АСС дополнительно).
Если в режиме охраны происходит какое-либо из следующих действий:
- открывание любой боковой двери;
- открывание капота;
- открывание двери задка;
- включение зажигания;
- разблокировка водительской двери;
- подключение аккумуляторной батареи после ее отключения;
- срабатывание дополнительного датчика,
то включается тревожная сигнализация в виде световой сигнализации указателями поворотов и звуковой сигнализации штатным звуковым сигналом автомобиля на время около 30 секунд.
Однократное нажатие любой кнопки на ПДУ, когда система находится в режиме тревоги, приводит к прекращению подачи сигналов тревоги, но система продолжает оставаться в режиме
охраны. Выключение режима охраны происходит после нажатия кнопки 2 на ПДУ.
В системе предусмотрен режим задержки включения дополнительного датчика в зону охраны на 20 секунд после включения режима охраны и ограничение на 10 срабатываний тревожной сигнализации от дополнительного датчика за один период включения режима охраны.
Определение числа обученных ключей
Система позволяет обучить не более четырех ключей. Для определения числа обученных ключей, необходимо разблокировать двери, открыть и закрыть любую из дверей (чтобы предотвратить автоматическую блокировку после 25 секунд) и однократно нажать на кнопку разблокировки. При этом индикатор состояния системы в комбинации приборов делает число вспышек, равное числу обученных ключей.
Замена элемента питания ПДУ
В ПДУ установлен литиевый элемент питания типа CR2032, начальное напряжение которого 3В. Если напряжение питания ПДУ находится в пределах нормы, то при каждом нажатии на любую кнопку пульта индикатор 1 загорается короткой вспышкой. Если при нажатии на любую кнопку индикатор загорается двумя короткими вспышками или не загорается вообще, то следует заменить элемент питания на новый.
Для этого выкрутить винт 1 (рис. 3.10), со стороны корпуса, противоположной кнопкам управления; при помощи плоской отвертки разъединить половинки корпуса; вытянуть плату из
Рис. 3.10. Пульт дистанционного управления: 1 -винт; 2 -элемент питания
корпуса; заменить элемент питания 2 на новый, соблюдая полярность подключения; вставить плату в корпус; защелкнуть половинки корпуса и закрутить винт.
Ресинхронизация кодов ПДУ
В случаях нажатия на кнопки пульта вне зоны действия радиоканала, счетчик плавающего кода в пульте выходит из синхронизации со счетчиком в блоке управления системой. Если количество нажатий кнопок пульта вне зоны приема сигнала системой превысило 1000, система перестает реагировать на команды пульта. В этом случае следует повторно провести процедуру обучения.
Полное обучение системы
При полном обучении системы все ранее записанные коды пультов будут удалены, а на их место будут записаны новые. Полное обучение проводится в случаях, когда утерян один их пультов и требуется его удаление из системы. Для входа в режим обучения требуется любой ПДУ из числа обученных в системе и счетчик синхронизации которого синхронизован с блоком управления. ПДУ, с помощью которого было инициировано обучение, становиться обучающим в данном сеансе обучения. В случаях, когда нарушается порядок обучения, система выходит из режима обучения без сохранения результата, а индикатор состояния системы в комбинации приборов гаснет.
Полное обучение проводится в следующем порядке:
1. Снять систему с охраны;
2. Оставить открытой одну из дверей;
3. Включить зажигание;
4. Не позднее, чем через 3 секунды после включения зажигания, нажать и удерживать кнопку 4 на обучающем пульте ;
5. Дождаться, когда индикатор состояния системы в комбинации приборов начнет быстро мигать, информируя о начале режима обучения (около 3 сек после нажатия кнопки 4);
6. Не позднее, чем через 3 секунды после начала мигания индикатора, удерживая кнопку 4, однократно нажать кнопку 2. Индикатор состояния системы перестает мигать и горит непрерывно. Кнопку 4 отпустить;
7. Не позднее, чем через 3 секунды, выключить и включить зажигание;
8. Не позднее, чем через 3 секунды после включения зажигания, нажать и удерживать кнопку 4 на обучаемом пульте;
9. Дождаться, когда индикатор состояния системы в комбинации приборов начнет быстро мигать (около 3 сек после нажатия кнопки 4);
10. Не позднее, чем через 3 секунды после начала мигания индикатора, удерживая кнопку 4, однократно нажать кнопку 2. Индикатор состояния системы перестает мигать и горит непрерывно. Кнопку 4 отпустить;
11. Не позднее, чем через 3 секунды, выключить и включить зажигание;
12. Повторить пункты 8-11 для других обучаемых ПДУ, число которых может быть от 0 до 3. Один и тот же пульт в режиме обучения регистрируется в системе только один раз, поэтому если система определяет, что этот пульт ПДУ уже зарегистрирован в текущем режиме обучения, то происходит выход из режима обучения без сохранения данных;
13. После того, как необходимое число ПДУ было зарегистрировано в системе, необходимо выполнить завершение обучения с помощью обучающего ключа. Для этого не позднее, чем через 3 секунды после включения зажигания, нажать и удерживать кнопку 4 на обучающем пульте. Успешное завершение обучения сопровождается троекратным миганием указателей поворотов, коротким звуковым сигналом, а также миганием индикатора состояния системы в комбинации приборов, число вспышек которого равно числу ПДУ, обученных в текущем сеансе обучения.
Быстрое обучение системы
Быстрое обучение системы отличается от полного тем, что не происходит удаления текущих обученных ПДУ. Новые коды ПДУ дописываются в свободные ячейки памяти, при этом общее число обученных ключей не должно превышать четырех. Для быстрого обучения необходимо снять систему с охраны и закрыть все двери, а далее выполнить пункты 3-13, описанные в подразделе "Полное обучение системы".
СИСТЕМА БЕЗОПАСНОЙ ПАРКОВКИ
Система безопасной парковки (СБП) предназначена для предупреждения водителя путем подачи звукового сигнала о наличии препятствий (объектов), расположенных вне поля зрения водителя, при движении автомобиля задним ходом со скоростью не более 5 км/ч.
СБП значительно облегчает управление автомобилем при движении задним ходом и парковке в стесненных условиях, условиях плохой видимости, в темное время суток и при загрязненных стеклах и зеркалах.
Внимание! Система безопасной парковки является вспомогательным оборудованием, которое облегчает управление автомобилем, но не берет его на себя, поэтому предприятие-изготовитель не несет ответственности за возможные повреждения при движении задним ходом.
Порядок работы
Включение СБП происходит при включении передачи заднего хода автомобиля. Включение СБП подтверждается одиночным кратковременным звуковым сигналом.
При включении осуществляется диагностика СБП. При отсутствии неисправностей СБП переходит в рабочий режим.
Если в результате диагностики определен отказ блока управления или имеются нарушения электрических цепей, отказы датчиков системы, то, при исправном зуммере, подается звуковая сигнализация об отказе СБП. При этом сигнал зуммера отличается от сигнала включения и сигналов рабочего режима. Форма звукового сигнала при отказе СБП для каждого из датчиков (ДСП) представлена на рис. 3.11.
В рабочем режиме работы СБП происходит определение расстояния до препятствия. При наличии препятствия зуммер выдет тональный звуковой сигнал частотой тона от 2 до 4 кГц.
Первый звуковой сигнал соответствует появлению препятствия сзади автомобиля на расстоянии не более 2 м. По мере уменьшения расстояния до препятствия частота повторения звукового сигнала должна увеличиваться. При расстоянии до препятствия менее 0,5 м звуковой сигнал становится непрерывным. Зависимость частоты повторения звукового сигнала от расстояния до препятствия представлена ниже в
Рис. 3.11. Форма звукового сигнала при отказе СБП: ДСП А, ДСП В, ДСП С, ДСП D -отказ датчика системы (А, В, С, D Рис.3.12)
Рис. 3.12.
Расположение датчиков СБП: А, В, С, D -датчики
таблице. Погрешность определения расстояния допрепятствия в интервале от 0,1 до 1,0 м не более ±0,025 м.
Выключение СБП происходит при выключении передачи заднего хода автомобиля. В выключенном состоянии СБП звуковая сигнализация отсутствует.
|
Расстояние до препятствия, м |
Менее 0,5 |
0,5 |
2,0 |
Более 2,0 |
|
Частота повторения тонального звукового сигнала, Гц |
постоянный сигнал |
9 |
2 |
нет сигнала |
Внимание!
Категорически запрещается самостоятельное изменение электрической схемы и конструкции СБП.
При эксплуатации необходимо содержать ДСП в чистоте, не подвергать их механическим воздействиям. Поверхность ДСП следует очищать от загрязнений мягкой тканью, слабо смоченной в мыльном растворе. При удалении с ДСПзагрязнений следует избегать давления на его центральную часть во избежание повреждения.
СБП может не формировать звуковой сигнал о наличии препятствия сзади в следующих случаях:
- препятствие находится на расстоянии менее 0,1 м;
- препятствием являются острые или тонкие предметы (тросы, цепи), столбики диаметром менее 10 см;
- поверхность препятствия из материала, поглощающего ультразвук (снег, одежда или другие пористые материалы);
- препятствие имеет гладкую округлую форму или гладкую наклонную поверхность (сильно наклонено);
- датчики системы покрыты снегом, льдом или грязью;
- автомобиль движется задним ходом со скоростью более 5 км/ч;
- неисправны элементы системы или электрические цепи.
СБПможет формировать ложный звуковой сигнал о наличии препятствия сзади в следующих случаях:
- при установке дополнительного оборудования или изменении высоты установки бампера автомобиля;
- при наличии источников повышенного шума в пределах действия ДСП;
- при передвижении по дорогам с неровной поверхностью (дороги без покрытия, неровности, дороги с уклоном, высокая трава);
- при сильном дожде или обильных брызгах;
- во время буксировки прицепа;
- при загрязнении датчиков системы (снегом, льдом или грязью);
- при перегруженности задней части автомобиля;
- при неисправностях элементов системы или электрических цепей.
Элементы системы безопасной парковки относятся к неремонтируемым, невосстанавливаемым изделиям.
ОБОРУДОВАНИЕ САЛОНА И КУЗОВА АВТОМОБИЛЯ Отопление и вентиляция салона
Для подогрева поступающего в салон воздуха поверните рукоятку 3 (рис. 3.13) по часовой стрелке. Рукояткой 2 можно изменять направление потока воздуха согласно пиктограммам, нанесенным на лимб рукоятки:
Ц^ -обдув ветрового стекла;
^ -обдув ветрового стекла, передних боковых стекол и салона через сопла обдува, если открыты заслонки (см. рис. 3.14);
^ -обдув салона через сопла, если открыты заслонки;
у^ -обдув ног;
^^ -обдув ветрового стекла, передних боковых стекол, ног и обдув салона через сопла, если открыты заслонки.
Рукояткой 1 включается электродвигатель вентилятора и выбирается его скорость вращения.
Направление потоков воздуха можно изменять с помощью рычажков 2 (см. рис. 3.14) на соплах обдува.
Для ускорения прогрева салона на стоящем автомобиле включайте режим рециркуляции (см. рис. 3.5). При движении режим рециркуляции необходимо отключать, так как это приводит к запотеванию стекол.
На автомобилях с дополнительным отопителем салона при необходимости можно увеличить интенсивность обогрева пассажиров заднего трехместного сиденья. Для этого включите электродвигатель вентилятора и электродвигатель насоса 3
Рис. 3.13. Пульт управления отопителем:
1 -выключатель вентилятора отопителя; 2 -рукоятка управления направлением подачи воздуха; 3 -рукоятка управления краном отопителя
Рис. 3.14. Сопло обдува:
1 -рычажок управления заслонкой; 2 -рычажок управления потоком воздуха
(рис. 3.15) дополнительного отопителя выключателем 5, расположенным на задней панели напольного контейнера.
Направление потоков воздуха регулируется двумя соплами обдува 3.
На автомобилях без дополнительного отопителя салона для увеличения интенсивности обогрева салона включите электронасос отопителя выключателем 3 (см. рис. 3.5).
Рис. 3.15. Дополнительный отопитель:
1 -шланги отопителя; 2 -шланг подачи охлаждающей жидкости в отопитель; 3 -электродвигатель с насосом; 4 -штуцер; 5 -выключатель дополнительного отопителя; 6 -уплотнитель дефлектора; 7 -дефлектор;
8 -радиатор и электровентилятор дополнительного отопителя в корпусе; 9 -кронштейн; 10 -воздуховод обогрева ног задних пассажиров; 11 -корпус вещевого ящика облицовки туннеля пола
Вентиляция салона
Приточная вентиляция салона осуществляется по тем же каналам при крайнем положении против часовой стрелки рукоятки 3 (см. рис. 3.13). Вытяжная вентиляция осуществляется за счет отверстий в задней обивке крыши и внутренней панели проема двери задка, через опускные стекла дверей, а также через люк крыши при его наличии.
На часть автомобилей устанавливается люк вентиляции с электроприводом (рис. 3.16).
ВНИМАНИЕ! При эксплуатации необходимо соблюдать требования безопасности и рекомендации по пользованию, изложенные в инструкции на люк, приложенной к автомобилю. Водитель обязан ознакомить пассажиров с требованиями безопасности и контролировать соблюдение правил безопасного использования люка.
Не высовывайте из открытого люка руки и другие части тела, следите, чтобы этого не делали пассажиры.
Особенно внимательны будьте при закрывании люка. Чтобы не травмировать себя или пассажиров, прежде чем привести
Рис. 3.16. Люк вентиляции, плафоны освещения, внутреннее зеркало заднего вида, противосолнечные козырьки и поручень:
1, 4 -противосолнечные козырьки; 2 -внутреннее зеркало заднего вида; 3 -плафоны индивидуальной подсветки; 5 -клавиша управления люком;
6 -люк вентиляции; 7 -поручень; 8 -регулятор по высоте крепления ремня безопасности; 9 -крючок для одежды; 10 -плафон освещения
салона
люк в движение убедитесь, что он ничего не защемит. В случае, если это произошло, немедленно включите открывание люка.
Не разрешайте детям пользоваться люком.
Кондиционер
В зависимости от комплектации на автомобиле может быть установлен кондиционер фирмы “Delphi”.
Влючение кондиционера:
1. Запустите двигатель автомобиля.
2. Установите рукоятку 3 (см. рис. 3.13) управления краном отопителя в положение “Закрыто”.
3. Нажмите кнопку ;ф (см. рис. 3.5) включения кондиционера. Кондиционер включился. Об этом свидетельствует включившийся сигнализатор, находящийся в кнопке выключателя кондиционера.
4. Рукояткой 1 (см. рис. 3.13) выключателя вентилятора отопителя выберите желаемую скорость вращения вентилятора. При нахождении рукоятки в положении “О” вентилятор включается автоматически и обеспечивает минимальную циркуляцию воздуха через испаритель кондиционера.
5. Рукояткой 2 можно изменять направление потока воздуха.
6. Для более эффективного охлаждения кнопкой ГД (см. рис. 3.5) включите режим рециркуляции (забор воздуха будет осуществляться из салона автомобиля).
Предупреждение. Продолжительное использование режима рециркуляции может привести к запотеванию стекол и к тому, что в салоне станет душно.
7. В случае необходимости подсушить воздух в салоне автомобиля откройте рукояткой 3 кран отопителя (при работающем кондиционере). Одновременное использование систем кондиционирования и отопления позволит Вам создать комфортные условия в салоне.
Выключение кондиционера:
1. Нажмите кнопку ;ф (см. рис. 3.5) включения кондиционера еще раз.
2. Кондиционер выключился. Об этом свидетельствует выключившийся сигнализатор, находящийся в кнопке выключателя кондиционера.
3. Если при работе кондиционера рукоятка 1 (см. рис. 3.13) выключателя вентилятора отопителя салона была установлена в положение “I”, “II” или “III”, то в этом случае после выключения кондиционера автоматически включается режим вентиляции салона.
При работе кондиционера, в зависимости от температуры окружающей среды, скорости автомобиля, температуры хладагента в системе кондиционирования, величины давления хладагента и температуры испарителя постоянно меняются.
При понижении температуры испарителя до плюс 3,5°С происходит отключение компрессора и прекращение циркуляции хладагента через испаритель. Тем самым предотвращается повреждение сот испарителя из-за его обмерзания и повреждение компрессора кондиционера. При повышении температуры до плюс 5 °С происходит повторное включение компрессора кондиционера и возобновление циркуляции хладагента через испаритель.
При повышении температуры хладагента в системе кондиционирования происходит повышение его давления. При повышении давления хладагента до значения выше допустимого, во избежание разгерметизации системы, происходит отключение компрессора. После понижения давления хладагента до допустимого значения происходит повторное включение компрессора. При понижении давления хладагента до значения ниже минимально допустимого по причине утечки хладагента из системы, вызванной различными причинами, также, во избежание повреждения компрессора, происходит отключение компрессора кондиционера.
ВНИМАНИЕ! При достижении двигателем автомобиля аварийной температуры охлаждающей жидкости (перегреве двигателя) компрессор кондиционера отключается. После понижения температуры охлаждающей жидкости до рабочей температуры происходит повторное включение компрессора кондиционера.
Плафоны освещения
Плафоны 3 (см. рис. 3.16) индивидуальной подсветки включаются и выключаются поворотом наружного кольца. Направление подсветки изменяется поворотом подвижной части плафона.
При закрытых дверях включение и выключение переднего плафона 10 и заднего плафона (на рис. не показан) освещения салона осуществляется нажатием на короткие стороны их рассеивателей.
При открытии двери задка автоматически включается задний плафон, после закрытия двери гаснет.
При открытии любой боковой двери включается плафон 10. После закрытия всех боковых дверей плафон выключается, если включено зажигание. Если зажигание выключено, то после закрытия дверей плафон продолжает гореть еще 8-12 секунд или до момента включения зажигания.
Внутреннее зеркало заднего вида (см. рис. 3.16)
Внутреннее зеркало регулируется поворотом зеркала на его шарнире. В темное время суток, чтобы избежать ослепления водителя движущимся сзади транспортом, измените угол наклона зеркала рычажком, расположенным снизу.
Наружное зеркало заднего вида
Выбор оптимального положения наружного зеркала осуществляется рукояткой 3 (см. рис. 3.19) или рукояткой 7 (см. рис. 3.7).
Противосолнечные козырьки (см. рис. 3.16)
В случае необходимости рекомендуем устанавливать противосолнечные козырьки в одно из двух положений: откинуть вниз или откинуть вниз и повернуть в сторону к стеклу двери.
Двери
ВНИМАНИЕ! Прежде чем открыть дверь, убедитесь в том, что это не создаст помех другим участникам дорожного движения.
Прежде чем закрыть дверь, убедитесь в том, что она ничего не защемит.
Снаружи замки передних дверей и дверь задка запираются ключом. Для открывания двери, если она не заперта, потяните за подвижную часть 2 (рис. 3.17) или 3 (рис. 3.18) ручки двери.
Изнутри дверь открывается при повороте ручки 2 (рис. 3.19, 3.20) на себя. Блокируются двери нажатием на кнопку 1.
Стекла боковых дверей опускаются и поднимаются вращением ручки 5 (рис. 3.19) или с помощью выключателей
Рис. 3.17. Передняя дверь:
1 -замок; 2 -подвижная часть ручки двери; 3 -корпус ручки двери
Дверь задка:
ручки открывания двери; 2 -замок;
4 -корпус ручки двери
Рис. 3.18.
1 -рычаг блокировки внутренней 3 -подвижная часть ручки двери;
1, 2, 3, 4 (см. рис. 3.7) электростеклоподъемников.
ВНИМАНИЕ! Водитель обязан ознакомить пассажиров с требованиями безопасности и контролировать соблюдение правил безопасного использования электростеклоподъемников.
Не высовывайте из открытых окон автомобиля руки и другие части тела, следите, чтобы этого не делали пассажиры.
Особенно внимательны будьте при закрывании окон. Чтобы не травмировать себя или пассажиров, прежде чем привести стекло в движение убедитесь, что оно ничего не защемит. В
Рис. 3.19. Передняя дверь:
1 -кнопка блокировки;
2 -ручка открывания двери; 3 -рычаг управления положением наружных зеркал заднего вида; 4 -подлокотник;
5 -ручка стеклоподъемника; 6 -место установки громкоговорителя; 7 -карман
Рис. 3.20. Дверь задка:
1 -кнопка блокировки; 2 -ручка открывания двери; 3 -поручень; 4 -крышка фиксатора запасного колеса; 5 -дополнительный сигнал торможения
случае, если это произошло, немедленно включите открывание окна.
Не разрешайте детям пользоваться электростеклоподъемниками.
На автомобиле установлена система электроблокировки дверных замков. При запирании ключом левой передней двери или при нажатии на кнопку блокировки замка левой передней двери одновременно блокируются замки всех дверей автомобиля. Находясь внутри салона, можно заблокировать или разблокировать индивидуально любую (кроме левой передней) дверь, пользуясь кнопкой блокировки соответствующей двери.
ВНИМАНИЕ! Выходя из автомобиля, не оставляйте в нем ключ от дверей и зажигания. Находящиеся внутри пассажиры, особенно дети, могут случайно заблокировать все двери.
Замки задних дверей и двери задка имеют рычаг блокировки внутренней ручки открывания двери ("детский замок"), предотвращающий открывание этихдверей изнутри. Внутренняя ручка блокируется перемещением рычага 1 (см. рис. 3.18) вниз.
Сиденья
ВНИМАНИЕ! Не производите регулировку водительского сиденья во время движения автомобиля.
Водительское сиденье и угол наклона рулевой колонки необходимо регулировать так, чтобы обеспечить правильную посадку: водитель должен достаточно плотно опираться на спинку сиденья; обе руки, удерживая верхнюю часть рулевого колеса, должны быть слегка согнуты в локтевых суставах; ноги, при нажатии на педали до упора, не должны быть полностью выпрямлены.
Подголовники сидений должны быть отрегулированы по высоте так, чтобы при откидывании головы назад затылок соприкасался со средней частью подголовника.
После регулировки положений передних сидений необходимо отрегулировать положение верхней точки крепления ремней безопасности.
Изменение высоты установки подголовника или его снятие осуществляется вертикальным перемещением подголовника:
- вверх - усилием руки (до крайнего верхнего положения);
- вниз - при нажатой кнопке фиксатора подголовника.
Снятие - перемещением из крайнего верхнего положения вверх при нажатой кнопке фиксатора подголовника.
Наклон подголовника сиденья водителя имеет три фиксированных положения.
Регулировка передних сидений в продольном направлении осуществляется с помощью рычага 1 (рис. 3.21): поверните рычаг вверх, переместите сиденье и отпустите рычаг.
Регулировка наклона спинки и раскладывание сиденья в положение для отдыха осуществляется с помощью рычага 4: поднимите рычаг вверх, переместите спинку и отпустите рычаг.
На спинке сиденья имеется механизм поясничной поддержки, имеющий три фиксированных положения и позволяющий выбрать наиболее удобное положение посадки. Регулировка осуществляется поворотом рычага 5.
Сиденье водителя дополнительно имеет регулировку подушки по высоте. Ручкой 2 осуществляется регулировка передней части подушки, ручкой 3 - задней.
Заднее трехместное сиденье (рис. 3.22) состоит из одноместной и двухместной секций. Каждая из этих секций может быть сложена для увеличения объема грузового помещения или
Рис. 3.21. Переднее сиденье:
1 -рычаг фиксации продольного перемещения сиденья; 2 -ручка регулировки по высоте передней части подушки; 3 -ручка регулировки по высоте задней части подушки; 4 -рычаг регулировки наклона спинки сиденья; 5 -рычаг регулировки поясничной поддержки спинки сиденья; 6 -кнопка фиксатора подголовника
разложена в положение для отдыха. Под сиденьем расположен напольный контейнер 1.
Образование грузовой площадки:
- потяните за один из рычагов 3 и наклоните спинку вперед до упора в подушку сиденья;
- потяните за одну из ручек 2 и опрокиньте сиденье вперед в вертикальное положение (при необходимости подвиньте передние сиденья вперед);
- зафиксируйте в грузовом положении секцию заднего сиденья за стойку подголовника переднего сиденья ремнем, находящимся в кармане основания подушки сиденья;
-сложите вторую секцию.
Для возврата секции сиденья в исходное положение опрокиньте ее назад до срабатывания фиксаторов и поднимите спинки так же до срабатывания фиксаторов.
Для доступа к напольному контейнеру 1 поднимите одну из секций заднего сиденья описанным выше способом.
Раскладывание секции сиденья в положение для отдыха осуществляется с помощью одного из рычагов 3: поднимите рычаг вверх, переместите спинку и отпустите рычаг.
Пробка топливного бака
Для доступа к пробке топливного бака откройте лючок (рис.
3.2з). Капот
ВНИМАНИЕ! Прежде чем закрыть капот убедитесь, что он ничего не защемит. При закрывании капота проверьте надежность срабатывания замка.
Рис. 3.22. Заднее трехместное сиденье:
1 -напольный контейнер; 2 -ручка фиксатора подушки; 3 -рычат фиксатора спинки; 4 -кнопка фиксатора подтоловника
Рис. 3.23. Лючок и пробка топливного бака
Для того чтобы открыть капот, потяните за рычаг 22 (см. рис. 3.1), через образовавшуюся щель между капотом и облицовкой радиатора нажмите на скобу крючка 1 (рис. 3.24) и поднимите капот. На автомобилях установлены газонаполненные упоры 2.
Ремни безопасности
ПОМНИТЕ! Ремни безопасности являются эффективным средством защиты водителя и пассажиров автомобиля от тяжелых последствий дорожно-транспортных происшествии (ДТП). Использование ремней безопасности обязательно!
ВНИМАНИЕ! Ремни подлежат обязательной замене, если имеют потертости или повреждения и если подверглись критической нагрузке в результате ДТП.
Замена ремней безопасности должна производиться только на фирменных СТО ОАО "УАЗ" (адреса СТО приведены в сервисной книжке).
Ремни безопасности предназначены для индивидуального пользования водителями и взрослыми пассажирами ростом не ниже 144 см и массой не менее 36 кг.
Ваш автомобиль оборудован ремнями безопасности (рис. 3.25) для всех сидений, кроме задних дополнительных сидений. Ремни сидений - диагонально-поясные с втягивающим устройством. Чтобы пристегнуть ремень, потяните за язычок 4 ремня и, не перекручивая лямок, вставьте его в замок 5 до щелчка. Для отстегивания ремня нажмите на красную кнопку замка.
Положение верхней точки крепления переднего ремня безопасности регулируйте при помощи рычага 2 так, чтобы
Рис. 3.24. Капот: 1 -запорный крючок; 2 -упор
ремень не касался шеи и не давил на плечо, причем для увеличения высоты достаточно нажать вверх направляющий кронштейн.
При отсутствии рычага, положение верхней точки крепления ремня безопасности регулируйте перемещением направляющего кронштейна ремня вверх или вниз. Для этого потяните кронштейн на себя, нажав большим пальцем руки на декоративный колпачек болта, и переместите направляющий кронштейн.
Содержите лямки и пряжки ремня в чистоте. В случае их загрязнения очищайте их мягким мыльным раствором, не содержащим щелочи.
Предохраняйте лямки от трения об острые кромки.
Рекомендуется оберегать от воздействия прямых солнечных лучей.
С целью очистки пряжек от пыли не реже одного раза в год продувайте их сжатым воздухом.
Запрещается:
- перекручивание лямки, ее складывание по длине, а также чрезмерная слабина;
Рис. 3.25. Ремни безопасности:
1 -регулятор по высоте; 2 -рычаг регулятора; 3 -направляющий кронштейн;
4 -язычок; 5 -замок; 6 -инерционная катушка; 7 -кронштейн крепления инерционной катушки
- разглаживание лямки утюгом;
- пристегивание ремнем ребенка, сидящего на коленях пассажира;
-внесение потребителем каких-либо изменений в
конструкцию ремня.
Ремни подлежат обязательной замене, если имеют потертости или повреждения и если подверглись критической нагрузке в результате ДТП.
Стеклоочистители, водяные насосы очистки стекол (смыватель)
Для удобства очистки ветрового стекла вручную рычаги со щетками фиксируются в откинутом положении.
В холодное время года перед включением стеклоочистителей убедитесь в том, что их щетки не примерзли.
Не рекомендуется работа щеток по сухому стеклу и не допускается попадание топлива и масла на резину щеток.
В процессе эксплуатации следите за исправностью стеклоочистителей, надежностью крепления их деталей; периодически очищайте стекла и резиноленты щеток от грязи и жировых отложений.
При сезонном обслуживании включайте на 15-20 мин стеклоочистители, при этом рычаги со щетками ветрового стекла должны быть в откинутом положении, а рычаг со щеткой заднего стекла - снят.
После 18-24 месяцев эксплуатации, а также по мере необходимости заменяйте щетки или резиноленты щеток.
Бачок 3 (рис. 3.26) смывателя заполняйте чистой водой (летом) или специальной незамерзающей жидкостью (зимой).
Для слива воды из бачка смывателя отсоедините от него электропроводку и трубки смывателя, отверните два болта крепления кронштейна бачка и выньте бачок вместе с кронштейном.
Направление струи воды регулируйте, изменяя положение шариков жиклера при помощи иголки, вставленной в канал (подающее отверстие) шариков.
При засорении жиклера отсоедините от него трубку и продуйте жиклер воздухом.
Во избежание выхода из строя насосов смывателя следите за уровнем жидкости в бачке, не допуская его снижения ниже 20 мм над плоскостью дна.
Не держите смыватели включенными более 10 с.
Рис. 3.26. Подкапотное пространство (фрагмент):
1 -расширительный бачок системы охлаждения двигателя; 2 -электронасос дополнительного отопителя салона; 3 -бачок смывателя; 4 -воздушный фильтр; 5 -радиатор системы охлаждения двигателя
Торгующая организация обязана выставить автомобиль на продажу только после проведения работ по предпродажной подготовке, указанных в сервисной книжке.
В случае доставки автомобиля к месту продажи автоперегоном с превышением максимально допустимого пробега (100 км, ОСТ 37.001.082-82) необходимо предварительно выполнить комплекс работ по подготовке автомобиля к перегону в объеме предпродажной подготовки.
Долговечная и безотказная работа автомобиля в значительной степени зависит от приработки деталей в начальный период эксплуатации.
Продолжительность обкатки 2500 км пробега.
Соблюдайте на период обкатки следующие указания:
1. Частота вращения коленчатого вала двигателя должна быть не более 3/4 от номинальной.
2. Не превышайте номинальной величины нагрузки на автомобиль.
3. Избегайте движения по тяжелым дорогам (глубокая грязь, песок, крутые подъемы и т. п.).
4. Буксирование прицепа не допускается.
5. Во время обкатки не отключайте ступицы передних колес, при наличии муфт отключения (метка на диске муфты должна совпадать с цифрами 4х4 на крышке муфты).
6. Не заменяйте в двигателе и агрегатах масла, залитые на заводе.
7. Проверяйте и, при необходимости, регулируйте натяжение ремней привода вспомогательных агрегатов, так как в период обкатки происходит их наибольшая вытяжка.
8. Следите за температурой тормозных барабанов задних тормозов и в случае значительного их нагревания отрегулируйте тормоза.
9. Следите за температурой ступиц колес и при значительном их нагревании ослабьте затяжку подшипников.
10. Следите за состоянием всех креплений автомобиля. Тщательно следите за соединениями трубопроводов, при обнаружении течи масла, топлива, жидкостей устраняйте ее.
11. Объем и срок технического обслуживания автомобиля в период обкатки приведен в сервисной книжке.
ОБЩИЕ ПОЛОЖЕНИЯ
ВНИМАНИЕ! Категорически запрещается производить пуск и прогрев двигателя в закрытом помещении, не имеющем хорошей вентиляции, во избежание отравления угарным газом.
Запрещается пуск бензинового двигателя с неправильно установленными высоковольтными проводами от катушек зажигания к свечам или с низковольтными проводами к катушкам зажигания. В этом случае пуск может привести к слому зубьев венца маховика и разрушению стартера.
Перед пуском двигателя проверьте наличие охлаждающей жидкости в системе охлаждения, наличие топлива, уровень масла в картере двигателя и бачке гидроусилителя рулевого управления.
Установите рычаг переключения передач в нейтральное положение.
Помните, что (в целях исключения случаев ошибочного включения стартера при работающем двигателе) в конструкции механизма выключателя зажигания (выключателя пуска двигателя) применена блокировка, дающая возможность повторного пуска двигателя только после возврата ключа в положение "0" (см. рис. 3.8).
Включайте стартер на время не более 5 сек. Как только двигатель начнет работать, немедленно отпустите ключ выключателя зажигания, он автоматически вернется в положение "I". Прогрейте двигатель.
Запрещается с целью ускорения прогрева производить его с большой частотой вращения коленчатого вала.
Не начинайте движение на автомобиле с непрогреты1м двигателем.
Температура охлаждающей жидкости прогретого двигателя ЗМЗ-409 должна быть не ниже 60 °C.
После запуска двигателя F1A (Iveco) необходимо дать ему поработать 1 - 2 минуты. Начинать движение следует с умеренной нагрузкой. Оптимальные условия эксплуатации двигателя обеспечиваются при температуре охлаждающей жидкости плюс 60 - 95 °C.
ПУСК ДВИГАТЕЛЯ ЗМЗ-409
Пуск холодного двигателя при температуре от -20 °C и выше
1. Включите зажигание. При этом должен включиться электробензонасос, работа которого прослушивается при неработающем двигателе.
2. Если пуск производится после продолжительной остановки, рекомендуется подождать, пока электро-бензонасос отключится (приблизительно 5 сек).
3. При исправной системе управления контрольная лампа неисправности (на панели приборов) должна включиться и погаснуть. Если контрольная лампа не гаснет, то необходимо определить и устранить неисправность (см. раздел "Диагностика").
Внимание! Работа двигателя с неисправными системами (контрольная лампа неисправности двигателя постоянно горит) приводит к выходу из строя нейтрализатора и датчика концентрации кислорода в отработавших газах.
4. Нажмите на педаль сцепления до упора.
5. Включите стартер.
6. После запуска двигателя отпустите ключ (выключите стартер).
Повторную попытку запуска двигателя осуществляйте не ранее чем через 15-20 сек.
При пуске двигателя не следует нажимать на педаль управления дроссельной заслонкой.
После пуска двигателя система его управления автоматически установит повышенные обороты холостого хода для прогрева двигателя и будет постепенно, по мере прогрева двигателя, снижать их до минимальных.
Если двигатель не пускается после трех попыток, прекратите пуск, выясните и устраните неисправность.
Пуск холодного двигателя при температуре ниже -20 °C.
Пуск холодного двигателя при низкой температуре производите после его предварительного прогрева (паром, горячим воздухом и др.).
Дальнейшая последовательность операций остается такой же, как и в случае пуска холодного двигателя при температуре окружающего воздуха от -20 °С и выше.
Пуск горячего двигателя
Последовательность операций остается такой же, как и в случае пуска холодного двигателя при температуре окружающего воздуха от -20 °C и выше.
Если двигатель не запускается с трех попыток, нажмите до упора на педаль акселератора и на 2-3 секунды включите стартер. При этом блок управления отработает функцию "Режим продувки цилиндров двигателя", после чего повторите попытку пуска.
Остановка двигателя ЗМЗ-409
Для остановки двигателя поверните ключ в выключателе зажигания в положение "0". Перед остановкой двигателя рекомендуем дать ему поработать в течение 1-2 минут с малой частотой вращения коленчатого вала.
ПУСК ДВИГАТЕЛЯ F1A (IVECO)
Пуск холодного двигателя
1. Включите зажигание. При этом должен включиться топливный электронасос, работа которого прослушивается при неработающем двигателе.
2. Если один из температурных датчиков (охлаждающей жидкости, воздуха или топлива) регистрирует температуру ниже плюс 10 °C , то при включении зажигания загорается сигнализатор включения свечей накаливания. Продолжительность предпускового прогрева свечами накаливания зависит от температурных условий и от степени заряда аккумуляторной батареи.
4. Нажмите на педаль сцепления до упора.
5. Включите стартер.
6. После запуска двигателя отпустите ключ (выключите стартер).
После пуска двигателя сигнализатор включения свечей накаливания гаснет, а свечи накаливания некоторое время продолжают подогрев двигателя.
Повторную попытку запуска двигателя осуществляйте не ранее чем через 15-20 сек.
Если двигатель не пускается после трех попыток, прекратите пуск, выясните и устраните неисправность.
Пуск горячего двигателя
Если все температурные датчики регистрируют температуру выше плюс 10 °C , то при включении зажигания сигнализатор включения свечей накаливания загорается примерно на 2 сек. и гаснет. Двигатель готов к пуску.
Остановка двигателя F1A (Iveco)
Для остановки двигателя поверните ключ в выключателе зажигания в положение "0".
Перед остановкой двигателя необходимо дать ему поработать в течение 1-2 минут с малой частотой вращения коленчатого вала.
ГЛАВА 7. ОСОБЕННОСТИ ВОЖДЕНИЯ АВТОМОБИЛЯ В РАЗЛИЧНЫХ ДОРОЖНЫХ, МЕТЕОРОЛОГИЧЕСКИХ И КЛИМАТИЧЕСКИХ
УСЛОВИЯХ
Работа автомобиля и срок службы во многом зависят от особенностей его вождения. Правильное вождение автомобиля дает ему возможность двигаться с высокой средней скоростью и небольшими расходами топлива при преодолении труднопроходимых участков дороги. Трогание с места на горизонтальных участках дорог с твердым покрытием или под уклон рекомендуем начинать на второй передаче. Во всех остальных случаях движение начинать на первой передаче. Переключение передач и включение переднего моста производите при выключенном сцеплении.
Передачи переключайте плавным нажатием на рычаг без рывков. Если перед троганием с места не удается включить требуемую передачу, то слегка отпустите педаль сцепления, а затем вторично выключите сцепление и включите передачу.
Передачу заднего хода в коробке передач включайте только после полной остановки автомобиля. При движении автомобиля не держите ногу на педали сцепления, так как это приводит к частичному выключению сцепления и к пробуксовыванию диска. На скользкой дороге автомобиль необходимо вести равномерно, с небольшой скоростью.
При торможении двигателем полностью отпускайте педаль акселератора.
Затормаживайте автомобиль плавно, постепенно увеличивая нажатие на педаль тормоза. Любое торможение увеличивает износ шин и повышает расход топлива. При торможении не доводите колеса до скольжения, так как в этом случае увеличивается тормозной путь и износ шин. Кроме того, сильное и резкое торможение на скользкой дороге может вызвать занос автомобиля.
При движении автомобиля по бездорожью (песок, грязь, снег и т. д.), скользкой дороге, на больших подъемах (свыше 15°) и другим тяжелым участкам дороги не допускайте перегрузки двигателя. В этих условиях включайте передний мост, а перед движением в особо тяжелых условиях также и понижающую передачу в раздаточной коробке. Перед включением переднего моста включите передние колеса. Включение и выключение переднего моста производите при движении автомобиля, а понижающую передачу в раздаточной коробке включайте только при полной остановке автомобиля.
Преодоление крутых подъемов и спусков. Движение автомобиля по дорогам с крутыми подъемами и спусками требует от водителя повышенного внимания и быстроты действия. Заранее определите крутизну подъема и включите ту передачу в коробке передач, которая обеспечит необходимое тяговое усилие на колесах, чтобы не переключать передачи на подъеме. Крутые подъемы преодолевайте на понижающей передаче в раздаточной коробке и на первой передаче в коробке передач. Подъемы преодолевайте без остановок и по возможности без поворотов. Короткие подъемы при удобном подъезде и сравнительно ровной поверхности дороги преодолевайте с разгона без включения понижающей передачи в раздаточной коробке, на второй или третьей передаче в коробке передач в зависимости от крутизны подъема. Если по каким-либо причинам подъем преодолеть невозможно, то примите все меры предосторожности и медленно спуститесь вниз, включив передачу заднего хода. Спускайтесь постепенно, не давая разгона автомобилю и не выключая сцепления. При преодолении крутых спусков предусматривайте меры, обеспечивающие безопасность спуска. При преодолении длинного спуска (более 50 м) предварительно оцените его крутизну и включите те передачи в коробке передач и
раздаточной коробке, на которых автомобиль стал бы преодолевать подъем подобной крутизны. Такие спуски преодолевайте, используя торможение двигателем.
ВНИМАНИЕ! Запрещается преодолевать спуск с выключенной передачей в коробке передач или раздаточной коробке или с выключенным сцеплением.
Не допускайте большой частоты вращения коленчатого вала на спуске, притормаживайте периодически автомобиль, снижая его скорость движения.
Преодоление канав, придорожных кюветов и рвов производите на небольшой скорости с включенным передним мостом в направлении, перпендикулярном склону, с учетом размеров автомобиля, определяющих его проходимость. Не переезжайте препятствия с ходу, если возможен удар в колеса.
При преодолении канав и рвов учитывайте возможность косого вывешивания автомобиля и застревания его из-за пробуксовки колес.
Движение по грязным проселочным и профилированным дорогам на глинистом и черноземном грунте. На глинистых и черноземных грунтах после сильного дождя автомобиль при движении может получать боковые соскальзывания. Поэтому проявляйте большую осторожность при выборе направления движения. Во время движения выбирайте относительно горизонтальные участки пути, по возможности пользуясь уже проложенной колеей, что предотвращает боковые заносы автомобиля. Особые затруднения для вождения могут возникнуть при движении автомобиля на чрезмерно мокрых профилированных дорогах, имеющих крутой профиль и глубокие кюветы. По таким дорогам следует двигаться по гребню осторожно и с малой скоростью.
Преодоление заболоченных участков производите по прямой, не делая крутых поворотов и остановок. Начинайте движение плавно, без рывков. Двигайтесь с включенными передним мостом и понижающей передачей в раздаточной коробке, с передачей в коробке передач, которая бы обеспечивала необходимое тяговое усилие на ведущих колесах без пробуксовки. Поворачивайте плавно, с большим радиусом, не снижая скорости движения автомобиля, что исключит возможность срыва дерна и пробуксовки колес.
Избегайте движения по следу, проложенному впереди идущим автомобилем.
При преодолении песчаных участков двигайтесь плавно, избегая рывков и остановок. Повороты производите плавно и с большим радиусом. При движении пользуйтесь возможно более высокими передачами при включенном переднем мосте, преодолевайте с ходу наметы и короткие песчаные подъемы. Не допускайте пробуксовки колес. Заблаго-временно определяйте дорожную обстановку и включайте ту передачу в коробке передач, которая бы обеспечивала нужное тяговое усилие на колесах.
Преодоление брода производите с большой осторожностью. Автомобиль способен с малой скоростью преодолевать брод с твердым грунтом глубиной до 500 мм. Перед преодолением брода тщательно проверьте состояние дна, убедитесь в отсутствии глубоких ям, крупных камней, топких мест, а также выберите и проверьте места входа автомобиля в воду и выхода его из воды.
Преодолевайте брод осторожно, не создавая волны перед автомобилем, на первой или второй передаче в коробке передач с включенными передним мостом и понижающей передачей в раздаточной коробке.
Избегайте маневрирования и крутых поворотов.
После преодоления брода при первой возможности, но не позднее чем в тот же день, проверьте состояние масла во всех агрегатах. Если в масле будет обнаружена вода, то замените масло в этом агрегате. Наличие воды в масле определяйте по изменению его цвета. Следует также смазать до выдавливания свежей смазки все пресс-масленки шасси. При каждом выходе автомобиля из брода производите несколько неполных выключений сцепления и торможений для просушки фрикционных накладок сцепления и накладок тормозных колодок.
При остановке двигателя автомобиля во время преодоления брода можно сделать две-три попытки пустить двигатель стартером. Если двигатель не пускается, то автомобиль немедленно эвакуировать из воды любыми средствами. В случае проникновения воды в агрегаты автомобиля двигаться собственным ходом после его извлечения из воды не
следует. Отбуксируйте автомобиль в место, где можно провести техническое обслуживание.
Движение по снежной целине автомобиль может совершать по снегу глубиной до 350 мм. Повороты автомобиля осуществляйте так же, как и при движении по заболоченному участку. При движении по сыпучему снегу применяйте те же правила движения, что и при движении по песку.
Для буксирования автомобиля на мягкой сцепке предусмотрены буксирные проушины в передней и задней частях рамы (рис. 8.1). Перед буксировкой включите зажигание (положение I, рис. 3.7) и световую сигнализацию. При буксировании следите за тем, чтобы трос был натянут. Буксирование автомобиля производите плавно, без рывков.
ВНИМАНИЕ! Помните, что при неработающем двигателе значительно возрастают усилия, необходимые для поворота рулевого колеса и торможения автомобиля.
При буксировании необходимо строго соблюдать требования, изложенные в "Правилах дорожного движения".
Если не действует тормозная система или рулевое управление дальнейшее движение автомобиля или его буксировка на гибкой сцепке запрещены. В этом случае буксируйте автомобиль способом частичной погрузки или воспользуйтесь услугами эвакуатора.
Буксирование прицепа возможно только при наличии тяговосцепного устройства шарового типа.
Рис. 8.1. Буксирные проушины:
1 -передние проушины; 2 -задние проушины
Объем и периодичность технического обслуживания автомобиля приведены в сервисной книжке.
В настоящем руководстве приводятся методы ухода за автомобилем и регулировки его агрегатов, а также работы, которые должны выполняться регулярно в промежутках между операциями технического обслуживания, предусмотренными талонами сервисной книжки.
Моменты затяжек основных резьбовых соединений приведены в приложении 2 настоящего руководства.
ЕЖЕДНЕВНОЕ ТЕХНИЧЕСКОЕ ОБСЛУЖИВАНИЕ
1. Внешним осмотром проверить комплектность автомобиля, состояние кузова, стекол, зеркал заднего вида, оперения, регистрационных знаков, окраски, замков дверей, колес и шин. Принять меры к устранению несоответствий.
Осмотреть место стоянки и убедиться в отсутствии подтеканий топлива, масла, охлаждающей и тормозной жидкостей. При наличии подтекания принять меры к устранению причины.
Проверить и довести до нормы количество охлаждающей жидкости, масла в картере двигателя, тормозной жидкости и топлива.
2. Проверить действие рулевого управления, тормозных систем, приборов освещения, световой и звуковой сигнализации, стеклоочистителя. Принять меры к устранению несоответствий.
3. Заправить бачок смывателя ветрового стекла. В теплое время года допускается применение воды.
4. Если автомобиль эксплуатировался в особо пыльных условиях или преодолевал броды и участки грунтовых дорог, залитые жидкой грязью, проверить загрязненность фильтрующего элемента воздушного фильтра двигателя, при необходимости заменить фильтрующий элемент.
5. После поездки вымыть автомобиль, если он эксплуатировался на грязных или пыльных дорогах.
ОБСЛУЖИВАНИЕ АВТОМОБИЛЯ ЧЕРЕЗ КАЖДЫЕ 500 КМ ПРОБЕГА
1. Проверить и довести до нормы давление воздуха в шинах.
СЕЗОННОЕ ОБСЛУЖИВАНИЕ
Сезонное обслуживание проводится два раза в год -весной и осенью и по возможности совмещается с очередным обслуживанием по талонам сервисной книжки.
Перед летним сезоном эксплуатации
1. Проверить состояние шестерен привода масляного насоса, предварительно сняв его крышку.
2. Проверить работу стеклоочистителя и смывателя. Устранить неисправности.
3. Произвести замену масел в агрегатах на летние (всесезонные) сорта, предусмотренные таблицей смазки.
Перед зимним сезоном эксплуатации
1. Проверить плотность жидкости в системе охлаждения двигателя и при необходимости довести до нормы (1,075 -1,085 г/см3 при 20 °С).
2. При заправке бачка смывателя водой, воду слить.
3. Проверить работу системы отопления и вентиляции кузова. Устранить неисправности.
4. Перед зимним сезоном эксплуатации (или через 30000 км пробега) промыть топливные баки.
5. Произвести замену масел в агрегатах на зимние сорта, предусмотренные таблицей смазки.
ДВИГАТЕЛЬ ЗМЗ-409
Подвеска двигателя
При эксплуатации проверяйте затяжку резьбовых соединений передней и задней подвесок двигателя (см. приложение 2), а также состояние опор. Расслоение и разрыв подушек опор двигателя не допускается.
Головка блока цилиндров двигателя
При эксплуатации двигателя производить подтяжку болтов крепления головки блока цилиндров не требуется. При необходимости затяжку производите только на холодном двигателе. Для обеспечения равномерного и плотного прилегания головки блока цилиндров к прокладке затяжку болтов производите в последовательности, указанной на рис. 9.1 в два приема. Затягивайте болты равномерно, используя динамометрический ключ (см. приложение 2).
Газораспределительный механизм двигателя
Привод распределительных валов - цепной, двухступенчатый. Натяжение цепей осуществляется гидронатяжителями.
Внимание! Не допускается вынимать гидронатяжитель из крышки цепи во избежание выхода плунжера из зацепления с корпусом под действием сжатой пружины.
Привод клапанов от распределительных валов осуществляется непосредственно через цилиндрические гидро-толкатели. Применение гидравлических толкателей исключает необходимость регулировки зазоров.
Система смазки двигателя
Работа двигателя при неисправностях в системе смазки должна быть немедленно прекращена.
Для охлаждения масла в системе смазки предусмотрен масляный радиатор, который включается автоматически при помощи термоклапана. На некоторых двигателях установлен
Рис. 9.1. Последовательность затяжки болтов крепления головки блока цилиндров
краник 3 (рис. 9.2) включения радиатора, который должен быть открыт при температуре воздуха выше +20 °C и при движении в тяжелых условиях (с большой нагрузкой и большой частотой вращения коленчатого вала двигателя) также включайте радиатор.
Уровень масла должен находиться между метками "П" и "0" указателя 17 (рис. 9.3) уровня масла. Замеряйте уровень масла через 2-3 минуты после остановки прогретого двигателя.
Применяйте только рекомендованные масла.
При замене масла меняйте масляный фильтр. Отработавшее масло сливайте из картера двигателя сразу же после поездки, пока оно горячее. В этом случае масло сливается быстро и полностью.
Масляный фильтр 2 (см. рис. 9.2) снимайте, отворачивая его против часовой стрелки. При установке нового фильтра убедитесь в исправности резинового уплотнительного кольца и смажьте его моторным маслом, заверните фильтр до касания уплотнительным кольцом плоскости на блоке цилиндров, а затем доверните фильтр на 3/4 оборота. Убедитесь в отсутствии подтекания масла.
На прогретом двигателе при исправной системе смазки в режиме холостого хода сигнальная лампа аварийного давления масла может гореть, но должна немедленно гаснуть при увеличении частоты вращения коленчатого вала.
Рекомендуется через две смены масла промывать систему смазки двигателя, для чего слейте отработавшее масло, залейте специальное моющее масло, например ВНИИНП-ФД, на 3-5 мм выше метки "О" на указателе уровня масла и дайте двигателю поработать в течение 10 мин. Затем моющее масло слейте, замените масляный фильтр и залейте свежее масло. В случае отсутствия моющего масла промывку можно производить чистым моторным маслом.
Система вентиляции картера двигателя
При обслуживании системы вентиляции необходимо снять крышку клапанов 1 (рис. 9.4) , шланги вентиляции 6, 7 и очистить от смолистых отложений каналы вентиляции в крышке клапанов и впускной трубе, шланги вентиляции и патрубки маслоотражателя 2. Промывку маслоотражателя в бензине проводите без снятия его с крышки клапанов.
масляного радиатора; 4 - стартер; 5 -шланги подогрева дросселя; 6 -штуцер
подогрева дросселя; 7 -шланг от регулятора давления топлива к каналу
холостого хода; 8 -впускная труба; 9 -регулятор давления топлива; 10 -шланг подачи воздуха; 11 -ресивер; 12 -регулятор холостого хода; 13 -генератор; 14 -грузовая проушина; 15 -кронштейн насоса гидроусилителя; 16 -датчик положения коленчатого вала (датчик синхронизации)
I -Экологический класс 2
II -Экологический класс 3

Рис. 9.4. Вентиляция картера двигателя:
1 -крышка клапанов; 2 -масло-отражатель; 3 -трубка маслоотражательная;
4 -продольный канал системы холостого хода; 5 -ресивер с впускной трубой; 6 -шланг малой ветви вентиляции; 7 -шланг основной ветви вентиляции; 8 -клапан разрежения
I -Экологический класс 2
II -Экологический класс 3
Внимание! При эксплуатации не нарушайте герметичность системы вентиляции и не допускайте работу двигателя при открытой маслозаливной горловине. Это вызывает повышенный унос масла с картерными газами и загрязнение окружающей среды.
Система охлаждения двигателя
ВНИМАНИЕ! Охлаждающая жидкость ядовита. Храните жидкость в плотно закрытой таре. При работе с охлаждающей жидкостью соблюдайте следующие правила:
- избегайте любых операций, в результате которых эта жидкость может попасть в полость рта;
- не давайте высохнуть жидкости, попавшей на кожу, а сразу же смойте теплой водой с мылом;
- пролитую жидкость смойте водой, помещение проветрите;
- загрязненную жидкостью одежду снимите, высушите вне помещения, выстирайте.
Соблюдайте осторожность, открывая пробку расширительного бачка системы охлаждения двигателя, во избежание ожога паром.
В качестве охлаждающей жидкости применяется низкозамерзающая жидкость ТОСОЛ-А40М или ОЖ-40 "Лена".
При температуре окружающего воздуха ниже минус 40 °С нужно применять низкозамерзающую жидкость ТОСОЛ-А65М или ОЖ-65 "Лена".
Рабочая температура охлаждающей жидкости должна находиться в пределах 80° - 105°С. Допускается кратковременная (не более 5 минут) работа двигателя при повышении температуры охлаждающей жидкости до 109°С.
В случае загорания контрольной лампы перегрева охлаждающей жидкости надо немедленно установить и устранить причину перегрева.
Во время эксплуатации контролируйте расстояние от лопастей вентилятора до накладки кожуха и от муфты вентилятора до сердцевины радиатора (должно быть не менее 10 мм).
Периодически проверяйте уровень охлаждающей жидкости в расширительном бачке 1 (см. рис. 3.26). Уровень жидкости должен быть на 3-4 см выше метки "мин". Так как охлаждающая жидкость имеет высокий коэффициент теплового расширения и ее уровень в расширительном бачке значительно меняется в зависимости от температуры, то проверку уровня производите при температуре в системе плюс 15-20 °С.
В тех случаях, когда снижение уровня охлаждающей жидкости в расширительном бачке произошло за короткий
промежуток времени или после небольших пробегов (до 500 км), проверьте герметичность системы охлаждения и, устранив негерметичность, долейте в расширительный бачок охлаждающую жидкость.
Через каждые три года или каждые 60 000 км (в зависимости от того, что раньше наступит) промойте систему охлаждения и охлаждающую жидкость замените новой.
Промывайте систему охлаждения следующим образом:
- заполните систему чистой водой, пустите двигатель, дайте ему поработать до прогрева, заглушите двигатель и слейте воду;
- повторите указанную выше операцию.
Из-за наличия воздуха в отопителях салона и соединительных шлангах всю норму заправки жидкости залить без пуска двигателя невозможно. Заправку системы производите в следующем порядке:
- заверните сливную пробку радиатора и закройте сливной краник блока цилиндров;
- рукоятку и рычаг управления кранами отопителя салона и дополнительного отопителя установите в положение "открыто";
- заполните охлаждающей жидкостью систему охлаждения через горловину расширительного бачка на 3-4 см выше метки "мин";
- пустите двигатель, после уменьшения уровня жидкости в расширительном бачке долейте в него охлаждающей жидкости и закройте пробку радиатора;
- заглушите двигатель, дайте ему остыть, доведите уровень охлаждающей жидкости в расширительном бачке до нормы и закройте пробку расширительного бачка;
- выполните 2-3 цикла прогрева - охлаждения двигателя и снова доведите уровень охлаждающей жидкости в расширительном бачке до нормы.
Для слива жидкости из системы охлаждения двигателя откройте пробку расширительного бачка, выверните сливную пробку радиатора и откройте краник на блоке цилиндров (см. рис. 9.3, поз. 1). При сливе необходимо рукоятку и рычаг управления кранами отопителя салона и дополнительного отопителя установить в положение "открыто".
Натяжение ремня 4 (рис. 9.5) привода насоса системы
охлаждения и генератора производится натяжным роликом 2, для чего необходимо: ослабить болт 3 и, закручивая регулировочный болт 6, произвести натяжение ремня. Затянуть болт 3.
Натяжение ремня 7 (рис. 9.5) привода вентилятора и насоса гидроусилителя рулевого управления производится перемещением насоса 10, для чего необходимо: ослабить болты 11, регулировочным болтом 12 отрегулировать натяжение ремня, перемещая насос по направляющим. Затянуть болты 11.
На автомобилях, оснащенных кондиционером, привод агрегатов осуществляется одним ремнем. Его натяжение регулируется автоматически (рис. 9.6). В процессе эксплуатации необходимо контролировать состояние ремня. При обнаружении его повреждения или чрезмерного растяжения замените ремень. При установке нового ремня ослабьте болты 7 крепления насоса гидроусилителя рулевого управления к кронштейну и вращая регулировочный болт 8 найдите такое положение насоса ГУР на кронштейне при котором расстояние между упорами на натяжителе ремня будет составлять 18 мм. При этом будет обеспечен угол отклонения натяжителя 28°, при котором создается номинальный крутящий момент на рычаге натяжителя. Затяните болты 11.
Рис. 9.5. Натяжение ремней привода агрегатов:
1 -шкив коленчатого вала; 2 -натяжной ролик; 3 -болт крепления натяжного ролика; 4 -ремень привода насоса системы охлаждения и генератора; 5 -шкив генератора; 6 -регулировочный болт натяжного ролика; 7 -ремень привода вентилятора и насоса гидроусилителя рулевого управления; 8 -шкив насоса системы охлаждения; 9 -шкив вентилятора; 10 -шкив насоса гидроусилителя рулевого управления; 11 -болт крепления насоса гидроусилителя рулевого управления; 12 -регулировочный болт
Ремень привода
рулевого управления; 7 -болт крепления насоса гидроусилителя рулевого
управления; 8 -регулировочный болт; 9 -шкив насоса системы охлаждения двигателя; 10 -шкив коленчатого вала
1 -автоматический натяжитель; 2 -шкив компрессора кондиционера;
3 -генератор; 4 -ремень привода агрегатов;
5 -шкив вентилятора; 6 -шкив насоса гидроусилителя
Муфта привода вентилятора. В случае, если муфта перестает включаться или включается не полностью, двигатель может перегреваться. Проверку исправности муфты необходимо производить в СТО УАЗ, имеющих специализированное оборудование.
Наружную поверхность муфты содержите в чистоте.
Электровентиляторы установлены на радиаторе системы охлаждения спереди. Включение и выключение происходит автоматически.
Система выпуска газов
ВНИМАНИЕ! Рабочая температура нейтрализатора составляет 400-800 °C. Не допускается эксплуатация автомобиля без защитных экранов нейтрализатора. При движении автомобиля и на стоянке следите, чтобы система выпуска не соприкасалась с легко воспламеняющимися материалами (например, сухой травой).
Пропуск выпускаемых газов в соединениях не допускается и должен устраняться при первом появлении. Прикипевшие гайки подтягивайте (см. приложение 2), предварительно смочив резьбовые соединения специальными жидкостями.
В случае неисправности системы питания или зажигания в нейтрализатор попадает большое количество несгоревших углеводородов, в результате чего температура в нейтрализаторе может подняться выше допустимой (750 - 800 °C) и он выйдет из строя. Поэтому особое внимание обращайте на работу систем питания и зажигания. Работа двигателя на трех цилиндрах недопустима даже короткий промежуток времени.
Система впрыска бензина с микропроцессорным управлением топливоподачей и зажиганием (рис. 9.7, 9.8)
Меры предосторожности
1. Перед демонтажем и монтажом любых элементов или проводов системы управления следует отсоединить провод массы аккумуляторной батареи.
2. Не допускается пуск двигателя без надежного подключения аккумуляторной батареи и провода "массы" между двигателем и кузовом.
3. Не допускается отключение аккумуляторной батареи от бортовой сети автомобиля при работающем двигателе.
4. При зарядке от внешнего источника аккумуляторная батарея должна быть отключена от бортовой сети.
5. Не допускается подвергать блок управления воздействию температуры выше 80°C, например, в сушильной печи.
6. Перед проведением электросварочных работ необходимо отсоединить провод аккумулятора и соединитель блока управления.
7. Для исключения коррозии контактов при чистке двигателя паром не направляйте сопло на элементы системы.
8. Элементы электроники систем управления рассчитаны на очень низкое напряжение, уязвимы для электро -статических разрядов.
9. Система питания на участке от электробензонасоса до регулятора давления топлива на работающем двигателе находится под давлением 3 кгс/см2.
ВНИМАНИЕ! Не допускается ослаблять или подтягивать соединения топливопровода при работающем двигателе или сразу после его остановки.
Рис. 9.7. Расположение датчиков на двигателе (Экологический класс 2): 1 -датчик детонации; 2 -датчик температурного состояния двигателя (температуры охлаждающей жидкости); 3 -датчик указателя температуры охлаждающей жидкости; 4 -датчик аварийного давления масла; 5 -датчик указателя давления масла; 6 -датчик положения дроссельной заслонки; 7 -датчик положения распределительного вала (датчик фазы); 8 -датчик положения коленчатого вала (датчик синхронизации)
10. Электродвигатель бензонасоса охлаждается проходящим потоком топлива, поэтому во избежание его выхода из строя не допускается включать электробензонасос "на сухую", когда в правом баке отсутствует топливо.
Система питания
ВНИМАНИЕ! Автомобильный бензин и его пары ядовиты и пожароопасны. Соблюдайте следующие правила:
- соблюдайте правила пожарной безопасности;
- избегайте любых операций, в результате которых бензин может попасть в полость рта;
- не давайте высохнуть бензину, попавшему на кожу, а сразу же смойте теплой водой с мылом;
- пролитый бензин посыпьте песком или опилками, сметите и утилизируйте, помещение проветрите;
- загрязненную бензином одежду снимите, высушите вне помещения, выстирайте.
Рис. 9.8. Расположение датчиков на двигателе (Экологический класс 3): 1 -датчик детонации; 2 -датчик температурного состояния двигателя (температуры охлаждающей жидкости); 3 -штуцер; 4 -датчик аварийного давления масла; 5 -датчик указателя давления масла; 6 -дроссельный узел с датчиком положения дроссельной заслонки; 7 -датчик положения распределительного вала (датчик фазы); 8 -датчик положения коленчатого вала (датчик синхронизации)
Внимание! Применяйте только рекомендованный неэтилированный бензин. Свинец, содержащийся в этилированном бензине, выводит из строя датчик содержания кислорода и нейтрализатор.
Электробензонасосу (топливный модуль) установлен в правом баке. По мере расхода топлива правый бак автоматически пополняется из левого.
Пробки горловин наливных труб топливных баков глухие и обеспечивают герметичное уплотнение.
В связи с указанными особенностями конструкции системы топливоподачи рекомендуется следующее:
- при закрывании наливных горловин топливных баков убедиться в исправности пробок, наличии и целостности уплотнительной прокладки, обеспечить приложением соответствующего усилия герметичное закрытие пробок;
- при частичной заправке автомобиля первоначально заправлять правый бак;
- контролировать расход топлива с учетом изменения количества топлива в обоих баках.
Топливные баки 24, 28 (рис. 9.9) и 18, 22 (рис. 9.10). Обслуживание топливных баков заключается в периодической промывке фильтра электробензонасоса (правый бак), промывке фильтра приемной трубки указателя уровня топлива (левый бак) и промывке самих баков.
Периодически сливайте отстой, отвернув пробку 32 (рис. 9.9) или 26 (рис. 9.10) снизу бака.
Периодически проверяйте надежность крепления баков и при необходимости подтягивайте болты их крепления.
Для промывки топливные баки снимите с автомобиля. Перед снятием баков с автомобиля выполните следующее:
- отключите аккумуляторную батарею;
- слейте топливо, отвернув пробку 32 (рис. 9.9) или 26 (рис. 9.10);
- откройте люк в полу кузова над электробензонасосом 3 или отверните болты крепления сепаратора 30 (рис. 9.9) или 24 (рис. 9.10) и выньте его, отсоедините от него шланги;
- отсоедините от электробензонасоса (топливного модуля) и датчика указателя уровня топлива провода и изолируйте их;
- отсоедините трубки и шланги топливопроводов;
- ослабьте хомут наливной трубы и стяните с нее соединительный шланг.
Затем отверните болты стяжных хомутов, отогните хомуты вниз, чтобы они не препятствовали опусканию бака, и снимите бак.
Установку бака производите в обратном порядке.
Электробензонасос 3 (рис. 9.9) погружного типа с датчиком указателя уровня топлива.
На автомобилях экологического класса 3 установлен топливный модуль 3 (рис. 9.10) погружного типа, включающий в себя электробензонасос, струйный насос и регулятор давления и датчик указателя уровня топлива.
Периодически проверяйте и очищайте контакты подключения топливного насоса к бортовой сети.
Особое внимание обращайте на надежность подключения "массы".
Рис. 9.9. Схема системы питания двигателя топливом (Экологический класс 2): 1 -пробка топливного бака; 2 -трубка
тонкой очистки топлива; 20 -струйный насос; 21 -трубка от левого бака к струйному насосу; 22 -пароотводящая трубка; 23 -шланг; 24 -правый топливный бак; 26 -труба наливная правого бака; 27 -труба наливная левого бака; 28 -левый топливный
бак; 30 -сепаратор; 32 -пробка
Примечание. Поз. 30 расположена над топливозаборником левого бака
Рис. 9.10. Схема системы питания двигателя топливом (Экологический класс 3): 1 -пробка топливного бака; 2 -трубка
17 -пароотводящая трубка от правого бака; 18-правый топливный бак; 20 -труба наливная правого бака; 21 -труба наливная левого бака; 22 -левый топливный бак; 24 -сепаратор; 26 -пробка Примечание. Поз. 24 расположена над топливозаборником левого бака
Не рекомендуется эксплуатация автомобиля при наличии топлива в правом топливном баке менее 5 литров.
При преодолении крутых подъемов минимальное количество топлива в правом баке должно быть не менее 20 литров.
Промывку фильтра электробензонасоса производите, не снимая бак с автомобиля, при этом электробензонасос (топливный модуль) необходимо извлечь из топливного бака через люк в полу кузова.
Засорение сетчатого фильтра электробензонасоса, фильтра тонкой очистки топлива, наличие в топливном баке грязи и механических примесей проявляются прежде всего в ухудшении перекачиваемости топлива из левого бака в правый, неустойчивой работе двигателя на больших нагрузках и ухудшении динамики автомобиля. При этих признаках, во избежание выхода из строя электробензонасоса, следует незамедлительно обратиться на СТО.
Примечание. При температуре окружающего воздуха ниже 0 °C признаки засорения могут быть обусловлены наличием воды и ее замерзанием в системе питания. При обнаружении воды в топливе следует слить топливо и промыть топливные баки чистым бензином, а фильтр тонкой очистки топлива заменить.
Струйный насос (экологический класс 2). Периодически проверяйте герметичность насоса и его соединений. При отсутствии перекачки топлива из левого бака в правый, разберите насос (выверните форсунку), промойте его и продуйте воздухом.
Струйный насос закреплен на топливных шлангах у правого лонжерона рамы.
Негерметичность в соединениях устраняется путем подтягивания соединений (см. приложение 2) или заменой дефектных элементов.
После любых работ по обслуживанию системы топливо-подачи, связанных с подтягиванием соединений, снятием или заменой деталей и узлов необходимо провести проверку герметичности системы:
- убедитесь в том, что пробки заливных горловин затянуты надежно;
- проведите затяжку хомутов и резьбовых соединений до обеспечения герметичности;
- запустите двигатель и при работе на холостом ходу осмотрите систему. Подтекание топлива или увлажнение элементов системы питания не допускается.
В процессе эксплуатации автомобиля необходимо обращать внимание на:
- присутствие резкого запаха бензина в салоне, подкапотном пространстве, в местах прохождения топливо и паропроводных шлангов и трубок - при его наличии проверить герметичность соединений и сепаратора, состояние адсорбера (отсутствие трещин и повреждений, работоспособность клапана продувки адсорбера);
- работоспособность элементов системы улавливания топливных испарений (адсорбера и клапана бензобака). Неисправность данных элементов приводит к нарушениям в работе системы топливоподачи. Вышедшие из строя элементы заменить.
Привод педали акселератора (экологический класс 2) в процессе эксплуатации может потребовать регулировки натяжения троса. Для натяжения троса отверните гайку 3 (рис. 9.11) и затяните гайку 4.
На автомобилях экологического класса 3 установлен электронный модуль педали акселератора, не требующий регулировки.
Воздушный фильтр. Через 40000 км пробега и при снижении мощности двигателя заменяйте фильтрующий элемент.
Замену фильтрующего элемента производите в следующем порядке:
- ослабьте хомуты и снимите с воздушного фильтра гофрированный шланг и резонатор;
Рис. 9.11. Регулировка привода педали акселератора:
1 -трос; 2 -оболочка троса с регулировочным наконечником; 3, 4 -гайки
- отверните гайку хомута 4 (рис. 9.12), снимите хомут и воздушный фильтр;
- отверните гайку 7 и выньте из корпуса фильтра крышку 1 с фильтрующим элементом 5;
- отверните гайку 6 и снимите фильтрующий элемент;
- установите новый фильтрующий элемент, соберите и установите воздушный фильтр.
Система управления топливоподачей и зажиганием
Для подключения средств автоматизированной внешней диагностики и программирования системы управления двигателем под капотом на надставке брызговика правого колеса установлен диагностический разъем (рис. 9.13). В зависимости от комплектации диагностический разъем может быть установлен в салоне автомобиля в передней части туннеля пола под центральной консолью.
Блок управления устанавлен под копотом автомобиля, справа на боковой стенке.
Рис. 9.12. Воздушный фильтр:
1 -крышка воздушного фильтра; 2 -уплотнительная прокладка; 3 -корпус фильтра; 4 -хомут крепления фильтра; 5 -фильтрующий элемент; 6 -гайка;
7 -гайка; 8 -воздуховод
Рис. 9.13.
Диагностический разъем (XS1):
4 -масса; 7 -К-линия;
16 -+12В
Диагностика
Работоспособность системы управления двигателем и системы впрыска зависит от исправности механических и гидромеханических систем. Ряд отклонений, вызывающих неисправности, ошибочно могут быть приняты за неисправности электронной части системы управления, это:
- низкая компрессия;
- отклонение фаз газораспределения, вызванное неправильной сборкой узлов двигателя;
- подсос воздуха во впускной трубопровод;
- плохое качество топлива;
-несоблюдение сроков проведения технического обслуживания.
Блок управления способен осуществлять в определенном объеме диагностику элементов системы управления двигателем.
При обнаружении неисправности блок управления включает диагностическую лампу неисправностей на панели приборов автомобиля и в его память заносится код, отражающий данную неисправность.
Включение лампы неисправности двигателя не означает, что двигатель должен быть немедленно остановлен, так как блок управления имеет резервные режимы, позволяющие двигателю работать в условиях, близких к нормальным. Тем не менее, при неисправности, вызванной пропусками зажигания (сигнализатор 19 (см. рис. 3.3) неисправности двигателя начинает мигать), с целью исключения выхода из строя нейтрализатора отработавших газов, необходимо снизить частоту вращения коленчатого вала
двигателя до 2500 об/мин (скорость автомобиля не выше 50 км/ ч) и двигаться на станцию технического обслуживания.
ВНИМАНИЕ! Сигнализатор загорается постоянно при превышении допустимой температуры нейтрализатора. При этом возможно отключение одной из форсунок двигателя.
Эксплуатация автомобиля допускается только после устранения неисправности.
Работа диагностической лампы (Экологический класс 2)
В рабочем режиме при включенном зажигании и неработающем двигателе лампа вспыхивает на время 0,6 -1 с и гаснет, если подсистема самодиагностики не определила неисправностей в электрических цепях системы управления. Если диагностическая лампа не гаснет после включения зажигания или горит при работающем двигателе, это означает, что необходимо провести техническое обслуживание системы и двигателя в возможно короткий срок.
Работа диагностической лампы (Экологический класс 3)
В рабочем режиме при включенном зажигании и неработающем двигателе лампа загорается и гаснет после пуска двигателя. Если диагностическая лампа горит при работающем двигателе, это означает, что необходимо провести техническое обслуживание системы и двигателя в возможно короткий срок.
При наличии пропусков зажигания диагностическая лампа начинает мигать при работающем двигателе, и загорается постоянно при превышении допустимой температуры нейтрализатора.
Очистка кодов неисправностей. (Экологический класс 2)
Память, хранящую коды неисправностей, можно очистить, отключив "массу" аккумуляторной батареи на время более 2 минут. При этом необходимо следить за тем, чтобы зажигание было выключенным во избежание повреждения электронного блока и помнить о том, что при отсоединении аккумуляторной батареи будут потеряны и
другие данные адаптивного управления, настройка часов, приемника и т.д.
В случае отключения аккумуляторной батареи теряются параметры самообучения блока управления. После подключения аккумуляторной батареи для самообучения системы управления необходимо прогреть двигатель до рабочей температуры и обеспечить движение автомобиля на частичных нагрузках с умеренным ускорением, а также работу на холостом ходу до восстановления нормальных рабочих показателей.
Очистка кодов неисправностей. (Экологический класс 3)
Память, хранящую коды неисправностей, можно очистить только при помощи сканер-тестера.
В случае отключения аккумуляторной батареи параметры самообучения блока управления не теряются и могут быть сброшены при помощи сканер-тестера.
ДВИГАТЕЛЬ F1A (IVECO) (рис. 9.14, 9.15, 9.16)
Подвеска двигателя
При эксплуатации проверяйте затяжку резьбовых соединений передней и задней подвесок двигателя, а также состояние опор. Расслоение и разрыв подушек опор двигателя не допускается.
Газораспределительный механизм
Привод распределительных валов осуществляется зубчатым ремнем. Натяжение ремня автоматическое. Через 250000 км пробега замените ремень и его натяжитель.
Система смазки двигателя
Работа двигателя при неисправностях в системе смазки должна быть немедленно прекращена.
Для охлаждения масла в системе смазки предусмотрен жидкостно-масляный теплообменник.
Уровень масла проверяйте на холодном неработающем двигатела.
13
15
16
17
14
Рис. 9.14. Двигатель (ни i слева): 1 -кронштейн подвески двигателя; 2 -патрубок шланга подачи охлаждающей жидкости из радиатора; 3 -фильтр масляный; 4 -жидкостно-масляный теплообменник; 5 -топливный насос высокого давления; 6 -корпус термостата; 7 -патрубок шланга подачи охлаждающей жидкости в радиатор; 8 -указатель уровня масла; 9 -крышка маслоналивной горловины; 10 -патрубок шланга расширительного бачка; 11 -патрубок сливного шланга отопителя салона; 12 -рампа топливная; 13 -коллектор впускной; 14 -охладитель системы рециркуляции отработавших газов; 15 -трубка слива топлива; 16 -трубка подачи топлива; 17 -пробка слива охлаждающей жидкости из блока цилиндров; 18-картер масляный; 19 -пробка сливного отверстия масляного картера
Уровень масла должен находиться между метками "min" и "max" указателя 8 (рис. 9.14) уровня масла. Масло доливайте через маслоналивную горловину, закрываемую крышкой 9.
Уровень масла не должен превышать метки “max” указателя, в противном случае масло через систему вентиляции будет попадать в камеру сгорания. Уровень масла ниже метки “min” приведет к выходу из строя двигателя.
Применяйте только рекомендованные масла.
Запрещается смешивание моторных масел различных торговых марок и различных фирм.
Рис. 9.15. Двигатель (вид справа):
1 -турбокомпрессор; 2 -клапан системы рециркуляции отработавших газов; 3 -маслоотделитель картерных газов; 4 -корпус распределительных валов; 5 -головка блока цилиндров; 6 -патрубок нагнетательного шланга отопителя салона; 7 -крышка маслоналивной горловины; 8 -коллектор выпускной; 9 -трубка вакуумного насоса; 10 -компрессор кондиционера;
11 -генератор; 12 -блок цилиндров; 13 -картер масляный
При переходе на масло другой торговой марки или другой фирмы предварительно промойте систему смазки двигателя промывочными или заменяющими маслами.
Масло заменяйте через 20000 км пробега или один раз в год, в зависимости от того, что раньше наступит.
При замене масла меняйте масляный фильтр. Отработавшее масло сливайте из картера двигателя сразу же после поездки, пока оно горячее. В этом случае масло сливается быстро и полностью.
Масляный фильтр 3 (см. рис. 9.14) снимайте, отворачивая его против часовой стрелки. При установке нового фильтра убедитесь в исправности резинового уплотнительного кольца и смажьте его моторным маслом, заверните фильтр до касания уплотнительным кольцом плоскости на блоке цилиндров, а затем доверните фильтр на 3/4 оборота. Убедитесь в отсутствии подтекания масла.
Рис. 9.16. Двигатель (вид спереди):
1 -натяжитель ремня привода агрегатов; 2 -насос гидроусилителя рулевого управления; 3 -ролик; 4 -генератор; 5 -муфта электромагнитная вентилятора; 6 -копрессор кондиционера; 7 -крышка маслоналивной горловины; 8 -указатель уровня масла; 9 -кратка привода
газораспределительного механизма и топливного насоса высокого давления; 10 -шкив коленчатого вала; 11 -картер масляный
Система вентиляции картера двигателя
При эксплуатации не нарушайте герметичность системы вентиляции и не допускайте работу двигателя при открытой маслозаливной горловине. Это вызывает повышенный унос масла с картерными газами и загрязнение окружающей среды.
Система охлаждения двигателя
ВНИМАНИЕ! Охлаждающая жидкость ядовита. Храните жидкость в плотно закрытой таре. При работе с охлаждающей жидкостью соблюдайте следующие правила:
- избегайте любых операций, в результате которых эта жидкость может попасть в полость рта;
- не давайте высохнуть жидкости, попавшей на кожу, а сразу же смойте теплой водой с мылом;
- пролитую жидкость смойте водой, помещение проветрите;
- загрязненную жидкостью одежду снимите, высушите вне помещения, выстирайте.
Соблюдайте осторожность, открывая пробку расширительного бачка системы охлаждения двигателя, во избежание ожога паром.
В качестве охлаждающей жидкости применяется низкозамерзающая жидкость ТОСОЛ-А40М или ОЖ-40 "Лена".
При температуре окружающего воздуха ниже минус 40 °С нужно применять низкозамерзающую жидкость ТОСОЛ-А65М или ОЖ-65 "Лена".
Рабочая температура охлаждающей жидкости должна находиться в пределах 80° - 105°С.
В случае загорания сигнализатора перегрева охлаждающей жидкости надо немедленно установить и устранить причину перегрева.
Периодически проверяйте уровень охлаждающей жидкости в расширительном бачке. Уровень жидкости должен быть на 3-4 см выше метки "мин". Так как охлаждающая жидкость имеет высокий коэффициент теплового расширения и ее уровень в расширительном бачке значительно меняется в зависимости от температуры, то проверку уровня производите при температуре в системе плюс 15-20 °С.
В тех случаях, когда снижение уровня охлаждающей жидкости в расширительном бачке произошло за короткий промежуток времени или после небольших пробегов (до 500 км), проверьте герметичность системы охлаждения и, устранив негерметичность, долейте в расширительный бачок охлаждающую жидкость.
Через каждые два года промойте систему охлаждения и охлаждающую жидкость замените новой.
Для слива жидкости из системы охлаждения двигателя откройте пробки радиатора и расширительного бачка, выверните сливные пробки радиатора и блока цилиндров (см. рис. 9.14, поз. 17). При сливе необходимо рукоятку и рычаг управления кранами отопителя салона и дополнительного отопителя+ установить в положение "открыто".
Промывайте систему охлаждения следующим образом:
- заполните систему чистой водой, пустите двигатель, дайте ему поработать до прогрева, заглушите двигатель и слейте воду;
- повторите указанную выше операцию.
Из-за наличия воздуха в отопителях салона и соединительных шлангах всю норму заправки жидкости залить без пуска двигателя невозможно. Заправку системы производите в следующем порядке:
- заверните сливные пробку радиатора и блока цилиндров;
- рукоятку и рычаг управления кранами отопителя салона и дополнительного отопителя установите в положение "открыто";
- заполните охлаждающей жидкостью систему охлаждения через горловину расширительного бачка на 3-4 см выше метки мин ;
- пустите двигатель, после уменьшения уровня жидкости в расширительном бачке долейте в него охлаждающей жидкости и закройте пробку;
- заглушите двигатель, дайте ему остыть, доведите уровень охлаждающей жидкости в расширительном бачке до нормы и закройте пробку расширительного бачка;
- выполните 2-3 цикла прогрева - охлаждения двигателя и снова доведите уровень охлаждающей жидкости в расширительном бачке до нормы.
Натяжение ремня привода агрегатов осуществляется автоматическим натяжителем 1 (рис. 9.16). Заменяйте ремень через 120000 км пробега или раз в четыре года, в зависимости от того, что раньше наступит.
Привод копрессора кондиционера осуществляется специальным ремнем, не требующим регулировки натяжения в процессе эксплуатации.
Электровентиляторы установлены на радиаторе системы охлаждения спереди. Включение и выключение происходит автоматически.
Система выпуска газов
Пропуск выпускаемых газов в соединениях не допускается и должен устраняться при первом появлении. Прикипевшие гайки подтягивайте, предварительно смочив резьбовые соединения специальными жидкостями.
Система питания с непосредственным впрыском топлива
ВНИМАНИЕ! Применяйте только дизельное топливо соответствующее Евро III-IV по ГОСТ Р 52368 и ТУ 025101200044434-2002 (топливо дизельное Лукойл EN590). Применение различных добавок к топливу (в том числе бензин, керосин и т. п.) категорически запрещено. При несоблюдении вышеуказанных требований к топливу ОАО “УАЗ” не несет гарантийных обязательств при выходе из строя топливной аппаратуры.
Меры предосторожности
1. Перед демонтажом и монтажом любых элементов или проводов системы управления следует отсоединить провод массы аккумуляторной батареи.
2. Не допускается пускдвигателя без надежного подключения аккумуляторной батареи и провода "массы" между двигателем и кузовом.
3. Не допускается отключение аккумуляторной батареи от бортовой сети автомобиля при работающем двигателе.
4. При зарядке от внешнего источника аккумуляторная батарея должна быть отключена от бортовой сети.
5. Не допускается подвергать блок управления воздействию температуры выше 80°С, например, в сушильной печи.
6. Перед проведением электросварочных работ необходимо отсоединить провод аккумулятора и соединитель блока управления.
7. Для исключения коррозии контактов при чистке двигателя паром не направляйте сопло на элементы системы.
8. Система питания топливного насоса высокого давления находится под давлением 4,15-5,35 кгс/см2, а после насоса под давлением 5,5-7,0 кгс/см2.
ВНИМАНИЕ! Не допускается ослаблять или подтягивать соединения топливопроводов при работающем двигателе или сразу после его остановки.
10. Электродвигатель топливного насоса охлаждается проходящим потоком топлива, поэтому во избежание его выхода из строя не допускается включать электробензонасос "на сухую", когда в левом баке отсутствует топливо.
Система питания (рис. 9.17)
К топливному насосу топливо поступает из левого бака. По мере расхода топлива левый бак автоматически пополняется из правого.
Пробки горловин наливных труб топливных баков глухие и обеспечивают герметичное уплотнение.
В связи с указанными особенностями конструкции системы топливоподачи рекомендуется следующее:
- при закрывании наливных горловин топливных баков убедиться в исправности пробок, наличии и целостности уплотнительной прокладки, обеспечить приложением соответствующего усилия герметичное закрытие пробок;
- при частичной заправке автомобиля первоначально заправлять левый бак;
- контролировать расход топлива с учетом изменения количества топлива в обоих баках.
Топливные баки 5, 25 (рис. 9.17). Обслуживание топливных баков заключается в периодической промывке фильтра приемной трубки указателей уровня топлива и самих баков.
Периодически сливайте отстой, отвернув пробку снизу бака.
Периодически проверяйте надежность крепления баков и при необходимости подтягивайте болты их крепления.
Для промывки топливные баки снимите с автомобиля.
Перед снятием баков с автомобиля выполните следующее:
- слейте топливо;
- отсоедините от датчика указателя уровня топлива провод и изолируйте;
- отсоедините трубки и шланги топливопроводов;
- ослабьте хомут наливной трубы и стяните с нее соединительный шланг.
Затем отверните болты стяжных хомутов, отогните хомуты вниз, чтобы они не препятствовали опусканию бака, и снимите бак.
Установку бака производите в обратном порядке.
Топливный электронасос 16 (рис. 9.17) проточного типа.
Периодически проверяйте и очищайте контакты подключения топливного насоса к бортовой сети.
Особое внимание обращайте на надежность подключения "массы".
-насос струйный; 13 -шланг слива топлива; 14 -трубка слива топлива; 15 -трубка от топливного насоса к фильтру грубой очистки топлива; 16 -насос топливный; 18 -труба наливная правого бака; 19 -шланг пароотводящий; 20 -трубка паровоздушная; 21 -трубка топливная; 22 -шланг от топливной трубки к струйному насосу; 23 -шланг топливоподающий;
25 -бак топливный левый; 26 -труба наливная левого бака
Не рекомендуется эксплуатация автомобиля при наличии топлива в левом топливном баке менее 5 литров.
При преодолении крутых подъемов минимальное количество топлива в левом баке должно быть не менее 20 литров.
Засорение фильтра приемной трубки, фильтров тонкой и грубой очистки топлива, наличие в топливном баке грязи и механических примесей проявляются прежде всего в ухудшении перекачиваемости топлива из правого бака в левый, неустойчивой работе двигателя на больших нагрузках и ухудшении динамики автомобиля. При этих признаках, во избежание выхода из строя топливного насоса, следует незамедлительно обратиться на СТО.
Струйный насос. Периодически проверяйте герметичность насоса и его соединений. При отсутствии перекачки топлива из правого бака в левый, разберите насос (выверните форсунку), промойте его и продуйте воздухом.
Струйный насос закреплен на топливных шлангах у левого лонжерона рамы.
Фильтр тонкой очистки топлива (рис. 9.18) установлен под капотом автомобиля на левом брызговике.
Рис. 9.18. Фильтр тонкой очистки топлива:
1 -датчик засоренности топливного фильтра; 2 -подогреватель топливного фильтра с датчиком температуры; 3 -фильтрующий элемент;
4 -датчик наличия воды; 5 -пробка для выпуска воздуха; 6 -штуцер подвода топлива; 7 -штуцер выхода топлива
Устройство подогрева топлива включается при включении зажигания, если температура топлива ниже 10°С.
Управление подогревом осуществляется автоматически с помощью датчика темпе-ратуры топлива.
Через каждые 10000 км пробега и в случае срабатывания сигнализатора 13 (см. рис. 3.4) удаляйте отстой из фильтрующего элемента. Для этого отверните на несколько оборотов датчик 4 (рис. 9.18), слейте отстой до появления струи чистого топлива и заверните датчик.
Через каждые 40000 км пробега или один раз в год, в зависимости от того, что раньше наступит, замените фильтрующий элемент 3 (рис. 9.18). Заменяйте фильтрующий элемент и в случае срабатывания сигнализатора 10 (см. рис. 3.4).
Перед заменой очистите наружную поверхность фильтра от грязи. При замене фильтрующего элемента не допускайте попадания грязи во внутреннюю полость фильтра.
Для замены используйте фильтрующий элемент 504018807 (2992300).
Замена фильтрующего элемента:
- слейте топливо из фильтра, отвернув на несколько оборотов датчик 4;
- отверните фильтрующий элемент 3, выверните из него датчик 4;
- смажьте прокладку на корпусе нового фильтрующего элемента чистым дизельным топливом;
- заверните новый фильтрующий элемент;
-заверните датчик 4.
Фильтр грубой очистки топлива установлен на левом ложероне рамы, доступ к фильтру снизу автомобиля.
Через каждые 10000 км пробега и в случае срабатывания сигнализатора 13 (см. рис. 3.4) удаляйте отстой из фильтрующего элемента. Для этого отверните на несколько оборотов датчик 2 (рис. 9.19), слейте отстой до появления струи чистого топлива и заверните датчик.
Через каждые 40000 км производите визуальный осмотр фильтра грубой очистки топлива.
Рис. 9.19. Фильтр грубой очистки топлива:
1 -фильтрующий элемент; 2 -датчик наличия воды; 3 -штуцер выхода топлива; 4 -пробка для выпуска воздуха; 5 -штуцер подвода топлива
Через каждые 120000 км пробега или один раз в четыре года, в зависимости от того, что раньше наступит, замените фильтрующий элемент 1 (рис. 9.19).
Перед заменой очистите наружную поверхность фильтра от грязи. При замене фильтрующего элемента не допускайте попадания грязи во внутреннюю полость фильтра.
Для замены используйте фильтрующий элемент 99452236 (1908547).
Замена фильтрующего элемента:
- слейте топливо из фильтра, отвернув на несколько оборотов датчик 2;
- отверните фильтрующий элемент 1, выверните из него датчик 2;
- смажьте прокладку на корпусе нового фильтрующего элемента чистым дизельным топливом;
- заверните новый фильтрующий элемент;
-заверните датчик 2.
Выпуск воздуха из системы подачи топлива.
Выпускать воздух из системы необходимо:
- при демонтаже трубо-проводов, фильтров или насосов;
- после замены фильтрующих элементов топливных фильтров;
- после полной выработки топлива из системы.
Для выпуска воздуха и заполнения системы топливом необходимо провести следующие работы:
1. Ослабьте пробку для выпуска воздуха на фильтре грубой очистки топлива. Включив зажигание (топливный электронасос) произвести заполнение магистрали до исчезновения пузырьков воздуха в струе топлива, выходящей из пробки для выпуска воздуха;
2. Затяните пробку;
3. Ослабьте пробку для выпуска воздуха на фильтре тонкой очистки топлива. Включив зажигание (топливный электронасос) произвести заполнение магистрали до исчезновения пузырьков воздуха в струе топлива, выходящей из пробки для выпуска воздуха;
4. Затяните пробку;
5. Запустите двигатель стартером;
6. Если двигатель не запустился вследствие незаполнен-ности трубок высокого давления, повторите приведенные выше операции.
Негерметичность в соединениях устраняется путем подтягивания соединений или заменой дефектных элементов.
После любых работ по обслуживанию системы топливо-подачи, связанных с подтягиванием соединений, снятием или заменой деталей и узлов необходимо провести проверку герметичности системы:
- убедитесь в том, что пробки заливных горловин затянуты надежно;
- проведите затяжку хомутов и резьбовых соединений до обеспечения герметичности, установку трубок с быстросъемными соединителями производить до упора (щелчка).;
- запустите двигатель и при работе на холостом ходу осмотрите систему. Подтекание топлива или увлажнение элементов системы питания не допускается.
В процессе эксплуатации автомобиля необходимо обращать внимание на:
- присутствие резкого запаха топлива в салоне, подкапотном пространстве, в местах прохождения топливо и паропроводных шлангов и трубок - при его наличии проверить герметичность соединений;
- работоспособность клапана топливного бака. Неисправность данного элемента приводит к нарушению в работе системы топливоподачи и деформации бака. Вышедший из строя клапан замените.
Привод педали акселератора. На автомобиле установлен электронный модуль педали акселератора, не требующий регулировки.
Воздушный фильтр. Через 30000 км пробега и при снижении мощности двигателя заменяйте фильтрующий элемент.
Замену фильтрующего элемента производите как указано на стр. 102-103.
Система управления двигателем (рис. 9.20)
Для подключения средств автоматизированной внешней диагностики и программирования системы управления двигателем под капотом на надставке брызговика правого колеса установлен диагностический разъем (рис. 9.21). В зависимости от комплектации диагностический разъем может быть установлен в салоне автомобиля в передней части туннеля пола под центральной консолью.
Блок управления устанавлен под капотом автомобиля, на правой надставке бызговика.
Диагностика
Работоспособность системы управления двигателем зависит от исправности механических и гидромеханических систем. Ряд отклонений, вызывающих неисправности, ошибочно могут быть приняты за неисправности электронной части системы управления, это:
- низкая компрессия;
- отклонение фаз газораспределения, вызванное неправильной сборкой узлов двигателя;
- подсос воздуха во впускной трубопровод;
Рис. 9.20. Жгут проводов системы управления двигателем (жгут изображен условно):
1 - датчик скорости вращения распределительного вала; 2 -датчик температуры охлаждающей жидкости; 3 -регулятор давления топлива; 4 -датчик скорости вращения коленчатого вала; 5 -датчик давления
масла; 6 -свечи накаливания; 7 -датчик давления в топливной рампе; 8 -к жгуту проводов моторного отсека; 9 -клапан рециркуляции отработавших газов; 10 -кабель-канал; 11 -датчик массового расхода воздуха; 12 -блок управления двигателем; 13 -форсунки; 14 -блок управления свечами накаливания; 15 -предохранитель; 16 -к клемме “+” АКБ
Рис. 9.21. Диагностический разъем (XS1):
4, 5 -масса; 6, 14 -Can-линия; 7 -К-линия; 16 -+12В
- плохое качество топлива;
-несоблюдение сроков проведения технического обслуживания.
Блок управления способен осуществлять в определенном объеме диагностику элементов системы управления двигателем.
При обнаружении неисправности блок управления включает сигнализаторы 19 и 21 (см. рис. 3.3) неисправностей на панели приборов автомобиля и в его память заносится код, отражающий данную неисправность.
ВНИМАНИЕ! При включении сигнализатора неисправности “EDC” в мигающем режиме работа двигателя не допустима, необходимо оперативно остановить автомобиль и заглушить двигатель. Эксплуатация автомобиля допускается только после устранения неисправности.
Включение сигнализаторов неисправности двигателя в режиме постоянного горения не означает, что двигатель должен быть немедленно остановлен, так как блок управления имеет резервные режимы, позволяющие двигателю работать. Тем не менее, при первой же возможности, следует обратиться на станцию технического обслуживания для проведения диагностических работ. Продолжительная эксплуатация с включенными сигнализаторами неисправности может привести к выходу из строя элементов системы управления двигателем.
ТРАНСМИССИЯ
Сцепление
ВНИМАНИЕ! Тормозная жидкость ядовита. Храните жидкость в плотно закрытой таре. При работе с жидкостью соблюдайте следующие правила:
- избегайте любых операций, в результате которых эта жидкость может попасть в полость рта;
- не давайте высохнуть жидкости, попавшей на кожу, а сразу же смойте теплой водой с мылом;
- пролитую жидкость смойте водой, помещение проветрите;
- загрязненную жидкостью одежду снимите, высушите вне помещения, выстирайте.
Уровень жидкости должен быть на 15-20 мм ниже верхнего края бачка 2 (рис. 9.22).
Положение педали выключения сцепления регулируется изменением длины толкателя 5 главного цилиндра выключения сцепления. Полный ход педали сцепления должен быть (130+10) мм. Свободный ход (5-8 мм) обеспечивается конструкцией сцепления и не регулируется.
На наличие воздуха в системе гидропривода указывает "мягкость" педали и неполное выключение сцепления.
Рис. 9.22. Привод главного цилиндра выключения сцепления: 1 -крышка бачка; 2 -корпус бачка; 3 -корпус главного цилиндра; 4 -колпак защитный; 5 -толкатель; 6 -гайка; 7 -муфта толкателя; 8 -педаль выключения сцепления; 9 -выключатель педали сцепления
Прокачку системы производите через клапан 2 (рис. 9.23) рабочего цилиндра аналогично прокачиванию гидропривода тормозов.
Коробка передач
Периодически проверяйте резьбовые соединения (см. приложение 2).
При обнаружении течи - выясните причину и неисправные детали (прокладки, манжеты) замените.
Для проверки уровня масла выверните пробку 5 (см. рис. 9.23). Уровень масла должен быть у нижнего края заливного отверстия.
При замене масла сливайте его сразу после остановки автомобиля, когда агрегат прогрет, при этом выкручивайте и пробку 5. При установке на место пробки 6 замените прокладку.
Внимание! В коробке передач и раздаточной коробке применяются разные масла.
Рис. 9.23. Рабочий цилиндр выключения сцепления, коробка передач и раздаточная коробка:
1 -цилиндр выключения сцепления; 2 -клапан перепускной; 3 -коробка передач; 4 -раздаточная коробка; 5 -пробка заливного отверстия картера коробки передач; 6 -пробка сливного отверстия картера коробки передач;
7 -пробка сливного отверстия картера раздаточной коробки; 8 -пробка заливного отверстия картера раздаточной коробки
Раздаточная коробка
Периодически проверяйте резьбовые соединения (см. приложение 2).
При обнаружении течи - выясните причину и неисправные детали (прокладки, манжеты) замените.
Для проверки уровня масла выверните пробку 8 (см. рис. 9.23). Уровень масла должен быть у нижнего края заливного отверстия.
При замене масла сливайте его сразу после остановки автомобиля, когда агрегат прогрет, при этом выкручивайте и пробку 8.
Карданная передача
Периодически проверяйте резьбовые соединения (см. приложение 2).
Шлицевое соединение смазывается через пресс-масленку 1 (рис. 9.24), ввернутую в скользящую вилку, а игольчатые подшипники смазываются через пресс-масленки 2 на крестовинах.
Смазку в игольчатые подшипники подавайте до тех пор, пока она не появится из-под рабочих кромок сальников крестовины.
Применение солидола и смесей, его содержащих, при смазке игольчатых подшипников может привести к быстрому их выходу из строя.
Вводить в шлицы излишнюю смазку не следует, так как она будет выбрасываться из шлицевого соединения, что приведет к преждевременному выходу из строя сальников и может выбить заглушку скользящей вилки.
Для смазки шарниров нужно пользоваться специальным наконечником, надеваемым на шприц.
Рис. 9.24. Задний карданный вал:
1 -пресс-масленка для смазки шлицевого соединения; 2 -пресс-масленка для смазки игольчатых подшипников шарнира
Ведущие мосты
Следите, чтобы уровень масла в картере был у нижней кромки заливного отверстия.
Масло сливайте через отверстие 2 (рис. 9.25), расположенное в нижней части картера, при этом вывинчивайте и пробку 1 заливного отверстия.
Осевой зазор в подшипниках ведущей шестерни главной передачи более 0,05 мм не допускается, т. к. при его наличии происходит быстрый износ зубьев шестерен и возможно заклинивание моста. Проверку наличия осевого зазора в подшипниках производите покачиванием ведущей шестерни за фланец крепления карданного вала.
Осевой зазор в подшипниках дифференциала главной передачи также не допускается. Проверку его производите покачиванием ведомой шестерни при снятой крышке картера.
В случае обнаружения зазоров мост подлежит регулировке. Регулировка моста трудоемкая операция, требующая определенного навыка и применения специального инструмента, поэтому рекомендуем производить регулировку только на СТО.
Передние колеса автомобиля постоянно включены. Включение и выключение переднего моста и понижающей передачи производится рычагом раздаточной коробки.
На часть автомобилей возможна установка муфт отключения колес. В этом случае при эксплуатации автомобиля по дорогам с твердым покрытием вместе с отключением переднего моста целесообразно отключать и ступицы передних колес.
Рис. 9.25. Передний мост:
1 -пробка заливного отверстия; 2 -пробка сливного отверстия; 3 -предохранительный клапан; 4 -гайка нижнего шкворня; 5 -ведущий фланец или диск муфты отключения колес
Для включения колеса поверните диск 5 (рис. 9.25) муфты по часовой стрелке до совпадения метки на диске с цифрами 4x4 на крышке муфты. При отключении колеса диск вращайте в обратном направлении до совпадения метки на диске с цифрами 4x2 на крышке муфты.
Не включайте передний мост при отключенных передних колесах.
При осмотре поворотных кулаков обращайте внимание на исправность регулировочных болтов 1 (рис. 9.26) и упоров-ограничителей 3 поворота колес. Величина угла Б поворота правого колеса вправо, а левого - влево должна быть в пределах 31-32°. Увеличенный угол поворота колес приводит к контакту колеса с деталями подвески.
В процессе эксплуатации добавление смазки в сферические шкворни и в шаровые опоры не требуется. При ремонте смазка в узлах заменяется.
Регулировка затяжки шкворней поворотного кулака на заводе производится с предварительным натягом вдоль общей оси шкворней.
Во время эксплуатации автомобиля обращайте особое внимание на состояние затяжки шкворней поворотных кулаков. При износе трущихся сферических поверхностей вкладышей или шкворней предварительный натяг исчезает и образуется зазор вдоль общей оси шкворней. Этот зазор устраняйте подтяжкой зажимной втулки.
Эксплуатация переднего ведущего моста с зазорами в шкворневых узлах приводит к преждевременному выходу из строя вкладыша верхнего шкворня.
В условиях эксплуатации удобнее всего подтягивать зажимную втулку нижнего шкворня:
Рис. 9.26. Регулировка угла поворота колес:
1 -болт ограничения поворота;
2 -контргайка; 3 -упор-ограничитель поворота
-отверните гайку;
- снимите накладку с прокладкой;
- специальным ключом подтяните зажимную втулку до устранения зазора (предварительно ударив медным молотком по резьбовому торцу шкворня);
- поворотом ключа на 10-20° дотяните эту втулку, чтобы создать предварительный натяг вдоль общей оси шкворней;
- установите накладку с прокладкой;
-затяните гайку (см. приложение 2). Внимание! Превышение момента затяжки приведет к снижению предварительного натяга и выходу из строя шкворневого узла.
Крутящий момент поворота шаровой опоры (или корпуса поворотного кулака, если шаровые опоры не отсоединялись от кожуха полуоси) при снятых уплотнительных кольцах и шарнире поворотного кулака в любую сторону относительно общей оси шкворней должен быть в пределах 10-25 Н^м (1,02,5 кгс^м).
Если контрольный параметр не будет достигнут, то повторно проведите дотяжку зажимной втулки поворотом ключа еще на 10-20° и затяните гайку с указанным крутящим моментом.
При невозможности устранения зазоров подтягиванием резьбовой втулки, необходима замена вкладышей шкворневых узлов. Для этого следует обратиться на СТО УАЗ.
Эксплуатация переднего ведущего моста с зазорами в шкворневых узлах приводит к преждевременному выходу из строя вкладыша верхнего шкворня.
ХОДОВАЯ ЧАСТЬ
Подвеска
ВНИМАНИЕ! Во избежание травм категорически запрещается разборка амортизатора.
Запрещается эксплуатация автомобиля с вышедшими из строя амортизаторами или без них, а также с изношенными шарнирами подвески.
Передние и задние амортизаторы невзаимозаменяемы.
Гидропневматические амортизаторы обслуживанию и ремонту не подлежат. При замене амотртизаторов рекомендуем заменять их комплектно по осям.
Стуки, скрипы и расслоение резины в шарнирах подвески указывают на износ, требующий их замены. В процессе
эксплуатации не допускаются деформации поперечной тяги подвески и рулевой тяги. При замене шарниров окончательную затяжку (см. приложение 2) гаек производите на автомобиле, стоящем на колесах.
При установке рессоры окончательную затяжку (см. приложение 2) гаек стремянок производите при рессорах, нагруженных весом автомобиля.
Колеса и шины
ВНИМАНИЕ! Изношенные и поврежденные шины, недостаточное или избыточное давление воздуха в них, деформированные колеса или ослабление крепления колес могут стать причиной аварии. Регулярно проверяйте состояние шин и давление воздуха в них, состояние колес и их крепление.
Так как шины различных моделей (рисунков протектора) могут иметь разные размеры и характеристики жесткости, применяйте одинаковые шины на всех колесах.
Для более равномерной затяжки завертывайте гайки, соблюдая последовательность, - через одну гайку. Окончательную затяжку гаек производите на автомобиле, стоящем на колесах (см. приложение 2).
Проверку давления производите на холодных шинах.
Если обнаружен интенсивный неравномерный износ передних шин, проверьте и отрегулируйте схождение передних колес и зазоры в шкворневых узлах.
Проверку и регулировку схождения колес необходимо производить на специальном стенде. Регулировку схождения колес производите при нормальном давлении в шинах. Регулируйте схождение колес изменением длины тяги рулевой трапеции путем вращения штуцера 2 (рис. 9.27) после предварительного ослабления контргаек 1 и 3, имеющих левую и правую резьбу. После регулировки контргайки затяните (см. приложение 2).
Рис. 9.27. Тяга рулевой трапеции:
1 -гайка с левой резьбой; 2 -регулировочный штуцер; 3 -гайка с правой резьбой; 4 -шарнир
Через каждые 10000 км пробега для равномерного износа шин производите перестановку колес. Перестановка шин должна быть побортовой - переднее и заднее колеса по одному борту меняются местами. Запасное колесо в схеме перестановки не участвует. При перестановке колес производите их балансировку.
Запасное колесо УАЗ-3163 крепится на кронштейне двери задка тремя гайками и закрывается мягким чехлом или пластиковым контейнером. Снятие запасного колеса производите в следующем порядке:
- откройте дверь задка, выньте фиксаторы держателей крышки 4 (см. рис. 3.20), потянув за крышку, снимите ее, открутите гайку-барашек стержня колпака-фиксатора;
- закройте дверь задка, снимите с запасного колеса мягкий чехол или, отстегнув защелки, пластиковый контейнер, выньте колпак-фиксатор, открутите гайки и снимите колесо.
Установку запасного колеса производите в обратном порядке. При необходимости замените фиксаторы и держатели крышки 4 (см. рис. 3.20).
Запасное колесо на УАЗ-23602(01,02) расположено в задней части рамы и должно быть надежно закреплено на держателе сектором или кронштейном .
Для исключения прижогов шины от выхлопной трубы, колесо перед закреплением необходимо отодвинуть от выхлопной трубы до появления зазора не менее 40 мм.
Ступицы колес
Наличие зазора в подшипниках проверяйте покачиванием колес.
Для замены смазки ступицу снимите с цапфы, удалите отработавшую смазку, тщательно промойте подшипники и манжету. Смажьте подшипники и рабочую кромку манжеты. Обязательно заполните смазкой пространство между роликами подшипников. Между подшипниками заложите слой смазки толщиной 10-15 мм. Не закладывайте в ступицу смазки больше нормы во избежание попадания в колесные тормозные механизмы.
Регулировку подшипников выполняйте тщательно. При слабой затяжке подшипников в них во время движения возникают удары, разрушающие подшипники. При слишком тугой затяжке происходит сильный нагрев подшипников, вследствие чего смазка вытекает и подшипники выходят из строя. Кроме того, большие зазоры в ступицах передних колес увеличивают ход тормозной педали.
Регулировку подшипников ступиц колес выполняйте в следующей последовательности:
Наличие зазора в подшипниках проверяйте покачиванием колес.
Для замены смазки ступицу снимите с цапфы, удалите отработавшую смазку, тщательно промойте подшипники и манжету. Смажьте подшипники и рабочую кромку манжеты. Обязательно заполните смазкой пространство между роликами подшипников. Между подшипниками заложите слой смазки толщиной 10-15 мм. Не закладывайте в ступицу смазки больше нормы во избежание попадания в колесные тормозные механизмы.
Регулировку подшипников ступиц колес выполняйте в следующей последовательности:
1. Вывесите автомобиль или поднимите его домкратом со стороны колеса, подшипники которого должны быть отрегулированы.
2. Снимите колпак колеса (при комплектации легкосплавными колесами). Демонтируйте полуось 9 (рис. 9.28) заднего моста или муфту отключения колес у переднего
моста.
3. Отогните ус замочной шайбы 6, отверните контргайку 7 и снимите замочную шайбу.
4. Ослабьте гайку 4 регулировки подшипников на 1/6-1/3 оборота (1-2 грани).
5. Проворачивая рукой колесо, проверьте легкость его вращения (колесо должно
Рис. 9.28. Ступица заднего
колеса:
1 -колесо; 2 -болт ступицы; 3 -гайка крепления колеса; 4 -регулировочная гайка; 5 -болт крепления полуоси; 6 -стопорная шайба; 7 -контргайка; 8 -упорная шайба; 9 -полуось; 10 -цапфа;
11 -прокладка; 12 -подшипник;
13 -ступица; 14 -упорное кольцо;
15 -тормозной барабан; 16 -импульсный диск; 17 -датчик АБС; 18 -упорная шайба; 19 -манжета
вращаться свободно без задевания тормозных колодок за диск или барабан).
6. Затяните гайку регулировки подшипников ступицы с помощью ключа и лопатки-воротка длиной 300-350 мм одной рукой до тугого вращения колеса.
При затягивании гайки нажимайте на вороток ключа плавно, без рывков и проворачивайте колесо для правильного размещения роликов на беговых дорожках колец подшипников.
7. Отпустите гайку на 1/4-1/3 оборота (1,5-2 грани), установите замочную шайбу, наверните и затяните контргайку. Момент затяжки контргайки 20 - 30 Н^м (2,0 - 3,0 кгс*м). При замене подшипника момент затяжки контргайки 30 - 40 Н^м (3,0 - 4,0 кгс*м). Замочную шайбу устанавливайте внутренним усом в паз цапфы.
Если на усах замочной шайбы есть хотя бы незначительные трещины, шайбу замените.
8. Проверьте регулировку подшипников после затяжки контргайки. При правильной регулировке колесо должно свободно вращаться без заеданий, заметного осевого зазора и качки.
9. Загните один ус замочной шайбы на грань гайки, а второй - на грань контргайки до полного прилегания к граням. Отгибайте усы замочной шайбы наиболее близко расположенные к серединам граней гайки.
10. Установите полуось заднего моста или поставьте муфту отключения колес переднего моста, очистите резьбовую часть болтов от остатков герметика, обезжирьте и нанесите новый слой герметика УГ-6, затяните болты. Установите колпак колеса (при комплектации легкосплавными колесами).
Окончательно правильность регулировки подшипников проверяйте наблюдением за нагревом ступиц колес после движения автомобиля. Если ступица нагревается сильно (рука нагрев не терпит), отпустите гайку на 1/6 оборота (1 грань), соблюдая последовательность и правила, изложенные выше.
Проверяя регулировку подшипников на нагрев, не пользуйтесь рабочими тормозами, так как в этом случае ступицы могут нагреваться от дисков и тормозных барабанов.
СИСТЕМЫ УПРАВЛЕНИЯ
Рулевое управление
ВНИМАНИЕ! При неработающем гидроусилителе возрастает усилие, необходимое для поворота рулевого колеса.
Запрещается выключать зажигание и вынимать ключ из выключателя зажигания при движении автомобиля. При вынутом ключе зажигания вал рулевого управления блокируется противоугонным устройством и автомобиль становится неуправляемым.
Если не действует рулевое управление дальнейшее движение автомобиля или его буксировка на гибкой сцепке запрещены. В этом случае буксируйте автомобиль способом частичной погрузки или воспользуйтесь услугами эвакуатора.
При выходе из строя гидроусилителя вследствие повреждения насоса, разрушения шланга или ремня привода насоса или при буксировке автомобиля из-за остановки двигателя пользоваться рулевым механизмом можно только кратковременно. При отсутствии масла в системе гидроусилителя необходимо снять ремень привода насоса, в противном случае возможно заклинивание насоса и обрыв ремня. При снятом ремне привода насоса необходимо особенно внимательно контролировать температуру охлаждающей жидкости, так как возможен перегрев двигателя.
Длительная эксплуатация автомобиля с неработающим гидроусилителем приводит к преждевременному изнашиванию механизма рулевого управления.
Смазывание шарниров рулевых тяг производите с помощью рычажно-плунжерного шприца через пресс-масленки. Смазку подавайте до ее выхода через верхние уплотнительные шайбы.
Свободный ход рулевого колеса проверяют при работе двигателя на режиме холостого хода и установленных в положение движения по прямой передних колесах, покачивая рулевое колесо в ту и другую сторону до начала поворота передних колес. Свободный ход не должен превышать 10°.
При наличии свободного хода более допустимого необходимо определить, за счет какого узла получается
увеличенный свободный ход, для чего проверить: надежность затяжки (см. приложение 2) болтов крепления картера рулевого механизма, состояние шарниров рулевых тяг, затяжку клина крепления карданного вала, зазоры в шарнирах и шлицевых соединениях карданного вала рулевой колонки, а также наличие зазоров в рулевом механизме.
При обнаружении зазора в шарнире рулевой тяги завернуть до упора заглушку 1 (рис. 9.29), а затем отвернуть ее на 1/2 оборота и в этом положении снова закернить.
При обнаружении радиального зазора в шарнире вала рулевого управления (осевое перемещение крестовины в подшипниках) произвести дополнительную раскерновку подшипников в ушках вилок. Раскерновку производить таким образом, чтобы не допустить смятие стакана подшипника.
При наличии зазоров в шлицевых соединениях карданного вала рулевой колонки замените вал.
При обнаружении зазоров в рулевом механизме произвести регулировку механизма. Регулировку производите на СТО УАЗ.
Натяжение ремня привода насоса гидроусилителя см. подраздел "Система охлаждения двигателя".
Заменяйте ремень в случае обнаружения его повреждения или при чрезмерном его растяжении.
Проверка уровня и смена масла гидроусилителя. При проверке уровня масла в масляном баке 1 (рис. 9.30) передние колеса должны быть установлены прямо. Масло доливайте до уровня сетки заливного фильтра масляного бака или выше ее не более чем на 5 мм. Масло должно быть предварительно отфильтровано через фильтр с тонкостью фильтрации не более 40 мкм.
Заправку системы производите в следующем порядке:
8
10
5
12 13 14
7
6
11
Рис. 9.29. Шарнир рулевых тяг:
1 -заглушка; 2 -пружина; 3 -пята; 4 -шайба сферическая нижняя; 5 -шайба сферическая
верхняя; 6 -кольцо защитное; 7 -пружинный колпачок; 8 -шплинт; 9,13 -гайка; 10 -палец шаровый; 11 -сухарь; 12 -наконечник; 14 -тяга
Рис. 9.30. Подкапотное пространство (фрагмент):
1 -масляный бак системы гидроусилителя рулевого управления; 2 -аккумуляторная батарея; 3 -бачок главного тормозного цилиндра
1. Отсоедините тягу сошки от сошки или вывесите передние колеса специальным подъемником.
2. Снимите крышку масляного бака, залейте масло до его появления над фильтрующей сеткой (не более чем на 5 мм).
3. Не запуская двигатель, поверните рулевое колесо или входной вал механизма от упора до упора до окончания выхода пузырьков воздуха из масла в баке. Долейте масло в бак.
4. Запустите двигатель, одновременно доливая масло в бак.
Примечание. В случае обильного вспенивания масла в баке, что свидетельствует о попадании воздуха в систему, двигатель заглушите и дайте маслу отстояться не менее 20 мин (до выхода пузырьков воздуха из масла). Осмотрите места присоединения шлангов к агрегатам системы гидроусилителя и при необходимости устраните негерметичность.
5. Дайте двигателю поработать 15 - 20 сек и прокачайте систему гидроусилителя для удаления остаточного воздуха из рулевого механизма поворотом рулевого колеса от упора до упора, не задерживая в крайних положениях, по три раза в каждую сторону.
6. При необходимости долейте масло в бак.
7. Закройте бак крышкой и затяните гайку крышки усилием руки.
8. Присоедините тягу сошки, затяните (см. приложение 2) и зашплинтуйте гайку шарового пальца.
Тормозные системы
ВНИМАНИЕ! Помните, что при неработающем двигателе или вышедшим из строя вакуумном усилителе значительно
возрастает усилие, которое необходимо приложить к педали тормоза для торможения автомобиля.
ВНИМАНИЕ! В случае выхода из строя одного из контуров тормозной системы увеличивается ход педали тормоза и снижается эффективность торможения. В этом случае не производите кратковременные многократные нажатия на педаль, а нажимайте на педаль до получения максимально возможного эффекта торможения.
Если не действует тормозная система дальнейшее движение автомобиля или его буксировка на гибкой сцепке запрещены. В этом случае буксируйте автомобиль способом частичной погрузки или воспользуйтесь услугами эвакуатора.
ВНИМАНИЕ! Тормозная жидкость ядовита. Храните жидкость в плотно закрытой таре. При работе с жидкостью соблюдайте следующие правила:
- избегайте любых операций, в результате которых эта жидкость может попасть в полость рта;
- не давайте высохнуть жидкости, попавшей на кожу, а сразу же смойте теплой водой с мылом;
- пролитую жидкость смойте водой, помещение проветрите;
- загрязненную жидкостью одежду снимите, высушите вне помещения, выстирайте.
Уровень тормозной жидкости в бачке 3 (см. рис. 9.30) проверяется визуально по меткам, нанесенным на корпусе бачка, выполненного из полупрозрачной пластмассы. При снятой крышке и новых накладках тормозных механизмов уровень жидкости должен быть на метке "MAX". Если гидропривод тормозов исправен, понижение уровня жидкости в бачке связано с износом накладок колодок тормозных механизмов. Понижение уровня жидкости до метки "MIN" косвенно свидетельствует об их предельном износе. В этом случае необходимо вести непосредственный контроль за состоянием накладок, а доливать жидкость в бачок нет необходимости, т.к. при установке новых колодок уровень жидкости в бачке поднимается до нормального.
Сигнальная лампа аварийного уровня жидкости в бачке загорается, когда уровень жидкости опустится ниже метки "MIN", что при частично изношенных или новых накладках колодок тормозных механизмов говорит о потере гер-
метичности системы и об утечке жидкости. Доливку жидкости в этом случае производите только после восстановления герметичности системы.
Одновременно с проверкой уровня жидкости в бачке проверяйте исправность работы датчика аварийного уровня, для чего выверните крышку бачка (при включенном зажигании на щитке приборов должна загореться сигнальная лампа).
Проверяйте состояние тормозных шлангов. При появлении трещин на наружной поверхности шланги необходимо заменить.
Антиблокировочная система тормозов. В зависимости от комплектации автомобили оснащаются антиблокировочной системой тормозов (АБС). АБС предотвращает блокировку колес при торможении, обеспечивая тем самым сохранение заданной траектории движения и минимальный тормозной путь. Однако при торможении на дороге с рыхлым покрытием (гравий, песок, неукатанный снег) может произойти некоторое увеличение тормозного пути по сравнению с торможением в тех же условиях с заблокированными колесами.
Торможение с участием АБС начинается со скорости около 5 км/ч и сопровождается незначительной пульсацией тормозной педали и характерным шумом исполнительных механизмов АБС.
Загорание сигнализатора 5 (см. рис. 3.4) неисправности АБС (за исключением режима самотестирования при включении зажигания) свидетельствует о неисправности в системе. И, хотя в этом случае работа гидравлического привода тормозов не нарушается, неисправность необходимо устранить на СТО УАЗ.
Загорание красного сигнализатора 2 неисправности тормозной системы (за исключением режима самотестирования при включении зажигания) свидетельствует о наличии критической неисправности (неисправность встроенной системы распределения тормозного усилия (EBD), нарушение герметичности и т.п.). Эксплуатация автомобиля с горящим сигнализатором неисправности тормозной системы не допускается.
Дисковые тормозные механизмы передних колес. Для осмотра тормозных колодок 2 (рис. 9.31) установите автомобиль
на горизонтальной площадке, затормозите стояночным тормозом и снимите колесо. Осмотр колодок проводите через окно в суппорте 4. Если фрикционные накладки износились до толщины 1,5-2,0 мм, то замените колодки новыми. Замену производите на обоих передних колесах.
Для замены тормозных колодок отверните болты 16, снимите держатель 18 и пружину 1.
Проверьте состояние тормозного диска. Если на поверхности тормозного диска имеются глубокие риски и задиры, то его необходимо снять с автомобиля, очистить и отшлифовать. При износе диска до толщины 20,4 мм замените его новым.
Убедитесь в отсутствии течи из блока цилиндров.
Проверьте защитные колпачки 5 и чехлы 8, которые должны быть без повреждений и правильно установлены в гнездах, и при необходимости замените их.
Проверьте наличие смазки на наружной поверхности втулок 10 в зоне чехлов 8 и при необходимости смажьте
Рис. 9.31. Передние дисковые тормоза:
1 -пружина; 2 -колодки; 3 -скоба; 4 -суппорт; 5 -защитный колпачок;
6 -стопорное кольцо; 7 -уплотнительное кольцо; 8 -защитный чехол;
9 -поршень; 10 -втулка; 11 -болт; 12 -винт; 13 -заглушка; 14 -перепускной клапан; 15 -колпачок; 16 -болты крепления держателя пружины; 17 -блок цилиндров; 18 -держатель пружины
смазкой УНИОЛ 2М/1 ТУ 38.5901243-92.
Переместите скобу 3 до упора поршнями 9 во внутреннюю поверхность блока цилиндров 17. Для облегчения вытеснения жидкости из блока цилиндров 17 допускается открытие перепускного клапана 14. Закройте клапан 14, как только поршни 9 полностью утопятся в блок цилиндров. Перед перемещением скобы 3 снимите крышку бачка главного цилиндра и не допускайте переливания из него жидкости при перемещении скобы.
Запрещается для утапливания поршней использовать монтажную лопатку, так как это приведет к деформации направляющих втулок 10 и выходу из строя скобы 3.
Замените изношенные тормозные колодки на новые. Замену колодок производите комплектно с обеих сторон передней оси. Для подведения колодок к диску нажмите 23 раза на педаль тормоза.
Установите пружину 1, держатель пружины 18 и заверните болты 16.
При дальнейшей эксплуатации необходимый зазор между колодками и тормозным диском поддерживается автоматически.
Барабанные тормозные механизмы задних колес (рис. 9.32). Периодически снимайте тормозные барабаны и очищайте детали тормозов от пыли и грязи. Периодичность этой операции зависит от условий эксплуатации автомобиля. В летнее время и при езде по грязным дорогам чистка должна проводиться чаще, зимой - реже.
После снятия барабана убедитесь в отсутствии течи из колесных цилиндров, а также в надежности крепления колесных цилиндров к щитам. Обращайте внимание на состояние защитных колпаков 7 колесных цилиндров и их установку, степень износа фрикционных накладок, а также состояние тормозного барабана.
Защитные колпаки должны быть плотно установлены в гнездах поршня и цилиндра и не должны иметь повреждений.
Если на рабочей поверхности барабана имеются глубокие риски, задиры или неравномерный износ, то произведите расточку барабана, базируясь на наружных обоймах подшипников ступицы. Максимально допустимый диаметр расточенного барабана рабочего тормоза - 281 мм.
1*4
Рис. 9.32. Тормоз заднего колеса:
а -метки на опорных пальцах; 1 -опорные пальцы; 2 -щит; 3 -отверстия для визуального контроля состояния тормозных накладок; 4 -колесный тормозной цилиндр; 5 -перепускной клапан; 6,12 -тормозные колодки;
7 -защитный колпак; 8 -поршень; 9 -уплотнительные кольца; 10 -упорное кольцо; 11 -стяжная пружина
Переставлять тормозные барабаны с одной ступицы на другую не рекомендуется, так как это приводит к увеличению биения рабочих поверхностей барабана.
Зазор между колодками и барабаном по мере износа накладок восстанавливается автоматически.
В случае большого износа накладок (заклепки утопают менее 0,5 мм) их необходимо заменить.
При замене изношенных колодок или накладок поршень вместе с упорным кольцом необходимо сдвинуть вглубь цилиндра для свободного надевания барабана на колодки. После сборки необходимо нажать 2-3 раза на педаль тормоза для установки поршней в рабочее положение.
Не нажимайте на педаль тормоза при снятом тормозном барабане или снятых колодках переднего тормозного механизма, так как под давлением жидкости поршни будут выжаты из колесных цилиндров и жидкость вытечет наружу.
Для облегчения последующего снятия при каждом снятии барабана зачищайте буртик на краю поверхности трения, образующийся от износа барабана.
При снятых ступицах подтягивайте болты крепления тормозных щитов.
Регулятор давления. На автомобилях, не оснащенных антиблокировочной системой тормозов, устанавливается механический регулятор давления (рис. 9.33), который обеспечивает оптимальное распределение тормозных сил по осям автомобиля и не дапускает блокировку задних колес раньше передних. При обслуживании проверяйте работоспособность регулятора давления. Очищайте регулятор от грязи и проверяйте надежность его крепления. Внешним осмотром убедитесь, что регулятор и детали его привода не имеют повреждений, отсутствуют подтекания тормозной жидкости и люфты в соединении стойки с упругим рычагом и кронштейном на заднем мосту.
При нажатии на педаль тормоза поршень17 регулятора давления должен выдвинуться из корпуса на 1,7 - 2,3 мм. Отсутствие хода поршня, а также его недостаточный или чрезмерный ход свидетельствует о неисправности регулятора или его привода.
Обращайте внимание при осмотрах гидропривода на состояние защитного чехла 1 и на расположение контрольной
Рис. 9.33. Регулятор давления:
1 -защитный чехол; 2 -стопорное кольцо; 3 -втулка; 4 -уплотнительное кольцо поршня; 5, 7 -опорная шайба пружины поршня; 6 -пружина поршня; 8 -уплотнитель; 9 -втулка корпуса; 10 -манжета; 11 -пробка; 12 -прокладка пробки; 13 -перепускной клапан; 14 -колпачок; 15 -заглушка; 16 -корпус; 17 -поршень
заглушки 15 и отсутствие подтекания из-под нее тормозной жидкости. В нормальном состоянии заглушка должна быть утоплена в отверстие корпуса регулятора до упора. При выступании заглушки из отверстия и подтекании тормозной жидкости регулятор подлежит замене.
Защитный чехол должен быть плотно установлен в гнездах поршня и корпуса и не должен иметь повреждений.
В процессе эксплуатации и при замене задних рессор необходимо регулировать усилие упругого рычага 4 (рис. 9.34) на поршень регулятора. Регулировку производите в следующей последовательности:
1. Установите снаряженный автомобиль на ровной горизонтальной площадке.
2. Ослабьте контргайку регулировочного болта 3 и отверните болт на 2-3 оборота.
3. Заверните болт 3 до соприкосновения его с хвостовиком поршня 17 (см. рис. 9.33) регулятора.
4. Доверните болт 3 (см. рис. 9.34) на 2 и 1/3 оборота (14 граней головки болта.
5. Затяните контргайку.
6. Проверьте ход поршня регулятора (см. выше).
7. Проверьте правильность регулировки при движении автомобиля. Для этого, двигаясь по прямому горизонтальному участку дороги с сухим асфальтовым покрытием, затормозите автомобиль до блокировки колес. При исправном регуляторе и правильно выполненной регу-
Рис. 9.34. Привод регулятора давления:
1 -регулятор давления; 2 -рычаг привода; 3 -регулировочный болт; 4 -упругий рычаг; 5 -стойка рычага
лировке привода должно быть некоторое опережение блокировки передних колес относительно задних. В случае опережающей блокировки задних колес дополнительно отверните болт 3 на 1-2 грани головки болта и повторите проверку при движении автомобиля.
Для безотказной работы тормозов регулярно заменяйте жидкость. Замену жидкости производите путем слива старой жидкости через перепускные клапаны колесных цилиндров и регулятора давления и замещения ее свежей.
Заполнение тормозной системы производите в следующей последовательности:
1. Проверьте герметичность всех соединений гидравлического привода тормозов и состояние гибких резиновых шлангов.
2. Очистите от пыли и грязи перепускные клапаны и защитные колпачки колесных цилиндров, блоков цилиндров и регулятора.
3. Очистите от пыли поверхность бачка главного цилиндра вокруг крышки и отверните крышку. Заполните бачок тормозной жидкостью до отметки МАХ.
4. Нажмите несколько раз на педаль тормоза, чтобы исключить влияние разряжения, имеющегося в вакуумном усилителе тормозов.
5. Прокачайте поочередно полости правого и левого колесных цилиндров задних тормозов, переднего контура регулятора давления (для автомобилей не оснащенных АБС), правого и левого блоков цилиндров передних тормозов.
Прокачку осуществляйте в следующей последовательности:
1. Снимите с перепускного клапана колесного цилиндра, блока цилиндров или регулятора давления (для автомобилей не оснащенных АБС) колпачок и наденьте на клапан специальный резиновый шланг длиной около 400 мм.
Другой конец этого шланга опустите в прозрачный сосуд емкостью не менее 0,5 л, заполненный наполовину тормозной жидкостью.
2. Резко нажмите 3-5 раз на педаль тормоза и, удерживая педаль нажатой до упора, отверните перепускной клапан на 1/2-3/4 оборота, выпустив порцию жидкости из системы в сосуд. После того, как педаль уйдет вперед до упора,
заверните клапан. Повторяйте эту операцию до прекра-щения выделения пузырьков воздуха из шланга, опущенного в сосуд с тормозной жидкостью.
3. По окончании прокачки, удерживая педаль нажатой до упора, заверните клапан (см. приложение 2) и снимите шланг. Протрите насухо головку клапана и наденьте защитный колпачок.
4. Долейте в бачок главного цилиндра тормозную жидкость до отметки МАХ.
Заверните крышку бачка. Затяжку крышки производите с усилием, исключающим ее поломку.
В процессе прокачки своевременно доливайте жидкость в бачок главного цилиндра, не допуская снижения уровня жидкости в бачке более чем на 2/3 его объема. Конец шланга держите погруженным в жидкость.
Проверьте работу тормозной системы на ходу автомобиля. При правильной регулировке рабочих тормозов, их привода и правильно выполненной прокачке тормозной системы полное торможение должно происходить в пределах 1/2 - 2/3 хода педали.
Не рекомендуется доливать в бачок главного цилиндра тормозную жидкость, собираемую в сосуд при прокачке.
Свободный ход педали тормоза при необходимости регулируйте вращением регулировочного винта 6 (рис. 9.35). Свободный ход педали должен быть 5-8 мм. После регулировки затяните гайку винта с моментом 14 - 18 Н^м (1,4 - 1,8 кгс*м).
Выключатели 4 регулируйте при помощи гаек 7, обеспечивая зазор 0,5 мм, указанный на рисунке. После регулировки затяните гайки с моментом 4 - 6 Н^м (0,4 - 0,6 кгс*м).
Стояночная тормозная система
ВНИМАНИЕ! После остановки автомобиля необходимо затормозить его стояночным тормозом.
При постановке автомобиля в холодное время года на длительную стоянку после движения по мокрым дорогам не используйте стояночный тормоз во избежание примерзания колодок к барабану. В этом случае включите первую или заднюю передачу (при любом, кроме нейтрального, положении рычага раздаточной коробки), при необходимости, например на уклоне, подложите под колеса клинья.
Рис. 9.35. Привод главного тормозного цилиндра:
1 -картер главного тормозного цилиндра; 2 -бачок; 3 -вакуумный усилитель; 4 -выключатели сигнала торможения; 5 -педаль тормоза; 6 -гайки; 7 -буфер
Колодки тормоза очищайте от пыли и грязи, а в случае "засмоления" поверхностей накладок зачищайте их наждачной бумагой. Замасленные накладки замените или опустите на 20-30 мин в чистый бензин и тщательно зачистите наждачной бумагой или металлической щеткой.
В случае большого износа накладок (заклепки утопают менее 0,5 мм) их необходимо заменить. На новых колодках накладки прошлифуйте так, чтобы их диаметр был на 0,20,4 мм меньше диаметра тормозного барабана.
Несмотря на герметизацию разжимного и регулировочного механизмов, в них постепенно накапливается грязь, поэтому механизмы (особенно разжимной) периодически разбирайте, очищайте от грязи и закладывайте свежую смазку ("Литол-24"). При этом смазка не должна попадать на барабан и фрикционные накладки.
Регулировку тормоза производите, когда ход рычага тормоза становится более половины своего максимального хода и эффективность торможения становится недостаточной.
ВНИМАНИЕ! Регулировку производить из смотровой ямы или используя автомобильный подъемник.
Регулировку зазоров между колодками и барабаном производите в следующей последовательности:
1. Поставьте рычаг раздаточной коробки в нейтральное положение.
2. Переместите рычаг стояночного тормоза 1 (рис. 9.36) в крайнее нижнее положение.
3. Поднимите автомобиль специальным подъемником.
При проведении работ из смотровой ямы:
- подложите под передние колеса клинья;
- приподнимите домкратом автомобиль со стороны любого заднего колеса и установите под кожух полуоси моста специальную подставку.
4. Заверните регулировочный винт 10 так, чтобы тормозной барабан усилием руки не проворачивался.
5. Вращением гаек 5 выбирите слабину троса 7 и зазоры в приводе. При необходимости отрегулируйте натяжение троса 7 привода изменением длины тяги 15 или перестановкой наконечника троса привода в верхнее положение на рычаге 1.
Регулировку длины тяги привода производите в следующей последовательности:
1. Отверните регулировочный винт 10 на 4-6 щелчков (1/3-1/2 оборота), чтобы барабан свободно вращался от усилия руки.
2. Отверните контргайку 16 регулировочной вилки 17, расшплинтуйте и выньте палец, соединяющий вилку и рычаг 18 привода.
3. Вращая вилку 17 совместите отверстия в вилке и рычаге 18. При этом необходимо выбрать зазоры в разжимном механизме и приводе, переместив конец рычага 18 с отверстием и тягу 15 навстречу друг к другу.
4. Поставьте палец, зашплинтуйте его и затяните контргайку.
При правильной регулировке автомобиль должен затормаживаться при установке собачки рычага в 4-ю - 6ю впадину сектора, считая от нижней части (4-6 щелчков).
Запрещается проверять работу стояночной тормозной системы при трогании с места или при движении. Это следует делать только на уклоне.
1 -рычаг привода с сектором; 2 -палец; 3, 13 -шплинты; 4 -выключатель сигнала стояночного тормозного механизма; 5, 6 -гайки; 7 -трос привода; 8 -болты; 9 -пружинные шайбы; 10 -регулировочный винт; 11 -оттяжная пружина; 12 -кронштейн пружины; 14 -промежуточный рычаг; 15 -тяга привода; 16 -контргайка; 17 -регулировочная вилка; 18 -рычаг привода; 19 -
корпус шариков разжимного механизма
ЭЛЕКТРООБОРУДОВАНИЕ
Монтажный блок и блок реле и предохранителей
Основное количество реле, применяемых в системе электрооборудования автомобиля, а также плавкие предохранители установлены в монтажном блоке и блоке реле и предохранителей.
Монтажный блок (рис. 9.37) расположен под панелью приборов слева от рулевой колонки.
Для доступа к монтажному блоку поверните винт на крышке 21 (см. рис. 3.1) и снимите ее.
Для удобства замены предохранителей в комплект монтажного блока входит пластмассовый пинцет.
Рис. 9.37. Монтажный блок:
К2 -реле-прерыватель стеклоочистителя; КЗ -реле-прерыватель указателей поворота; К4 -реле включения ближнего света фар; К5 -реле включения дальнего света фар; К6 -дополнительное (разгрузочное) реле; К7 -реле включения обогрева заднего стекла; К8 -реле включения противотуманных фар; F1-F23 -плавкие предохранители (см. таблицу)
Рис. 9.38. Блок реле и предохранителей
Блок реле и предохранителей расположен слева под капотом автомобиля (рис. 9.38). Схема расположения реле и предохранителей находиться на внутренней стороне крышки блока.
Для доступа к реле и предохранителям блока реле необходимо снять его крышку.
Прежде чем заменить перегоревший предохранитель, выясните причину его сгорания и устраните ее.
Блок реле и предохранителей кондиционера расположен справа под капотом автомобиля (рис. 9.39).
При снятии реле и предохранителей не допускается применять металлические предметы.
Не допускается применять предохранители, не предусмотренные конструкцией (см. таблицу).
Рис. 9.39. Реле и предохранители:
К1 -реле включения вентилятора отопителя салона; К2 -реле 1 заслонки рециркуляции; КЗ -реле 2 заслонки рециркуляции; К4 -реле муфты компрессора; К5 -
реле вентилятора 1; К6 -реле вентилятора 2; F1-F3 -плавкие
предохранители (см. таблицу)
Цепи, защищаемые плавкими предохранителями
|
Обозначение |
Сила тока, А |
Защищаемые цепи |
|
F1 |
5 |
Монтажный блок (см. рис. 9.37) Освещение выключателей и органов управления, |
|
F2 |
7,5 |
габаритные огни левого борта Ближний свет правой фары |
|
F3 |
10 |
Дальний свет правой фары |
|
F4 |
10 |
Правая противотуманная фара |
|
F5 |
30 |
Система электростеклоподъемников дверей, |
|
F6 |
15 |
электропривод люка Штепсельная розетка переносной лампы |
|
F7 |
20 |
Звуковые сигналы, электропривод зеркал |
|
F8 |
20 |
Обогрева заднего стекла, наружных зеркал, МУС |
|
F9 |
20 |
Очистители и смыватели стекол, дополнительный |
|
F10 |
20 |
отопитель салона Прикуриватель |
|
F11 |
5 |
Габаритные огни правого борта, освещение |
|
F12 |
7,5 |
номерного знака Ближний свет левой фары |
|
F13 |
10 |
Дальний свет левой фары и сигнализатор |
|
F14 |
10 |
дальнего света фар Левая противотуманная фара |
|
F15 |
20 |
Система электроблокировки замков дверей |
|
F16 |
10 |
Аварийная сигнализация и указатели поворота |
|
F17 |
7,5 |
Плафоны освещения, выключатель сигнала |
|
F18 |
25 |
торможения Отопитель, выключатель обогрева заднего |
|
F19 |
10 |
стекла и наружных зеркал Комбинация приборов, выключатель света |
|
F20 |
7,5 |
заднего хода Задние противотуманные огни |
|
F21-23 |
10; 20; 30 |
Запасные предохранители |
|
F1 |
7,5 |
Реле и предохранители (см. рис. 9.39) Муфта компрессора кондиционера |
|
F2, F3 |
30 |
Вентилятор 1, вентилятор 2 |
Генератор
Предупреждение. Даже кратковременная работа двигателя при отключенной аккумуляторной батарее может вызвать повреждение диодов генератора.
Снимая генератор для технического обслуживания, отключите аккумуляторную батарею.
Содержите генератор в чистоте. Продувайте генератор сжатым воздухом для удаления пыли и проверяйте состояние щеточного узла. При необходимости заменяйте щетки.
Аккумуляторная батарея
ВНИМАНИЕ! При работе с электролитом соблюдайте особую осторожность. Для предотвращения отравления и химических ожогов соблюдайте следующие правила:
- строго соблюдайте требования безопасности, изложенные в инструкции на аккумуляторную батарею;
- попадание электролита или его паров в полость рта, органы дыхания или глаза крайне опасно;
- избегайте любых операций, в результате которых электролит может попасть на кожу. Если это произошло, осторожно снимите электролит ватой и незамедлительно промойте оставшиеся на коже следы 5% раствором аммиака или углекислого натрия;
- пролитый электролит соберите с помощью специальной груши или ареометра, смойте водой, помещение проветрите;
- для зарядки батареи снимите ее с автомобиля и выкрутите заливные пробки;
- зарядку батареи необходимо вести в хорошо проветриваемом помещении. Скопление паров электролита опасно для здоровья и взрывоопасно.
Батарея 2 (см. рис. 9.22) установлена на кронштейне под капотом автомобиля.
Если при нормальной эксплуатации автомобиля батарея постепенно разряжается или чрезмерно заряжается генератором и электролит начинает "кипеть", то необходимо проверить работу генератора.
Аккумуляторную батарею содержите в чистом и заряженном состоянии, защищайте выводы батареи и наконечники проводов от окислов.
Периодически прочищайте вентиляционные отверстия в пробках, проверяйте уровень электролита и при необходимости доливайте дистиллированную воду.
Перед началом эксплуатации произведите корректировку плотности электролита в соответствии с климатическим районом, в котором будет эксплуатироваться автомобиль (см. инструкцию по эксплуатации аккумуляторных батарей).
На автомобиль заводом устанавливается аккумуляторная батарея с плотностью электролита 1,28+0,01 г/см3.
Не допускайте длительный разряд батареи током большой силы (при пуске холодного двигателя зимой).
Двигатель необходимо тщательно готовить к пуску и включать стартер только на короткое время - не более 5 с.
Эксплуатацию аккумуляторной батареи осуществляйте в соответствии с инструкцией по эксплуатации аккумуляторных батарей, приложенной к автомобилю.
Стартер
Снимая стартер для технического обслуживания, отключите аккумуляторную батарею.
Периодически очищайте стартер от грязи и внешним осмотром определяйте состояние крепления стартера к картеру сцепления.
Проверяйте выходные зажимы тягового реле, рабочую поверхность электрических контактов. Проверяйте привод стартера - шестерню, рычаг и пружину.
Трущиеся детали очищайте от грязи и при необходимости смазывайте смазкой "Литол-24".
Привод стартера должен свободно, без заеданий перемещаться по шлицам вала и возвращаться в исходное положение под действием возвратной пружины. Ротор не должен вращаться при повороте шестерни привода в направлении рабочего вращения. Поднимайте щетки и проверяйте легкость вращения ротора в подшипниках от руки.
Предупреждения: 1. Муфта свободного хода стартера может выйти из строя, если стартер остается включенным после того, как двигатель начал работать.
2. Не мойте крышки стартера и привод в бензине или керосине во избежание вымывания смазки из бронзографитовых пористых подшипников скольжения.
Система освещения, световой и звуковой сигнализации
Обслуживание фар заключается в их регулировке и замене вышедших из строя ламп.
Регулировку фар производите в следующей последовательности:
1. Установите полностью заправленный и снаряженный автомобиль с нормальным давлением воздуха в шинах и нагруженным сиденьем водителя 750 Н (75 кгс) на ровной горизонтальной площадке на расстоянии 5 м от экрана со специальной разметкой (рис. 9.40).
2. Установите регулятор 3 (см. рис. 3.2) корректора фар в положение "0".
3. Включите ближний свет фар и, поочередно закрывая каждую фару, вращением регулировочного винта 1 (рис. 9.41) и регулировочной шестерни 2 добейтесь, чтобы светотеневая граница слева от точек Е и Е' совпадала с линией 1, а справа - с линиями 2 и 2' для левой и правой фар соответственно. Точки перелома светотеневой границы должны совпадать с точками Е и Е'.
Замена ламп фар. Для замены лампы указателей поворота снимите колодку с патрона 8 (см. рис. 9.41), поверните патрон
Рис. 9.40. Разметка экрана для регулировки фар:
Н - расстояние центра фар от уровня земли; V-V - проекция продольной оси автомобиля; А-А, В-В - оси центров фар
Рис. 9.41. Фара:
1 -регулировочный винт; 2 -регулировочная шестерня с внутренним шестигранником; 3 -скоба; 4 -лампа дальнего света; 5 -лампа ближнего света; 6 -крышка; 7 -патрон лампы габаритного огня; 8 -патрон лампы указателя поворота
по часовой стрелке (для правой фары) или против часовой стрелки (для левой фары) и выньте патрон в сборе с лампой.
Для замены лампы габаритных огней потяните за патрон 7 и выньте его в сборе с лампой.
Для замены ламп дальнего 4 и ближнего 5 света выведите из пазов на крышке 6 пружинные скобы 3 и снимите крышку. Отсоедините от лампы провод, выведите из пазов усики пружинной защелки лампы и выньте лампу.
Установку галогенных ламп производите в перчатках, не касаясь колбы лампы. При наличии на колбе жировых следов, удалите их спиртом.
Противотуманные фары. Для регулировки противотуманных фар ослабьте гайки 1 и 2 (рис. 9.42) крепления фар и, поворачивая корпус фары в горизонтальной и вертикальной плоскостях, установите фару в положение, при котором светотеневая граница совпадает с линией 1 (рис. 9.43), и в этом положении затяните гайки.
Для замены ламп противотуманных фар отсоедините от
Рис. 9.42. Противотуманная фара:
1, 2 -гайки; 3 -крышка фары; 4 -винты; 5 -провод с колодкой
жгута проводов колодку 5, отверните винты 4 и снимите заднюю крышку фары.
Установку галогенных ламп производите в перчатках, не касаясь колбы лампы. При наличии на колбе жировых следов,
Рис. 9.43. Разметка экрана для регулировки противотуманных фар: Н - расстояние центра фар от уровня земли; V-V - проекция продольной оси автомобиля; А-А, В-В - оси центров фар
удалите их спиртом.
Боковые указатели поворота установлены сбоку на передних крыльях. Для замены лампы указателя поворота сожмите фиксаторы 1 (9.44) и снимите указатели поворота с автомобиля, затем выньте патрон 2 с лампой.
Задние фонари установлены на задней боковине кузова.
Замену ламп заднего фонаря производите из салона автомобиля. Для этого выньте фиксатор 1 (рис.9.45) нижнего держателя 2 крышки, потянув за крышку 3, выньте держатель из отверстия обивки и поверните крышку. Вынимая патроны с лампами в сборе, поворотом против часовой стрелки можно заменить любую лампу (рис. 9.46). При необходимости замените держатель 1 с фиксатором 2.
I
Рис. 9.44. Боковой указатель поворота:
1 -фиксаторы; 2 -патрон
Рис. 9.45. Люк доступа к задним фонарям:
1 -фиксатор держателя крышки; 2 -держатель крышки; 3 -крышка
Рис. 9.46. Задние фонари:
1 -патрон лампы сигнала торможения; 2 -патрон лампы указателей поворота; 3 -патрон лампы света заднего хода; 4 -патрон лампы противотуманного и габаритного огней
Фонари освещения номерного знака установлены в ручке двери задка. Для замены лампы отверните винты 7 (рис. 9.47) и выньте фонарь. Вставьте отвертку в паз 5 и, нажав на защелку 6, снимите рассеиватель 3.
Фонарь дополнительного сигнала торможения установлен на
Рис. 9.47. Фонари освещения номерного знака: 1 -ручка двери задка; 2 -корпус фонаря; 3 -рассеиватель фонаря; 4 -лампа; 5 -паз; 6 -защелка 7 -винты
внутренней панели двери задка. Для замены ламп снимите накладку 1 (рис. 9.48), потянув ее на себя за верхнюю часть, отверните винты 3, выньте из корпуса фонаря крышку 2 в сборе с патронами и при помощи пинцета выньте лампу.
Плафоны освещения салона. Для замены ламп плафонов освещения салона аккуратно с боков нажмите на рассеиватель (рис. 9.49) и снимите его.
Плафоны индивидуального освещения. Для замены лампы осторожно, чтобы не повредить обивку крыши и плафон, подденьте отверткой корпус 1 (рис. 9.50) и потяните плафон вниз. С помощью отвертки выведите из зацепления защелки 7 патрона и выньте патрон.
Плафоны подсветки вещевых ящиков и монтажного блока. Для замены лампы извлеките плафон, сжав концы пружинных фиксаторов 1 (9.51).
Комбинация приборов. Для замены ламп подсветки или
Рис. 9.48. Фонарь дополнительного сигнала торможения:
1 -накладка фонаря; 2 -крышка фонаря; 3 -винты
Рис. 9.49. Плафоны освещения салона
Рис. 9.50. Плафоны индивидуального освещения:
1 -корпус плафона; 2 -обивка крыши; 3 -установочное кольцо; 4 -защелка плафона; 5 -лампа; 6 -патрон; 7 -защелка патрона
контрольных ламп включения указателей поворота необходимо снять комбинацию приборов: отверните винты 2 (рис. 9.52), снимите облицовку 1, отверните четыре винта крепления комбинации приборов, выньте ее, отсоединив колодки жгутов проводов. Поверните против часовой стрелки патрон лампы и выньте патрон с лампой в сборе.
Контрольно-измерительные приборы и аварийные сигнализаторы
При снятии электрических датчиков концы проводов необходимо изолировать во избежание короткого замыкания. Чтобы не повредить корпуса датчиков указателя температуры и аварийной температуры охлаждающей жидкости, пользуйтесь при их снятии шестигранным торцовым или накидным ключом.
Не допускайте понижения уровня жидкости в радиаторе системы охлаждения, так как при этом может выйти из строя датчик.
Радиооборудование
Рис. 9.51. Плафон подсветки вещевых ящиков и монтажного блока: 1 -пружинные фиксаторы; 2 -лампа; 3 -выключатель
вид сзади
Рис. 9.52. Комбинация приборов:
1 -облицовка комбинации приборов; 2 -винты; 3 -патрон сигнализатора включения дальнегосвета фар; 4, 12 -патроны ламп подсветки шкал приборов; 5 -патрон сигнализатора включения указателя правого поворота;
6 -место крепления комбинации приборов; 7 -патрон сигнализатора разряда АКБ; 8 -патрон сигнализатора включения указателя левого поворота;
9, 10, 13, 15 -колодки; 11, 14 -патроны ламп подсветки индикаторов;
На внутренних панелях передних дверей предусмотрены посадочные места для громкоговорителей диаметром 130 мм.
Магнитола должна устанавливаться на накладке консоли панели приборов. Для подключения питания магнитолы предусмотрена двухклемная колодка на основном жгуте проводов, расположенная под панелью приборов (голубой провод - "+", черный - "масса"), а для подключения громкоговорителей - 4-х клемные колодки на жгуте проводов громкоговорителей.
Подключение антенны, магнитолы и громкоговорителей, а также правила эксплуатации указаны в инструкциях по эксплуатации на указанные изделия.
КУЗОВ
Для сохранения хорошего внешнего вида автомобиля постоянно проводите профилактический уход за лакокрасочным покрытием кузова. Чтобы не появлялись царапины на окрашенной поверхности, не удаляйте пыль и грязь сухим обтирочным материалом. Мойку кузова проводите струей воды небольшого напора с использованием автомобильного шампуня и мягкой ветоши. Не допускается применение губчатого материала.
При мойке кузова с применением установки типа "Karcher" используйте режимы "лопатка", "веер" и им
аналогичные. Режим типа ' 'струя" не рекомендуется использовать в местах проемов дверей и окон во избежание возможного отжима уплотнителя и попадания воды в салон.
Обтирайте вымытые поверхности кузова насухо, чтобы после высыхания летом не образовались на них пятна, а зимой при замерзании капель воды - трещины на окрашенной поверхности. Не применяйте для мойки содовые и щелочные растворы, т.к. после их использования лакокрасочное покрытие тускнеет.
ВНИМАНИЕ! Не мойте автомобиль при работающем двигателе.
По возможности не ставьте автомобиль на солнце во избежание порчи резины колес и уплотнителей.
В целях сохранения окрашенной поверхности кузова используйте профилактические полирующие составы: автоэмульсию, полироль (аэрозоль), воск марки АВ-70 (для автомобилей) и др. Для восстановления блеска потускневшей окрашенной поверхности кузова применяйте очищающе-полирующий состав.
Во время эксплуатации автомобиля рекомендуется периодически для сохранения кузова от преждевременного разрушения обрабатывать поверхности, особенно закрытые полости, антикоррозийными составами типа "Мовиль", "Тектил" и др. Обработку закрытых полостей кузова проводите через специальные отверстия в панелях и поперечинах пола, которые закрываются резиновыми пробками.
Поверхность днища кузова, покрытую битумной мастикой, по мере необходимости восстанавливайте промазкой мастикой из специального распылителя или кистью.
СМАЗКА АВТОМОБИЛЯ
Долговечная и безотказная работа автомобиля в большой степени зависит от своевременной смены масла и смазки в агрегатах и узлах.
Точное выполнение всех указаний настоящего руководства и сервисной книжки по смазке автомобиля является обязательным. Наименование смазок указаны в таблице "смазочные материалы и специальные жидкости" (см. приложение 3). Применение масел и смазок, не указанных в
таблице смазки, а также нарушение сроков смазки не допускается.
Описание методов смазки узлов и проведения замены смазки дано в соответствующих разделах руководства.
В течение суток после преодоления брода проверьте состояние масла во всех агрегатах. Если в масле будет обнаружена вода, то замените масло в этом агрегате. Следует также смазать до выдавливания свежей смазки все пресс-масленки шасси.
При проведении смазочных операций соблюдайте следующие требования:
1. Сливайте масло из двигателя и агрегатов трансмиссии при его замене сразу после остановки автомобиля, когда агрегаты прогреты.
2. Тщательно удаляйте грязь с пресс-масленок и пробок перед тем, как производить смазку, чтобы избежать проникновения грязи в механизмы автомобиля.
3. Тщательно удаляйте после смазки автомобиля со всех деталей выступившую или вытекшую смазку.
4. Промывайте картеры перед заливкой свежего масла, если масло в картерах двигателя и агрегатов трансмиссии сильно загрязнено или в нем замечены металлические частицы.
5. Не допускается смешивание (доливка) моторных масел различных марок и различных изготовителей.
При смене марки масла или его производителя промойте систему смазки двигателя.
6. Смешивание смазки "Литол-24" с заменяющей ее смазкой "Лита" допускается в любых пропорциях. При применении других заменителей узел промойте керосином.
7. Смешивание тормозных жидкостей "Роса", "Роса-3", "РосДот", "Томь", "Роса Дот-4" допускается в любых пропорциях.
ГЛАВА 10. ИНСТРУМЕНТ И ПРИНАДЛЕЖНОСТИ
Каждый выпускаемый с завода автомобиль снабжается комплектом водительского инструмента и принадлежностей согласно описи, прикладываемой к автомобилю.
Домкрат (рис. 10.1 или 10.2) предназначен для вывешивания колес автомобиля при его техническом обслуживании или
ремонте. Грузоподъемность домкратов 2 т. Наибольшая высота подъема домкрата, приведенного на рис. 10.1 - 240 мм, на рис. 10.2 - 295 мм.
ВНИМАНИЕ! Неправильно установленный или неисправный домкрат может стать причиной серьезной травмы или повреждения автомобиля. Категорически запрещено производить работы под автомобилем, стоящим только на домкрате;
Последовательность действий для вывешивания колеса при применении домкрата, приведенного на рис. 10.1:
1 . Затормозите автомобиль стояночным тормозом, включите первую или заднюю передачу в коробке передач, при этом убедитесь, что рычаг управления раздаточной коробкой не находится в нейтральном положении. При необходимости подложите клинья под колесо, противоположное вывешиваемому.
2 .Установите домкрат на горизонтальную площадку под кожух полуоси.
3 .Выверните внутренний винт 3 домкрата насколько позволяет просвет между кожухом полуоси и опорной поверхностью грунта.
4 .Перебросьте "собачку" 5 домкрата на левую сторону относительно ручки 6 так, чтобы выступ "собачки" вошел в вырез храпового колеса 7.
5 . Поднимайте качательными движениями лопатки-воротка, вставленной в отверстие ручки, колесо автомобиля на необходимую высоту;
6 . Для опускания колеса "собачку" домкрата перебросьте в правую сторону и качательными движениями лопатки-воротка углубите винты домкрата в корпус 1. По окончании работы наружный 2 и внутренний 3 винты домкрата вверните в корпус до упора.
Последовательность действий для вывешивания колеса при применении домкрата, приведенного на рис. 10.2:
1. Затормозите автомобиль стояночным тормозом, включите первую или заднюю передачу в коробке передач, при этом убедитесь, что рычаг управления раздаточной коробкой не находится в нейтральном положении. При необходимости подложите клинья под колесо, противо-
Рис. 10.1. Домкрат:
1 -корпус; 2 -наружный винт;
3 -внутренний винт; 4 -головка; 5 -"собачка"; 6 -ручка;
7 -храповик
Рис. 10.2. Домкрат:
1 -шестигранник под ключ "22"
положное вывешиваемому.
2. Установите домкрат на горизонтальную площадку под кожух полуоси.
3. Поднимайте колесо автомобиля на необходимую высоту, вращая шестигранник 1 домкрата по часовой стрелке с помощью ключа для гаек колес;
4. Для опускания колеса вращайте шестигранник 1 ключом для колес против часовой стрелки. По окончании работы, вращая шестигранник ключом, полностью сложите домкрат.
Обслуживание домкратов заключается в периодической очистке от грязи и смазке резьбовых частей.
Следите за состоянием заклепочных соединений домкрата его винтов и рычагов. Деформация или повреждения винтов и рычагов, ослабление заклепочных соединений не допускаются. В этом случае замените домкрат.
Если автомобиль длительное время (более 4 месяцев) не будет эксплуатироваться, необходимо произвести его консервацию, для чего:
1. Проведите очередное техническое обслуживание.
2. Вымойте автомобиль и вытрите насухо. Удалите коррозию и подкрасьте места повреждения краски.
3. Залейте для предохранения цилиндров двигателя от коррозии в каждый цилиндр двигателя по 30-50 г горячего обезвоженного моторного масла, применяемого для двигателя. Для распределения масла по всей поверхности цилиндров проверните (при вывернутых свечах зажигания и отсоединенных от катушек зажигания проводах питания) коленчатый вал двигателя стартером (3-5 сек).
4. Очистите от грязи всю электропроводку и тщательно протрите насухо.
5. Очистите и смажьте пластичной смазкой ПВК (при ее отсутствии - техническим вазелином) все неокрашенные наружные металлические поверхности автомобиля и неокрашенные части шарнирных соединений (петель и замков дверей и других узлов, а также свечи зажигания). Окрашенные поверхности промойте и протрите насухо.
6. Смажьте рессоры графитной смазкой.
7. Проверьте, очистите инструмент и принадлежности, оберните промасленной бумагой или материей.
8. Оклейте стекла кузова с наружной стороны светонепроницаемой бумагой (тканью) или закройте щитками.
9. Снимите, если необходимо, колеса с автомобиля и их разберите. Очистите диски колес от грязи, коррозии, а при необходимости выправьте и окрасьте. Шины очистите от грязи, вымойте и насухо протрите. Камеры и внутренние поверхности покрышек протрите тальком. Соберите колеса с шиной, доведите давление в них до нормы и поставьте на место.
10. Промойте, если необходимо, топливные баки и полностью залейте топливом.
11. Подготовьте аккумуляторную батарею к длительному хранению согласно указаниям (см. инструкцию по эксплуатации аккумуляторных батарей).
12. Заклейте входной патрубок воздушного фильтра и выпускную трубу глушителя бумагой, пропитанной солидолом.
13. Ослабьте натяжение ремней привода вентилятора и генератора.
14. Слейте жидкость из системы охлаждения и бачка смывателя.
15. Загерметизируйте картеры раздаточной коробки, переднего и заднего мостов, обернув предохранительные клапаны этих агрегатов изоляционной лентой.
16. Заклейте щель между тормозными щитами и барабанами бумагой, пропитанной солидолом.
17. Предохраните шины и другие резиновые детали от прямого действия солнечных лучей.
18. Поставьте под мосты металлические или деревянные подставки так, чтобы колеса были приподняты над полом или землей.
Рессоры и передние пружины разгрузите, для чего поставьте между рамой и мостами деревянные распорки.
Законсервированный автомобиль рекомендуется хранить в чистом вентилируемом помещении с относительной влажностью в пределах 40-70% и температурой воздуха не менее +5 °С.
Совместное хранение автомобиля и ядовитых химических веществ: кислот, щелочей и т.п. - запрещается.
Техническое обслуживание законсервированного автомобиля
Техническое обслуживание автомобиля проводите один раз в два месяца. При этом выполняйте следующее:
1. Проводите тщательный наружный осмотр автомобиля.
2. Выверните свечи зажигания и при включенной первой передаче в коробке передач и понижающей передаче в раздаточной коробке поверните коленчатый вал двигателя стартером (3-5 сек). Предварительно отсоедините от катушек зажигания провода питания. Один раз в год перед проворачиванием коленчатого вала в цилиндры двигателя заливайте по 30-50 г масла, применяемого для двигателя.
3. Очистите от коррозии пораженные участки, смажьте или окрасьте их.
4. Проверните рулевое колесо в обе стороны 2-3 раза.
5. Проверьте стояночный и рабочие тормоза, сцепление, привод дроссельной заслонки, переключатели освещения.
6. Проверьте уровень жидкости в резервуарах главного цилиндра тормоза. При необходимости долейте.
7. Проверьте состояние всех приборов электрооборудования.
8. Проверьте инструмент и принадлежности, при необходимости протрите и вновь смажьте.
9. Проверьте состояние шин и других резиновых деталей.
10. Устраните неисправности, обнаруженные при осмотре.
Расконсервация
1. Удалите с деталей бумагу, пропитанную смазкой, и консервационную смазку, обмойте детали керосином или неэтилированным бензином. Особо тщательно удалите смазку с деталей, которые могут соприкасаться с резиновыми деталями или окрашенными поверхностями. Свечи тщательно промойте в неэтилированном бензине.
2. Заправьте систему охлаждения двигателя.
3. Проведите ежедневное техническое обслуживание автомобиля.
4. Проверьте уровень масла в картере двигателя. Излишек масла слейте.
5. Залейте перед пуском двигателя в каждый цилиндр по 30-50 г моторного масла и поверните коленчатый вал на 1015 оборотов.
ГЛАВА 12. ТРАНСПОРТИРОВАНИЕ
Автомобили могут транспортироваться железнодорожным, водным или воздушным транспортом.
При перевозке автомобилей водным или воздушным транспортом их крепление производите по судовой схеме или схеме перевозки воздушным транспортом. Применяйте приспособления, исключающие повреждение деталей и окраски автомобиля.
Погрузку и выгрузку автомобилей производите краном с помощью специальных захватов.
На всех видах транспорта автомобили должны располагаться таким образом, чтобы расстояние между автомобилями (крайние точки) со стороны радиатора охлаждения двигателя было 50-100 мм, а со всех других сторон не менее 100 мм. В транспортном положении автомобиль должен быть заторможен стояночным тормозом, двигатель заглушен, рычаг коробки передач установлен в положение первой передачи, аккумуляторная батарея отключена.
При подготовке автомобиля к авиатранспортированию топливные баки должны быть заполнены топливом не более чем на 75% их вместимости.
Заезд автомобиля в самолет производите на первой передаче в коробке передач и понижающей передаче в раздаточной коробке или задним ходом.
ГЛАВА 13. УТИЛИЗАЦИЯ
Автомобиль подвергается утилизации в соответствии с нормами, правилами и способами, действующими в месте утилизации.
ЛАМПЫ, ПРИМЕНЯЕМЫЕ НА АВТОМОБИЛЕ
|
Лампы |
Тип лампы |
Мощность, Вт |
|
1 |
2 |
3 |
|
Фар: -дальнего света |
АКГ12-55 (H1) |
55 |
|
-ближнего света |
H7 |
55 |
|
-габаритного огня |
12-5-2 (W5W) |
5 |
|
-передних указателей поворота |
PY21W |
21 |
|
Противотуманных фар |
АКГ12-55-1 (H3) |
55 |
|
Задних фонарей: -указателя поворота |
PY21W |
21 |
|
-сигнала торможения |
А12-21-3 |
21 |
|
-света заднего хода |
А12-21-3 |
21 |
|
-противотуманного и габаритного огней |
P21/4W |
21+4 |
|
Боковых повторителей указателей поворота |
WY5W |
5 |
|
Фонарей освещения номерного знака |
АС12-5-1 |
5 |
|
Плафонов внутреннего освещения салона |
АС12-5-1 |
5 |
|
Плафонов индивидуального освещения |
А-12-4-1 |
4 |
|
Плафонов подсветки монтажного блока и вещевых ящиков |
АС12-5-1 |
5 |
|
Подсветки прикуривателя |
А12-3-1 |
3 |
|
Подсветки комбинации приборов, контрольные лампы включения указателей поворота |
А12-1,2 |
1,2 |
|
Фонаря дополнительного сигнала торможения |
А12-5-2 |
5 |
МОМЕНТЫ ЗАТЯЖКИ ОСНОВНЫХ РЕЗЬБОВЫХ
СОЕДИНЕНИЙ, кгс^м
Двигатель и его системы:
|
Болты крепления головки блока цилиндров: | |
|
предварительно |
4,0-6,0 |
|
окончательно |
13,0-14,5 |
|
Болты крепления крышки клапанов |
0,7-0,9 |
|
Винты крышки цепи |
2,2-2,7 |
|
Болты передней крышки головки цилиндров |
2,2-2,7 |
|
Гайки болтов шатуна |
6,8-7,5 |
|
Болты крепления маховика |
7,2-8,0 |
|
Храповик коленчатого вала |
10,4-12,8 |
|
Крепление муфты привода вентилятора к валу Болт крепления передних опор двигателя к |
4,1-5,1 |
|
кронштейнам |
9,0-11,0 |
|
Болты крепления кронштейнов передних опор двигателя к блоку цилиндров |
3,2-3,6 |
|
Болт крепления задней опоры двигателя к кронштейну |
7,0-9,0 |
|
Гайки крепления впускной трубы |
2,9-3,6 |
|
Гайки крепления выпускного коллектора |
2,2-2,7 |
|
Болты крепления масляного картера |
1,2-1,8 |
|
Свечи зажигания |
3,1-3,8 |
|
Штуцера стальных топливных трубопроводов |
2,5-3,0 |
|
Хомуты резиновых шлангов системы питания |
0,3-0,4 |
|
Хомуты шлангов системы охлаждения |
0,4-0,45 |
|
Болты крепления радиатора системы охлаждения Подушки верхние крепления радиатора системы |
3,6-3,2 |
|
охлаждения |
2,0-2,5 |
|
Болты крепления кожуха электровентилятора |
1,5-1,7 |
|
Гайки и болты крепления масляного радиатора |
1,8-1,6 |
|
Болты крепления стартера |
6,7-7,5 |
|
Болты крепления шкива насоса системы охлаждения |
2,2-2,7 |
|
Болты крепления насоса системы охлаждения |
2,2-2,7 |
|
Гайки крепления ресивера Гайки крепления верхнего и нижнего кронштейнов |
1,9-2,3 |
|
генератора |
1,2-1,8 |
|
Болт хомута регулятора холостого хода Болт креплелния датчиков (детонации, положения |
0,5-0,8 |
|
распределительного вала, положения коленчатого вала |
0,5-0,8 |
|
Датчик температуры охлаждающей жидкости |
1,4 |
|
Датчик температуры воздуха |
1,4 |
|
Датчик кислорода |
3,5 |
|
Датчик положения дроссельной заслонки |
0,3 |
|
Болты крепления катушек зажигания |
1,2 |
|
Болты крепления нажимного диска сцепления Болты и гайки крепления коробки передач и |
2,0-2,5 |
|
раздаточной коробки |
4,0-5,6 |
|
Гайки болтов крепления фланцев карданного вала |
3,2-4,0 |
|
Гайка шкворня Болты крепления крышки картера мостов Болты крепления муфт переднего моста и полуосей заднего моста Болты крепления шаровых опор Болты крепления рулевого механизма Гайки шаровых пальцев рулевой трапеции Контргайки рулевых тяг Гайка крепления сошки рулевого управления Болты крепления цапф передних колес Болты крепления задних тормозных щитов Гаек трубопроводов и шлангов тормозов: |
8-10 1,1-2,5 6,0-7,0 3,6-5,0 5,5-8,0 6,0-8,0 10,5-13,0 20-28 3,6-4,4 4,4-5,6 |
|
при завертывании в аллюминиевые, латунные и чугунные детали при завертывании в стальные детали Перепускные клапаны колесных цилиндров задних тормозных механизмов, блока цилиндров передних тормозных механизмов, регулятора давления и рабочего цилиндра выключения сцепления Болты крепления регулятора давления тормозной системы и гайка стяжного болта клеммы привода регулятора давления Болт и контргайка крепления упругого рычага привода регулятора давления тормозной системы в рычаге привода, гайка оси рычага привода Гайка болта крепления стойки рычага привода регулятора давления тормозной системы к кронштейну моста и гайка болта крепления клеммы к стойке Гайки болтов крепления продольных рычагов и поперечной тяги передней подвески Гайки стремянок рессор Гайки крепления колес Регулировочные гайки и контргайки подшипников ступиц колес Гайки крепления блок-фар Гайки крепления шлангов системы ГУР Delphi Гайка крепления переднего шарнира рессоры Гайки пальцев рессоры Гайка крепления рулевого колеса |
1,5-2,0 2,8-3,6 1,0-1,4 1,4-1,8 2,8-3,6 0,65-0,8 14-16 9-10 10-12 3,0-4,0 0,15-0,25 2,0-3,5 16-18 8,5-9,5 6,5-8 |
Примечание - Для остальных резьбовых соединений величины моментов затяжки:
М6 - (0,45-1,0) кгсм;
М8 - (1,4-1,8) кгсм;
М10 - (3,0-3,5) кгсм;
М12 - (5,0-6,2) кгсм.
СМАЗОЧНЫЕ МАТЕРИАЛЫ И СПЕЦИАЛЬНЫЕ ЖИДКОСТИ
|
SAE 5W-30 - от минус 25 до плюс 20 ‘ |
С; |
|
SAE 5W-40 - от минус 25 до плюс 35 ‘ |
С; |
|
SAE 10W-30 - от минус 20 до плюс 30 |
°С; |
|
SAE 10W-40 - от минус 20 до плюс 35 |
°С; |
|
SAE 15W-30 - от минус 15 до плюс 30 |
°С; |
172
|
Места смазывания, заправки |
Наименование смазки или жидкости | |
|
Основные |
Зарубежные | |
|
Топливный бак автомобилей УАЗ-3163, УАЗ-23602, УАЗ-23632 |
Топливо неэтилированный бензин "Регуляр Евро-92" по ГОСТ Р 51866. Допускается: для двигателей экологического класса 3: "Премиум Евро-95" по ГОСТ Р 51866; для двигателей экологического класса 2: "Регуляр-92" по ГОСТ Р 51105 | |
|
Топливный бак автомобилей УАЗ-31631 |
дизельное топливо ЕВРО III-IV по ГОСТ Р 52368 (ЕН 590:2004) и ТУ 0251-01200044434-2002, сорт или класс в зависимости от климатических условий | |
|
Смазочная система двигателя F1A (Iveco) |
Моторные масла Моторные масла: SAE 10W - от минус 25 до 0 °С; SAE 20W - от минус 10 до плюс 10 °С; SAE 10W40 - от минус 25 до плюс 40 °С; SAE 15W40 - от минус 15 до плюс 50 °С; SAE 5W30 - от минус 40 до плюс 40 °С по классификации ACEA не ниже B2/B3 | |
Смазочная система двигателя ЗМЗ-409
Места смазывания, заправки
173
Картер коробки передач
Картер раздаточной коробки
Картеры главной передачи переднего и заднего мостов, картер рулевого механизма
|
Наименование смазки или жидкости | |
|
Основные |
Зарубежные |
|
SAE 15W-40 - от минус 15 до плюс 45 °C; SAE 20W-40 - от минус 10 до плюс 45 °C; SAE 20W-50 - от минус 10 до плюс 45 °C; SAE 30 - от минус 5 до плюс 40 °C; SAE 40 - от 0 до плюс 45 °C; SAE 50 - от плюс 5 до плюс 45 °C; по эксплуатационным свойствам классификации: Экологический класс 2: CTO ААИ-003-98 - Б4/Д2 или Б4; API - SG/CD или SG Экологический класс 3: CTO ААИ-003-98 - Б5/Д3 или Б5; API - SL или SM | |
|
Трансмиссионные масла SKG-F; Top75W-85, Hanval Incorporated SAE 75W 85 API GL-4 | |
|
Всесезонно -SAE 75W/90 по API GL-3 | |
|
Всесезонно: (при температуре не ниже -25°C) TCп-15К; ТАП-15В; ТАД-17И Только в холодное время года (с 01.10 по 01.04) -TCп-10 |
Всесезонно -SAE 75W/90 по API GL-5 |
EZL 998
Бак масляный системы гидроусилителя рулевого управления Delphi:
174
|
Места смазывания, заправки |
Наименование смазки или жидкости | |
|
Основные |
Зарубежные | |
|
Шлицы переднего и заднего карданных валов, шарниры переднего и заднего карданных валов, поворотный кулак, шкворни поворотных кулаков, муфта выключения передних колес, подшипники ступиц передних и задних колес, подшипники вал: рулевой колонки, шарниры рулевых тяг, шлицы карданного вала рулевого управления, механизм регулировки положения рулевого колеса, разжимной и регулировочные механизмы стояночного тормоза, трос привода стояночного тормоза, передний подшипник ведущего вала коробки передач, муфта подшипника выключения сцепления, клеммы аккумуляторной батареи, ручка наружная двери задка, петли капота |
Пластично Всесезонно: "Литол-24"; "Лита"; "Литол-24РК" > |
>i е смазки Всесезонно: Литиевая смазка по NLGJ П3 |
|
Шарниры поворотных кулаков |
ШРУС-4; ШРУС-4М |
Retinax HDX2 |
|
Петли боковых дверей и двери задка, ограничители дверей, механизмы регулировки передних сидений, механизм складывания и фиксации заднего сиденья, замки дверей, направляющий шип двери задка, петля крышки люка наливной горловины топливного бака |
ЦИАТИМ-201 |
Centuri 1180 |
|
Направляющие втулки передних дисковых тормозов |
УНИОЛ 2М-1 | |
|
Резиновые уплотнители |
Графитная пудра |
Barbatia Grease 2 |
175
|
Места смазывания, заправки |
Наименование смазки или жидкости | |
|
Основные |
Зарубежные | |
|
Гидроприводы сцепления и тормозной системы |
Эксплуатационные жидкости | |
|
Жидкость тормозная: "РосДот-4"; "Роса"; "Роса-3"; "Томь"; "Роса ДОТ-4" |
SAE 1703F; DOT-4 | |
|
Система охлаждения двигателя |
Охлаждающая жидкость: ОЖ-40 "Лена"; ОЖ-65 "Лена"; ТОСОЛ А-40М; ТОСОЛ А-65М |
Shell safe |
|
Бачок смывателя ветрового стекла и стекла двери задка |
"Обзор", Автоочиститель стекол-2 | |
СВЕДЕНИЯ о содержании драгоценных металлов в изделиях электрооборудования автомобиля
|
Тип издания |
Наименование изделия |
Драгоценный металл |
Масса, г |
|
431.3722М |
Блок монтажный |
золото серебро |
0,001 0,5429 |
|
125.3709 |
Подрулевой переключатель |
серебро |
0,3034 |
|
454.3747 |
Реле времени стеклоомывателя |
золото серебро |
0,000232 0,039 |
|
6212.3827 |
Датчик указателя уровня топлива |
серебро палладий рутений |
0,013806 0,0048774 0,0008569 |
|
23.3829* |
Датчик указателя давления масла |
сплав AgKdNi 755 |
0,023404 |
|
6002.3829* |
Датчик аварийного давления масла |
серебро |
0,0310 |
|
101.3839 |
Датчик аварийного уровня тормозной жидкости |
золото серебро |
0,01198 0,029064 |
|
ПР502 |
Предохранитель стеклоочистителя |
серебро |
0,06595 |
|
952.3747 |
Реле включения стартера |
серебро |
0,05538 |
*- Кроме автомобиля УАЗ-31631
СОДЕРЖАНИЕ
Глава 2. Требования безопасности и предупреждения22
Глава 3. Органы управления, оборудование салона и кузова автомобиля27
Электронная противоугонная система автомобилей
с блоком управления двигателем МЕ 17.9.7 (Экологический класс 3)39
Электронная противоугонная система автомобилей
с блоком управления двигателем МИКАС-11
Оборудование салона и кузова автомобиля61
Отопление и вентиляция салона61
Внутреннее зеркало заднего вида66
Наружное зеркало заднего вида66
Стеклоочистители, водяные насосы очистки стекол74
Глава 4. Подготовка автомобиля к работе после получения его с завода 76
Глава 5. Обкатка нового автомобиля76
Глава 6. Пуск и остановка двигателя77
Глава 8. Буксирование автомобиля84
Глава 9. Техническое обслуживание автомобиля85
Ежедневное техническое обслуживание85
Обслуживание автомобиля через каждые 500 км пробега86
Перед летним сезоном эксплуатации86
Перед зимним сезоном эксплуатации86
Головка блока цилиндров двигателя87
Газораспределительный механизм 87
Система вентиляции картера двигателя 88
Система охлаждения двигателя 92
Система впрыска бензина с микропроцессорным управлением топливоподачей и зажиганием96
Система управления топливоподачей и зажиганием 104
Работа диагностической лампы (экологический класс 2) .... 106
Работа диагностической лампы (экологический класс 3) .... 106
Очистка кодов неисправностей (экологический класс 2) .... 106
Очистка кодов неисправностей (экологический класс 3) .... 107
Газораспределительный механизм 107
Система вентиляции картера двигателя 110
Система охлаждения двигателя 110
Система питания с непосредственным впрыском топлива 113
Система управления двигателем 120
Монтажный блок и блок реле предохранителей 148
Цепи, защищаемые плавкими предохранителями 150
Система освещения, световой и звуковой сигнализации 153
Контрольно-измерительные приборы и аварийные сигнализаторы 159
Глава 10. Инструмент и принадлежности 162
Техническое обслуживание законсервированного автомобиля ... 167
Глава 12. Транспортирование 168
Приложение 1. Лампы, применяемые на автомобиле 169
Приложение 2. Моменты затяжки основных резьбовых соединений 170
Приложение 3. Смазочные материалы и специальные жидкости.... 172
Для заметок
Для заметок
Автомобили
UAZ PATRIOT, UAZ PICKUP, UAZ CARGO
Руководство по эксплуатации РЭ 05808600.112-2009
Подготовлено к изданию коллективом УГК ОАО "УАЗ"
Ответственный редактор
Главный конструктор завода О.А.КРУПИН
Редактор А.В. ВОЛКОВ
Редактор-составитель Д.А. ШЕМЫРЕВ